32004L0104[1]
A Bizottság 2004/104/EK irányelve (2004. október 14.) a gépjárművekben jelentkező rádiófrekvenciás interferenciára (elektromágneses kompatibilitásra) vonatkozó 72/245/EGK tanácsi irányelv műszaki fejlődéshez igazításáról, és a gépjárművek és pótkocsijaik típusjóváhagyására vonatkozó tagállami jogszabályok közelítéséről szóló 70/156/EGK irányelv módosításáról
A BIZOTTSÁG 2004/104/EK IRÁNYELVE
(2004. október 14.)
a gépjárművekben jelentkező rádiófrekvenciás interferenciára (elektromágneses kompatibilitásra) vonatkozó 72/245/EGK tanácsi irányelv műszaki fejlődéshez igazításáról, és a gépjárművek és pótkocsijaik típusjóváhagyására vonatkozó tagállami jogszabályok közelítéséről szóló 70/156/EGK irányelv módosításáról
(EGT vonatkozású szöveg)
AZ EURÓPAI KÖZÖSSÉGEK BIZOTTSÁGA,
tekintettel az Európai Közösséget létrehozó szerződésre,
tekintettel a gépjárművek és pótkocsijaik típusjóváhagyására vonatkozó tagállami jogszabályok közelítéséről szóló, 1970. február 6-i 70/156/EGK ( 1 ) tanácsi irányelvre és különösen annak 13. cikke (2) bekezdésére,
tekintettel a gépjárművekben jelentkező rádiófrekvenciás interferenciára (elektromágneses kompatibilitásra) vonatkozó, 1972. június 20-i 72/245/EGK ( 2 ) tanácsi irányelvre és különösen annak 4. cikkére,
mivel:
(1) A 72/245/EGK irányelv egyike azoknak az önmagukban álló irányelveknek, amelyek a 70/156/EGK irányelvvel létrehozott típusjóváhagyási eljárás alá tartoznak.
(2) 1995 óta, amikor a 72/245/EGK irányelvet módosították, a gépjárművekbe beépített elektromos és elektronikus alkatrészek számában jelentős mértékű növekedés ment végbe. Ma már az ilyen alkatrészek nem csak a kényelmi, információs és szórakoztató berendezéseket vezérlik, hanem még a biztonságra vonatkozó bizonyos funkciókat is.
(3) A 72/245/EGK irányelv módosítása óta nyert tapasztalatok figyelembevételével többé nem szükséges, hogy a nem a biztonsági funkciókkal kapcsolatos berendezéseket az értékesítés után kifejezetten az elektromágneses kompatibilitásra (EMK) vonatkozó irányelv szabályozza a gépkocsiágazatban. Elegendő, ha az ilyen berendezések megkapják a megfelelőségi nyilatkozatot a rádiókészülékekről és távközlési végberendezésekről, valamint azok megfelelőségének kölcsönös elismeréséről szóló, 1999. március 9-i 1999/5/EK ( 3 ) európai parlamenti és tanácsi irányelv, valamint az elektromágneses kompatibilitásra vonatkozó tagállami jogszabályok közelítéséről szóló, 1989. május 3-i 89/336/EGK ( 4 ) irányelvben meghatározott eljárásmódokkal összhangban.
(4) Az elektromos és elektronikus berendezésekre vonatkozó EMK-követelményeket és vizsgálati rendelkezéseket a Rádiófrekvenciás zavarok nemzetközi különbizottsága (CISPR) és a Nemzetközi Szabványügyi Szervezet (ISO) szabványosítási munkáján keresztül állandóan naprakész állapotba hozzák. Ezért ezek ebben az irányelvben megfelelőek a vonatkozó szabványokban ismertetett vizsgálati eljárásokra való hivatkozáshoz.
(5) Ezért a 72/245/EGK irányelvet ennek megfelelően módosítani kell.
(6) A 72/245/EGK irányelv módosításai hatással vannak a 70/156/EGK irányelvre. Ezért, következésképpen, szükség van ennek az irányelvnek a módosítására is.
(7) Az ebben az irányelvben előírt intézkedések összhangban vannak a 70/156/EGK irányelvvel létrehozott, az irányelveknek a műszaki fejlődéshez történő hozzáigazításával foglalkozó bizottság véleményével,
ELFOGADTA EZT AZ IRÁNYELVET:
1. cikk
A 72/245/EGK irányelv mellékletei helyébe ennek az irányelvnek a mellékletei lépnek.
2. cikk
(1) 2006. január 1-jétől kezdődő hatállyal azokhoz a járművekhez, alkatrészekhez vagy önálló műszaki egységekhez, amelyek megfelelnek az ezzel az irányelvvel módosított 72/245/EGK irányelv I-X. mellékletében meghatározott rendelkezéseknek, az elektromágneses kompatibilitás alapján egyik tagállam sem:
a) tagadhatja meg az EK-típusjóváhagyás vagy nemzeti típusjóváhagyás megadását, vagy
b) tilthatja meg azok nyilvántartásba vételét, értékesítését vagy forgalomba állítását.
(2) 2006. július 1-jétől kezdődő hatállyal azokra a járművekre, alkatrészekre vagy önálló műszaki egységekre, amelyek az ezzel az irányelvvel módosított 72/245/EGK irányelv I-X. mellékletében meghatározott követelményeknek nem tesznek eleget, az elektromágneses kompatibilitás alapján egyik tagállam sem:
a) tagadhatja meg az EK-típusjóváhagyást, és
b) tagadhatja meg a nemzeti típusjóváhagyás megadását.
(3) 2009. január 1-jétől kezdődő hatállyal, ha az ezzel az irányelvvel módosított 72/245/EGK irányelv I-X. mellékletében meghatározott rendelkezéseknek nem tesznek eleget, az elektromágneses kompatibilitás alapján a tagállamok:
a) azokat a megfelelőségi bizonyítványokat, amelyek a 70/156/EGK irányelv rendelkezései szerint az új járművekhez adnak, a továbbiakban érvénytelennek tekintik az említett irányelv 7. cikke (1) bekezdésének alkalmazása céljából,
b) megtagadhatják az új járműveknek a nyilvántartásba vételét, értékesítését vagy forgalomba állítását.
(4) 2009. január 1-jétől kezdődően az ezzel az irányelvvel módosított 72/245/EGK irányelv I-X. mellékletében meghatározott, az elektromágneses kompatibilitásra vonatkozó rendelkezéseket kell alkalmazni az alkatrészekre vagy önálló műszaki egységekre a 70/156/EGK irányelv 7. cikke (1) bekezdésének alkalmazása céljából.
3. cikk
A 70/156/EGK irányelv a következőképpen módosul:
1. Az I. melléklet a következőképpen módosul:
a) a 0.5 pont a következő sorral egészül ki:
"Ha van, a meghatalmazott képviselő neve és címe:"
b) a következő ponttal egészül ki:
"12.7. Táblázat a jármű(vek)ben elhelyezett rádiófrekvenciás adókészülékek beszereléséhez és használatához, ha alkalmazható (lásd: I. melléklet, 3.1.8.):
frekvenciasávok [Hz] | max. kimenő teljesítmény [W] | antenna helyzete a járművön, meghatározott feltételek a beszereléshez és/vagy használathoz |
A típusjóváhagyást kérelmezőnek, ahol megfelelő, a következőt szintén szolgáltatnia kell:
1. függelék
Az ebben az irányelvben említett és korábban nem felsorolt összes elektromos és/vagy elektronikus alkatrész listáját (lásd a 2.1.9. és 2.1.10. pontokat).
2. függelék
Az (ebben az irányelvben említett) elektromos és/vagy elektronikus alkatrészek általános elrendezésének, valamint az általános vezetékköteg elrendezésének a vázlatát vagy rajzát.
3. függelék
A típus bemutatásához kiválasztott jármű leírása
Kocsiszekrényforma:
Bal- vagy jobbkormányos:
Tengelytávolság:
4. függelék
A gyártó vagy jóváhagyott/elismert laboratóriumok által szolgáltatott vizsgálati jelentés(eke)t a típus-jóváhagyási bizonyítvány kiállítása céljából."
2. A III. melléklet A. szakaszában a 0.5 pont a következő sorral egészül ki:
"Ha van, a meghatalmazott képviselő neve és címe:"
4. cikk
Átadás
(1) A tagállamok legkésőbb 2005. december 31-ig elfogadják és kihirdetik azokat a törvényi, rendeleti és közigazgatási rendelkezéseket, amelyek szükségesek ahhoz, hogy ennek az irányelvnek megfeleljenek. E rendelkezések szövegét, valamint az azok és ezen irányelv közötti megfelelést bemutató táblázatot haladéktalanul közlik a Bizottsággal.
Ezeket a rendelkezéseket 2006. január 1-jétől kell alkalmazni.
Amikor a tagállamok elfogadják ezeket a rendelkezéseket, azokban hivatkozni kell erre az irányelvre, vagy azokhoz hivatalos kihirdetésük alkalmával ilyen hivatkozást kell fűzni. A hivatkozás módját a tagállamok határozzák meg.
(2) A tagállamok közlik a Bizottsággal nemzeti jogrendjüknek azokat a főbb rendelkezéseit, amelyeket az ezen irányelv által szabályozott területen fogadnak el.
5. cikk
Ez az irányelv az Európai Unió Hivatalos Lapjában való kihirdetését követő huszadik napon lép hatályba.
6. cikk
Ennek az irányelvnek a tagállamok a címzettjei.
MELLÉKLET
I. MELLÉKLET
KÖVETELMÉNYEK, AMELYEKET A JÁRMŰNEK ÉS A JÁRMŰBE BEÉPÍTETT ELEKTROMOS/ELEKTRONIKUS RÉSZEGYSÉGEKNEK KI KELL ELÉGÍTENI
1. HATÁLY
Ez az irányelv az 1. cikkben meghatározott járművek - amelyek járművek vagy pótkocsik, ahogy a járművek gyártója szállítja (a továbbiakban: járművek) -, valamint a járművekbe beépítésre szánt alkatrészek vagy önmagukban álló műszaki egységek elektromágneses kompatibilitására vonatkozik.
Az alábbiakat szabályozza:
- A jármű közvetlen irányítását érintő, a működést befolyásoló, a vezető, az utas és más úthasználók védelmét érintő sugárzott és vezetett zavaroktól való mentesítésre vonatkozó követelményeket, valamint olyan zavaroktól való mentesítésre vonatkozó követelményeket, amelyek a vezető vagy más úthasználók megzavarását okozhatják;
- A nem kívánatos sugárzott vagy vezetett kibocsátások elnyomására vonatkozó követelményeket a saját vagy a közeli járművekben lévő elektromos vagy elektronikus berendezések tervezett használatának védelméhez, valamint az azokból a kiegészítő berendezésekből származó zavarok elnyomásához, amelyeket lehet, hogy utólag építettek be a járműbe.
2. FOGALOMMEGHATÁROZÁSOK
2. 1 Ezen irányelv alkalmazásában:
2.1. 1 Az "elektromágneses kompatibilitás" a járműnek vagy alkatrész(ek)nek vagy önmagában álló műszaki egység(ek)nek azt a képességét jelenti, hogy kielégítően működik az elektromágneses környezetében anélkül, hogy megengedhetetlen elektromágneses zavarokat vinne be bármibe az említett környezetben.
2.1. 2 Az "elektromágneses zavar" valamennyi olyan elektromágneses jelenséget jelenti, amely leronthatja a jármű közelében működtetett jármű vagy alkatrész(ek) vagy önmagában álló műszaki egység(ek) vagy bármely más eszköz vagy berendezési egység vagy rendszer teljesítményét. Az elektromágneses zavar lehet elektromágneses zaj, nemkívánatos jel vagy magának a terjedési közegnek a változása.
2.1. 3 Az "elektromágneses védettség" a járműnek vagy alkatrész(ek)nek vagy önmagában álló műszaki egység(ek)nek azt a képességét jelenti, hogy a teljesítménye leromlása nélkül működik (meghatározott) elektromágneses zavarok jelenlétében, amelyek magukba foglalják a rádióadókból származó venni kívánt rádiófrekvenciás jeleket, vagy a jármű belsejében vagy kívül, a közelében működő ipari, tudományos, orvosi (ITO) készülékekből a sávon belül kiadott sugárzást is.
2.1. 4 Az "elektromágneses környezet" egy adott helyen létező elektromágneses jelenségek összességét jelenti.
2.1. 5 A "széles sávú sugárzás" olyan sugárzást jelent, amely nagyobb sávszélességgel rendelkezik, mint amekkora egy adott mérőberendezésé vagy vevőkészüléké (Rádiófrekvenciás zavarok nemzetközi különbizottsága (CISPR) 25, 2. kiadás).
2.1. 6 A "keskeny sávú sugárzás" olyan sugárzást jelent, amely kisebb sávszélességgel rendelkezik, mint amekkora egy adott mérőberendezésé vagy vevőkészüléké (CISPR 25, 2. kiadás).
2.1. 7 Az "elektromos/elektronikus rendszer" olyan elektromos és/vagy elektronikus eszköz(ök)et vagy eszközcsoport(ok)at jelent bármilyen kísérő elektromos összeköttetéssel együtt, amely(ek) a jármű részét képezi(k), de azokat nem arra szánták, hogy a járműtől különválasztva típusjóváhagyást kapjon (kapjanak).
2.1. 8 Az "elektromos/elektronikus részegység" (ERE) olyan elektromos és/vagy elektronikus eszköz(ök)et vagy eszközcsoport(ok)at jelent, amely(ek)et arra szántak, hogy a jármű része(i) legyen(ek), és amely(ek) bármilyen kísérő elektromos összeköttetéssel és vezetékezéssel együtt egy vagy több pontosan meghatározott feladatot látnak el. Egy elektromos/elektronikus részegység (ERE) a gyártó vagy meghatalmazott képviselője kérésére akár "alkatrészként", akár "önmagában álló műszaki egységként" (ÖME) típusjóváhagyást kaphat (lásd a 70/156/EGK irányelv 2. cikkét).
2.1. 9 A "járműtípus" az elektromágneses kompatibilitással összefüggésben olyan járműveket jelent, amelyek nem különböznek alapvetően olyan tekintetben, mint:
2.1.9. 1 a motortér külső főméretei és alakja;
2.1.9. 2 az elektromos és/vagy elektronikus alkatrészek általános elrendezése és az általános vezetékezési elrendezés;
2.1.9. 3 amelynek elsődleges anyaga a jármű kocsiszekrény- vagy burkolat- (ha alkalmazható) anyagából épül fel (például acél, alumínium vagy üvegszál kocsiszekrény burkolat). A különböző anyagú lemezek jelenléte nem változtatja meg a jármű típusát, feltéve, hogy a kocsiszekrény elsődleges anyaga változatlan. Mindazonáltal, az ilyen változatokat be kell jelenteni.
2.1. 10 Az "elektromos/elektronikus részegység (ERE) típus" az elektromágneses kompatibilitással összefüggésben olyan elektromos/elektronikus részegységet jelent, amely nem különbözik az olyan alapvető szempontokban, mint:
2.1.10. 1 az elektromos/elektronikus részegység által betöltött funkció;
2.1.10. 2 az elektromos és/vagy elektronikus alkatrészek általános elrendezése, ha alkalmazható.
2.1. 11 A "jármű-vezetékköteg" a tápfeszültség-, buszrendszer (pl. CAN - vezérlőelektronika területi hálózat), jel- vagy aktív antennakábeleket jelenti, amelyeket a jármű gyártója szerelt be.
2.1. 12 A védettséggel összefüggő funkciók a következők:
a) A jármű közvetlen irányítására vonatkozó funkciók:
- leromlás vagy változás szerint: pl. motor, sebességváltó, fék, felfüggesztés, szervokormány, sebességkorlátozó eszközök,
- a vezető helyzetére gyakorolt hatás szerint: pl. ülés- vagy kormánykerék- helyzetbeállítás,
- a vezető látási viszonyaira gyakorolt hatás szerint: pl. tompított fény, szélvédőtörlő.
b) A vezető, az utas vagy más úthasználók védelmére vonatkozó funkciók:
- pl. légzsák- és biztonsági visszatartó rendszerek.
c) Funkciók, amikor a zavarok a vezető vagy más úthasználók zavarodottságát okozzák:
- optikai zavarok: pl. a következők helytelen működése: irányjelzők, féklámpák, hátsó körvonaljelző lámpák, hátsó helyzetjelző lámpa, fénysávok a vészhelyzeti rendszerhez, rossz információ a jelzőlámparendszertől, a funkciókra vonatkozó lámpák vagy kijelzők az a) vagy b) pontban, amelyek a vezető közvetlen látóterében figyelhetők meg,
- akusztikus zavarok: pl. lopásgátló riasztórendszer, kürt helytelen működése.
d) A jármű adatbuszának működőképességére vonatkozó funkciók:
- az adatátvitel blokkolása a jármű adatbuszrendszerében, amely az adatok továbbítására szolgál, biztosítani kell a többi, védettségre vonatkozó funkciók működését.
e) Olyan funkciók, amelyek zavarása befolyásolja a jármű állapotára vonatkozó adatokat: pl. regisztráló tachométer, kilométer-számláló.
3. EK-TÍPUS-JÓVÁHAGYÁSI KÉRELEM
3. 1 A jármű típusjóváhagyása
3.1. 1 A jármű-típusjóváhagyási kérelmet, tekintettel annak elektromágneses kompatibilitására, a 70/156/EGK irányelv 3. cikke (4) bekezdésének értelmében a jármű gyártója nyújtja be.
3.1. 2 Az adatlap mintája a II.A. mellékletben található.
3.1. 3 A jármű gyártója összeállít egy kísérőjegyzéket, amely megnevezi a jármű összes lényeges elektromos/elektronikus rendszerét vagy elektromos/elektronikus részegységét (ERE), a kocsiszekrény modellt ( 5 ), a változatokat a kocsiszekrény anyagában (5) , az általános vezetékezési elrendezést, a motorváltozatokat, a balkormányos vagy jobbkormányos változatokat és a tengelytávolság-változatokat. A lényeges jármű elektromos/elektronikus rendszerek vagy elektromos/elektronikus részegységek azok, amelyek jelentős széles sávú vagy keskeny sávú sugárzást bocsáthatnak ki és/vagy azok, amelyek szerepet játszanak a jármű védettséggel összefüggésben álló funkcióival (lásd ezen irányelv 2.1.12 pontját).
3.1. 4 Ebből a kísérőjegyzékből kiválasztanak egy tipikus járművet a vizsgálat céljára a gyártó és az illetékes hatóság közötti kölcsönös megállapodás alapján. Ez a jármű képviseli a járműtípust (lásd a II.A. melléklet 1. függelékét). A jármű kiválasztása a gyártó által kínált elektromos/elektronikus rendszerek alapján történik. Az említett kísérőjegyzékből egy vagy több jármű választható ki a vizsgálat elvégzésére, ha a gyártó és az illetékes hatóság közötti kölcsönös megállapodással úgy vélik, hogy különböző elektromos/elektronikus rendszereket foglalnak magukba, amelyek valószínűleg jelentős hatást gyakorolnak a jármű elektromágneses kompatibilitására az első tipikus járművel összehasonlítva.
3.1. 5 A jármű(vek) 3.1.4 pont szerinti kiválasztása a ténylegesen gyártásra szánt jármű - elektromos/elektronikus rendszer kombinációkra korlátozódik.
3.1. 6 A gyártó kiegészítheti a kérelmet egy jelentéssel azokról a vizsgálatokról, amelyeket már elvégeztek. A jóváhagyó hatóság felhasználhat bármely ilyen szolgáltatott adatot a típus-jóváhagyási bizonyítvány kiállítás céljából.
3.1. 7 Ha a típusjóváhagyási vizsgálatért felelős műszaki szolgálat végzi el magát a vizsgálatot, akkor a jóváhagyandó típust képviselő járművet a 3.1.4 pont szerint át kell adni.
3.1. 8 A jármű gyártójának nyilatkozatot kell átadnia a frekvenciasávokról, teljesítményszintekről, antennapozíciókról és beszerelési utasításokról az RF-adókészülékek üzembe állításához még akkor is, ha a jármű a típusjóváhagyás idején nincs felszerelve RF-adókészülékkel. Ennek az összes olyan mobil rádiószolgáltatást fel kell ölelnie, amelyeket rendes körülmények között járművekben használnak. Ezt az információt a típusjóváhagyást követően nyilvánosan hozzáférhetővé kell tenni.
A járműgyártóknak bizonyítékot kell szolgáltatni arról, hogy az ilyen adókészülékek nem gyakorolnak kedvezőtlen hatást a jármű teljesítményére.
3. 2 Az elektromos/elektronikus részegységek (ERE) jóváhagyása
3.2. 1 Ezen irányelv alkalmazhatósága az elektromos/elektronikus részegységekre:

3.2. 2 Az elektromos/elektronikus részegységnek az elektromágneses kompatibilitását figyelembe vevő típusjóváhagyása iránti kérelmet a 70/156/EGK irányelv 3. cikke (4) bekezdésének megfelelően a jármű gyártója vagy az elektromos/elektronikus részegység gyártója vagy meghatalmazott képviselője nyújtja be.
3.2. 3 Az adatlap mintája a II.A. mellékletben található.
3.2. 4 A gyártó kiegészítheti a kérelmet egy jelentéssel azokról a vizsgálatokról, amelyeket már elvégeztek. A jóváhagyó hatóság felhasználhat bármely ilyen szolgáltatott adatot a típus-jóváhagyási bizonyítvány kiállítása céljából. A járműbe való beépítésre szánt berendezések esetében a gyártó kiegészítheti a kérelmet a 99/5/EK irányelv vagy a 89/336/EGK irányelv rendelkezéseivel összhangban a gyártó megfelelőségi nyilatkozatával, az EMK vizsgálati jelentéssel és a felhasználónak szánt utasítással, amely útmutatást ad az ilyen berendezésnek a járművekbe történő beépítéséhez.
3.2. 5 Ha a típus-jóváhagyási vizsgálatért felelős műszaki szolgálat végzi el magát a vizsgálatot, akkor a jóváhagyandó típust képviselő elektromos/elektronikus részegység rendszer mintapéldányát ha szükséges, át kell adni, például az elrendezésben mutatkozó lehetséges változatokról, az alkatrészek számáról, az érzékelők számáról a gyártóval folytatott megbeszélés után. Ha a műszaki szolgálat szükségesnek tartja, egy további mintát választhat ki.
3.2. 6 A mintán (mintákon) egyértelmű és letörölhetetlen módon fel kell tüntetni a gyártó márkanevét vagy védjegyét és a típus megnevezését.
3.2. 7 Ahol alkalmazható, a használatra vonatkozó bármilyen korlátozást fel kell tüntetni. Valamennyi ilyen korlátozást a II.B. mellékletbe és/vagy a III.B. mellékletbe bele kell foglalni.
3.2. 8 Azokhoz az elektromos/elektronikus részegységekhez, amelyeket tartalék alkatrészekként hoznak forgalomba, nincs szükség típusjóváhagyásra, ha egy azonosító számmal szembetűnő módon tartalék alkatrészként vannak megjelölve, és ha azonos és a megfelelő eredeti gyártóval (OEM - original equipment manufacturer) megegyező gyártótól származó részei egy már típusjóváhagyást kapott járműnek.
3.2. 9 Azokhoz az alkatrészekhez, amelyeket értékesítés utáni berendezésként hoznak forgalomba és gépjárművekbe való beépítésre szánnak, nincs szükség típusjóváhagyásra, ha nem függenek össze védettséggel kapcsolatos funkciókkal (I. melléklet, 2.1.12. pont). Ebben az esetben a 89/336/EGK vagy az 1999/5/EK irányelvek eljárásai szerinti megfelelőségi nyilatkozatot kell kiadni. Az ilyen nyilatkozat részét kell képezze annak, hogy az elektromos/elektronikus részegység kielégíti ezen irányelv I. melléklete 6.5, 6.6, 6.8 és 6.9. pontjaiban előírt határértékeket.
Az ezen irányelv hatálybalépése utáni 4 éves átmeneti időszak alatt annak, aki az ilyen termék forgalomba hozásáért felelős, az összes vonatkozó információt és/vagy mintát be kell nyújtania a műszaki szolgálathoz, amely meghatározza, hogy a berendezés összefüggésben van-e a védettséggel, vagy sem. A felülvizsgálat eredménye 3 héten belül rendelkezésre áll, és nem igényel további vizsgálatot. Ugyanezen időszakon belül a műszaki szolgálat a III.C. mellékletben bemutatott példának megfelelő dokumentumot ad ki. A tagállamok ennek az irányelvnek a hatálybalépési időpontjától számított három évig jelentik a biztonsági alapon hozott valamennyi elutasítási esetet. Az ezzel a követelménnyel szerzett gyakorlati tapasztalatra alapozva, valamint a tagállamok által benyújtott jelentésekre alapozva döntik el a 70/156/EGK irányelv 13. cikkében említett eljárás szerint, és az átmeneti időszak vége előtt, hogy erre a dokumentumra még mindig szükség van-e a megfelelőségi nyilatkozaton felül.
4. TÍPUSJÓVÁHAGYÁS
4. 1 Megközelítések a típusjóváhagyáshoz
4.1. 1 Jármű típusjóváhagyása
A jármű típusjóváhagyásához a következő lehetséges megközelítések használhatók a jármű gyártójának legjobb belátása szerint.
4.1.1. 1 Jármű-üzembeállítás jóváhagyása
A jármű-üzembeállítás megkaphatja a típusjóváhagyást közvetlenül e melléklet 6. bekezdésének vonatkozó részeiben meghatározott rendelkezéseket követve. Ha a jármű gyártója ezt a megközelítést választja, az elektromos/elektronikus rendszerek vagy részegységek külön vizsgálata nem szükséges.
4.1.1. 2 A jármű típusjóváhagyása az egyedi elektromos/elektronikus részegységek vizsgálatával
A jármű gyártója megkaphatja a jóváhagyást, ha bebizonyítja a jóváhagyó hatóságnak, hogy az összes odatartozó (lásd e melléklet 3.1.3. pontját) elektromos/elektronikus rendszer vagy részegység egyénenként megkapta a jóváhagyást ezen irányelvvel összhangban, és valamennyi hozzá tartozó feltétellel összhangban helyezték üzembe.
4.1.1. 3 A gyártó, ha kívánja, megkaphatja az ezen irányelvhez tartozó jóváhagyást, ha a járműnek nincs olyan típusú berendezése, amely a védettségi vagy sugárzáskibocsátási vizsgálat körébe tartozik. Az ilyen jóváhagyások nem igényelnek vizsgálatot.
4.1. 2 Elektromos/elektronikus részegység típusjóváhagyása
A típusjóváhagyás megadható az olyan elektromos/elektronikus részegységre, amelyet vagy bármilyen járműtípusba kívánnak beépíteni (alkatrész-jóváhagyás), vagy az elektromos/elektronikus részegység gyártója által kért meghatározott járműtípusba vagy típusokba (önmagában álló műszaki egység jóváhagyása).
4.1. 3 Azokat az elektromos/elektronikus részegységeket, amelyeket RF-adókészüléknek szántak, és amelyek még nem kaptak típusjóváhagyást egy járműgyártóval együtt, megfelelő üzembe állítási útmutatóval kell ellátni.
4. 2 A típusjóváhagyás megadása
4.2. 1 Jármű
4.2.1. 1 Ha a jármű-mintapéldány kielégíti ezen irányelv követelményeit, a 70/156/EGK irányelv 4. cikkének (3) bekezdése alapján, és ha alkalmazható, a 4. cikkének (4) bekezdése alapján megkapja az EK-típusjóváhagyást.
4.2.1. 2 Az EK-típus-jóváhagyási bizonyítvány mintája a III.A. mellékletben található.
4.2. 2 Elektromos/elektronikus részegység
4.2.2. 1 Ha az elektromos/elektronikus részegység mintapéldánya kielégíti ezen irányelv követelményeit, a 70/156/EGK irányelv 4. cikkének (3) bekezdése alapján, és ha alkalmazható, a 4. cikkének (4) bekezdése alapján megkapja az EK-típusjóváhagyást.
4.2.2. 2 Az EK-típus-jóváhagyási bizonyítvány mintája a III.B. mellékletben található.
4.2. 3 A 4.2.1.2 vagy 4.2.2.2 pontban említett bizonyítvány kiállításához a jóváhagyást megadó tagállam illetékes hatósága felhasználhatja az ISO 17025 szerint akkreditált és a jóváhagyó hatóság által elismert vizsgálólaboratórium által készített jelentést.
4. 3 Módosítások a jóváhagyásokhoz
4.3. 1 Az ezen irányelv szerint megadott jóváhagyásokhoz eszközölt módosítások esetében a 70/156/EGK irányelv 5. cikkének a rendelkezéseit kell alkalmazni.
4.3. 2 Jármű-típusjóváhagyás módosítása elektromos/elektronikus részegység hozzáadásával vagy cseréjével.
4.3.2. 1 Ha a jármű gyártója megkapta a jóváhagyást a jármű üzembeállításához, és egy kiegészítő vagy csere elektromos/elektronikus rendszert vagy részegységet kíván beépíteni, amely már ezen irányelv alapján jóváhagyást kapott, és amelyet a hozzá tartozó valamennyi feltétellel összhangban helyeznek üzembe, a jármű jóváhagyása további vizsgálat nélkül módosítható. A gyártás megfelelőségéhez a kiegészítő vagy csere elektromos/elektronikus rendszert vagy részegységet a jármű részének kell tekinteni.
4.3.2. 2 Ha a kiegészítő vagy csere rész(ek) még nem kapott (kaptak) jóváhagyást ezen irányelv alapján, és ha vizsgálatot tartanak szükségesnek, a teljes járművet úgy ítélik meg, hogy eleget tesz, ha az új vagy megváltoztatott rész(ek)ről kimutatható, hogy eleget tesz(nek) a 6. bekezdés vonatkozó követelményeinek, vagy ha egy összehasonlító vizsgálatban az új részről kimutatható, hogy valószínűleg nem befolyásolja kedvezőtlenül a jármű típusmegfelelőségét.
4.3. 3 Olyan használt elektromos/elektronikus részegységek hozzáadása, amelyek nem rendelkeznek EK-típusjóváhagyással ezen irányelv szerint, mert az első üzembeállításuk idején nem volt szükség típusjóváhagyásra, nem érvénytelenítik a típusjóváhagyást, ha az ilyen használt elektromos/elektronikus részegységek üzembeállítását a gyártójuk - és a jármű gyártója - előírásai szerint végzik.
5. JELÖLÉS
5. 1 Minden elektromos/elektronikus részegységen, amely megegyezik egy, az ezen irányelv alapján jóváhagyott típussal, EK-típus-jóváhagyási jelölést kell elhelyezni.
5. 2 Az EK-típus-jóváhagyási jelölés a következőkből áll:
az "e" nyomtatott kisbetűt körbevevő négyszög, amelyet annak a tagállamnak a megkülönböztető száma követ, amelyik megadta az EK-alkatrész-típusjóváhagyást:
1 Németország részére
2 Franciaország részére
3 Olaszország részére
4 Hollandia részére
5 Svédország részére
6 Belgium részére
7 Magyarország részére
8 a Cseh Köztársaság részére
9 Spanyolország részére
11 az Egyesült Királyság részére
12 Ausztria részére
13 Luxembourg részére
17 Finnország részére
18 Dánia részére
20 Lengyelország részére
21 Portugália részére
23 Görögország részére
24 Írország részére
26 Szlovénia részére
27 Szlovákia részére
29 Észtország részére
32 Lettország részére
36 Litvánia részére
49 Ciprus részére
50 Málta részére
A négyszög közelében a 70/156/EGK irányelv VII. mellékletében említett típus-jóváhagyási szám 4. szakaszában foglalt "alap jóváhagyási szám" van, amelyet az ennek az irányelvnek a legutolsó nagyobb technikai módosításához rendelt sorozatszámot jelölő két számjegy előz meg. A módosítás sorozatszámát és a bizonyítványon feltüntetett alkatrész-típusjóváhagyási számot egy szóköz választja el. Ebben az irányelvben a sorozatszám 03.
5. 3 Az EK-típusjóváhagyási számot az elektromos/elektronikus részegység fő részére (pl. az elektronikus vezérlő egységre) kell ráerősíteni olyan módon, hogy tisztán olvasható és letörölhetetlen legyen.
5. 4 Az EK-típusjóváhagyási számra egy példát a 8. függelék mutat be.
5. 5 Nincs szükség jelölésre az olyan elektromos/elektronikus rendszerekhez, amelyek az ezen irányelv szerint jóváhagyott járműtípusba vannak beépítve, valamint a 3.2.8. bekezdésben körülírt tartalékalkatrészekhez.
5. 6 Az elektromos/elektronikus részegységeken az 5.3. bekezdésnek megfelelően elhelyezett jelöléseknek nem szükséges láthatónak lenniük, ha az elektromos/elektronikus részegység járműbe van beszerelve.
6. ELŐÍRÁSOK
6. 1 Általános előírás
6.1. 1 A járművet és annak elektromos/elektronikus rendszerét (rendszereit) vagy részegységét (részegységeit) úgy kell megtervezni, kialakítani és beszerelni, hogy a jármű - rendes használati körülmények között - eleget tegyen ezen irányelv követelményeinek.
6.1.1. 1 A járművet a kibocsátott sugárzás és a sugárzott zavarokkal szembeni védettség szempontjából vizsgálatnak kell alávetni. A jármű-típusjóváhagyáshoz nincs szükség a vezetett sugárzás vagy vezetett zavarokkal szembeni védettség szempontjából végzett vizsgálatokra.
6.1.1. 2 Az elektromos/elektronikus részegység(ek)et a kibocsátott és vezetett sugárzás, valamint a sugárzott és vezetett zavarokkal szembeni védettség szempontjából vizsgálatnak kell alávetni.
6.1. 2 A vizsgálat előtt a műszaki szolgálatnak vizsgálati tervet kell készítenie a gyártóval egyetértésben, amely legalább az üzemmódot, az indukált funkció(ka)t, a monitorozott funkció(ka)t és az előirányzott kisugárzásokat tartalmazza.
6. 2 A járművekből származó széles sávú elektromágneses sugárzásra vonatkozó előírások
6.2. 1 Mérési módszer
A típusát képviselő jármű által létrehozott elektromágneses sugárzást a IV. mellékletben leírt módszer alkalmazásával kell mérni. Ezt a mérési módszert a jármű gyártója a műszaki szolgálattal összhangban határozza meg.
6.2. 2 A jármű széles sávú típusjóváhagyási határértékei
6.2.2. 1 Ha a méréseket a IV. mellékletben leírt módszer felhasználásával végzik, a jármű és az antenna között 10,0 ± 0,2 m térközt alkalmazva, a határérték 32 dB μV/m a 30-75 MHz frekvenciasávban, és 32-43 dB μV/m a 75-400 MHz frekvenciasávban, ezek a határértékek logaritmikusan növekednek a 75 MHz fölötti frekvenciákkal, ahogyan az e melléklet 2. függeléke mutatja. A 400-1 000 MHz frekvenciasávban a határérték 43 dB μV/m értéken állandó marad.
6.2.2. 2 Ha a méréseket a IV. mellékletben leírt módszer felhasználásával végzik, a jármű és az antenna között 3,0 ± 0,05 m térközt alkalmazva, a határérték 42 dB μV/m a 30-75 MHz frekvenciasávban, és 42-53 dB μV/m a 75-400 MHz frekvenciasávban, ezek a határértékek logaritmikusan növekednek a 75 MHz fölötti frekvenciákkal, ahogyan az e melléklet 3. függeléke mutatja. A 400-1 000 MHz frekvenciasávban a határérték 53 dB μV/m értéken állandó marad.
6.2.2. 3 A típusát képviselő jármű esetében a dB μV/m egységben kifejezett mért értékeknek a típus-jóváhagyási határértékek alatt kell lenniük.
6. 3 A járművekből származó keskeny sávú elektromágneses sugárzásra vonatkozó előírások.
6.3. 1 Mérési módszer
A típusát képviselő jármű által létrehozott elektromágneses sugárzást az V. mellékletben leírt módszer alkalmazásával kell mérni. Ezt a jármű gyártója a műszaki szolgálattal összhangban határozza meg.
6.3. 2 A jármű keskeny sávú típus-jóváhagyási határértékei
6.3.2. 1 Ha a méréseket az V. mellékletben leírt módszer felhasználásával végzik, a jármű és az antenna között 10,0 ± 0,2 m térközt alkalmazva, a határérték 22 dB μV/m a 30-75 MHz frekvenciasávban, és 22-33 dB μV/m a 75-400 MHz frekvenciasávban, ezek a határértékek logaritmikusan növekednek a 75 MHz fölötti frekvenciákkal, ahogyan az e melléklet 4. függeléke mutatja. A 400-1 000 MHz frekvenciasávban a határérték 33 dB μV/m értéken állandó marad.
6.3.2. 2 Ha a méréseket az V. mellékletben leírt módszer felhasználásával végzik, a jármű és az antenna között 3,0 ± 0,05 m térközt alkalmazva, a határérték 42 dB μV/m a 30-75 MHz frekvenciasávban, és 32-43 dB μV/m a 75-400 MHz frekvenciasávban, ezek a határértékek logaritmikusan növekednek a 75 MHz fölötti frekvenciákkal, ahogyan az e melléklet 5. függeléke mutatja. A 400-1 000 MHz frekvenciasávban a határérték 43 dB μV/m értéken állandó marad.
6.3.2. 3 A típusát képviselő jármű esetében a dB μV/m egységben kifejezett mért értékeknek a típusjóváhagyási határértékek alatt kell lenniük.
6.3.2. 4 Az e melléklet 6.3.2.1, 6.3.2.2 és 6.3.2.3 pontjában meghatározott határértékek ellenére, ha az V. melléklet 1.3 pontjában leírt kezdeti lépés ideje alatt a jármű rádióadó antennájánál mért jel térerőssége kisebb, mint 20 dB μV/m a 76-108 MHz frekvenciatartományban egy átlagos mérőérzékelővel mérve, akkor a járművet úgy tekintik, mint amely eleget tesz a keskeny sávú kisugárzás határértékeinek, és nincs szükség további vizsgálatra.
6. 4 A jármű elektromágneses sugárzással szembeni védettségének előírásai.
6.4. 1 Mérési módszer
A típusát képviselő jármű elektromágneses sugárzással szembeni védettségét a VI. mellékletben leírt módszer szerint kell vizsgálni.
6.4. 2 A járművédettség típus-jóváhagyási határértékei.
6.4.2. 1 Ha a vizsgálatot a VI. mellékletben leírt módszer felhasználásával végzik, a térerősségnek 30 V/m eff értékűnek kell lennie a 20-2 000 MHz frekvenciasáv 90 %-ában, és legalább 25 V/m eff értékűnek a teljes 20-2 000 MHz frekvenciasávban.
6.4.2. 2 A típusát képviselő járművet úgy tekintik, mint amely eleget tesz a védettség követelményeinek, ha a VI. melléklettel összhangban végrehajtott vizsgálatok ideje alatt nem következett be romlás a "védettséggel összefüggő funkciókban".
6. 5 Az elektromos/elektronikus részegységek által keltett széles sávú elektromágneses zavarokra vonatkozó előírások.
6.5. 1 Mérési módszer
A típusát képviselő elektromos/elektronikus részegység mérését a VII. mellékletben leírt módszer szerint kell végezni.
6.5. 2 Az elektromos/elektronikus részegység széles sávú típusjóváhagyási határértékei
6.5.2. 1 Ha a méréseket a VII. mellékletben leírt módszer felhasználásával végzik, a határérték 62-52 dB μV/m a 30-75 MHz frekvenciasávban, ez a határérték logaritmikusan csökken a 30 MHz fölötti frekvenciákkal, és 52-63 dB μV/m a 75-400 MHz frekvenciasávban, ez a határérték logaritmikusan csökken a 75 MHz fölötti frekvenciákkal, ahogyan az e melléklet 6. függeléke mutatja. A 400-1 000 MHz frekvenciasávban a határérték 63 dB μV/m értéken állandó marad.
6.5.2. 2 A típusát képviselő elektromos/elektronikus részegység esetében a dB V/m egységben kifejezett mért értékeknek a típusjóváhagyási határértékek alatt kell lenniük.
6. 6 Az elektromos/elektronikus részegységek által keltett keskeny sávú elektromágneses zavarokra vonatkozó előírások.
6.6. 1 Mérési módszer
A típusát képviselő elektromos/elektronikus részegység mérését a VIII. mellékletben leírt módszer szerint kell végezni.
6.6. 2 Az elektromos/elektronikus részegység keskeny sávú típusjóváhagyási határértékei.
6.6.2. 1 Ha a méréseket a VIII. mellékletben leírt módszer felhasználásával végzik, a határérték 52-42 dB μV/m a 30-75 MHz frekvenciasávban, ez a határérték logaritmikusan csökken a 30 MHz fölötti frekvenciákkal, és 42-53 dB μV/m a 75-400 MHz frekvenciasávban, ez a határérték logaritmikusan csökken a 75 MHz fölötti frekvenciákkal, ahogyan az e melléklet 7. függeléke mutatja. A 400-1 000 MHz frekvenciasávban a határérték 53 dB μV/m értéken állandó marad.
6.6.2. 2 A típusát képviselő elektromos/elektronikus részegység esetében a dB V/m egységben kifejezett mért értékeknek a típusjóváhagyási határértékek alatt kell lenniük.
6. 7 Az elektromos/elektronikus részegységek elektromágneses sugárzással szembeni védettségének előírásai.
6.7. 1 Vizsgálati módszer(ek)
A típusát képviselő elektromos/elektronikus részegységek elektromágneses sugárzással szembeni védettségét a IX. mellékletben leírtak közül választott módszerrel (módszerekkel) kell vizsgálni.
6.7. 2 Az elektromos/elektronikus részegység védettségénEK-típusjóváhagyási határértékei
6.7.2. 1 Ha a vizsgálatot a IX. mellékletben leírt módszer felhasználásával végzik, a védettségi vizsgálat szintjei 60 V/m a 150 mm-es szalagvezető vizsgálati módszerhez, 15 V/m a 800 mm-es szalagvezető vizsgálati módszerhez, 75 V/m a TEM-cella vizsgálati módszerhez, 60 mA a térfogati áram betáplálás (BCI) vizsgálati módszerhez és 30 V/m a szabad tér vizsgálati módszerhez a 20-2 000 MHz frekvenciasáv 90 %-ában, valamint legalább 50 V/m a 150 mm-es szalagvezető vizsgálati módszerhez, 12,5 V/m a 800 mm-es szalagvezető vizsgálati módszerhez, 62,5 V/m a TEM cella vizsgálati módszerhez, 50 mA a térfogati áram betáplálás (BCI) vizsgálati módszerhez és 25 V/m a szabad tér vizsgálati módszerhez a teljes 20-2 000 MHz frekvenciasávban.
6.7.2. 2 A típusát képviselő elektromos/elektronikus részegységet úgy tekintik, mint amely eleget tesz a védettség követelményeinek, ha a IX. melléklettel összhangban végrehajtott vizsgálatok ideje alatt nem következett be romlás a "védettséggel összefüggő funkciókban".
6. 8 A tápvezetékben vezetett tranziens zavarokkal szembeni védettségre vonatkozó előírások.
6.8. 1 Vizsgálati módszer
A típusát képviselő elektromos/elektronikus részegység védettségét az ISO 7637-2:DIS2002 szerinti módszerrel (módszerekkel) kell vizsgálni a X. mellékletben leírtaknak megfelelően, az 1. táblázatban megadott vizsgálati szintekkel.
1. táblázat: Az elektromos/elektronikus részegység védettsége
Vizsgálatiimpulzus-szám | Védettség vizsgálati szint | Működési állapot a rendszerekhez | |
Funkciókkal kapcsolatos védettségre vonatkozó | Funkciókkal kapcsolatos védettségre nem vonatkozó | ||
1 | III | C | D |
2a | III | B | D |
2b | III | C | D |
3a/3b | III | A | D |
4 | III | B (elektromos/elektronikus részegységekre, amelyeknek a motor indítási szakasza idején működőképesnek kell lenni) C (más elektromos/elektronikus részegységek esetén) | D |
6. 9 A vezetett zavar kisugárzásra vonatkozó előírások
6.9. 1 Mérési módszer
A típusát képviselő elektromos/elektronikus részegység kisugárzását az ISO 7637-2:DIS2002 szerinti módszerrel (módszerekkel) kell vizsgálni a X. mellékletben leírtaknak megfelelően, a 2. táblázatban megadott vizsgálati szintekkel.
2. táblázat: Maximális megengedett impulzusamplitúdó
Az impulzus amplitúdó polaritása | Maximális megengedett impulzusamplitúdó | |
Jármű 12 V-os rendszerekkel | Jármű 24 V-os rendszerekkel | |
Pozitív | + 75 | + 150 |
Negatív | – 100 | – 450 |
7. A GYÁRTÁS MEGFELELŐSÉGE
7. 1 A gyártási megfelelőség biztosításához intézkedéseket kell tenni a 70/156/EGK irányelv 10. cikkében meghatározott rendelkezésekkel összhangban.
7. 2 A gyártási megfelelőséget, figyelemmel a jármű vagy az önmagában álló műszaki egység elektromágneses kompatibilitására, ezen irányelv III A és/vagy III B mellékletében közzétett típus-jóváhagyási bizonyítvány(ok)ban leírt adatok alapján, ahogy megfelelő, ellenőrizni kell.
7. 3 Ha a hatóság nincs megelégedve a gyártó revíziós eljárásával, akkor a 70/156/EGK irányelv X. mellékletének 2.4.2 és 2.4.3 pontjait, valamint az alábbi 7.3.1 és 7.3.2 pontokat kell alkalmazni.
7.3. 1 Ha sorozatból vett jármű, alkatrész vagy önmagában álló műszaki egység megfelelőségének vizsgálata folyamatban van, a gyártást úgy kell tekinteni, mint amely eleget tesz ezen irányelv követelményeinek a széles sávú kibocsátott sugárzások és keskeny sávú kibocsátott sugárzások vonatkozásában, ha a mért szintek 4 dB (60 %) értéknél nagyobb mértékben nem haladják meg a 6.2.2.1, 6.2.2.2, 6.3.2.1, 6.3.2.2, 6.3.2.4, 6.5.2.1 és 6.6.2. pontokban előírt típusjóváhagyási határértékeket (ahogy megfelelő).
7.3. 2 Ha sorozatból vett jármű, alkatrész vagy önmagában álló műszaki egység megfelelőségének vizsgálata folyamatban van, a gyártást úgy kell tekinteni, mint amely eleget tesz ezen irányelv követelményeinek az elektromágneses sugárzással szembeni védelem vonatkozásában, ha a jármű, alkatrész vagy önmagában álló műszaki egység semmilyen romlást sem mutat a "védettséggel összefüggő funkciók" teljesítményében, amikor a jármű, alkatrész vagy önmagában álló műszaki egység a VI. melléklet 2. bekezdésében meghatározott állapotban van, és V/m vagy mA egységben kifejezett térerő vagy áram hatása alá kerül, egészen az e melléklet 6.4.2.1 és 6.7.2. pontjaiban előírt típusjóváhagyási határértékek 80 %-áig, ahogy megfelelő.
7.3. 3 Ha sorozatból vett alkatrész vagy önmagában álló műszaki egység megfelelőségének vizsgálata folyamatban van, a gyártást úgy kell tekinteni, mint amely eleget tesz ezen irányelv követelményeinek a vezetett zavarok és kibocsátott sugárzás vonatkozásában, ha az alkatrész vagy önmagában álló műszaki egység semmilyen romlást sem mutat a "védettséggel összefüggő funkciók" teljesítményében, egészen a 6.8.1. pontban megadott szintekig, és nem haladja meg a 6.9.1 pontban megadott szinteket.
8. KIVÉTELEK
8. 1 Ha a jármű vagy az elektromos/elektronikus rendszer vagy részegység nem foglal magában 9 kHz-nél nagyobb üzemi frekvenciájú elektronikus oszcillátort, azt úgy kell tekinteni, mint amely eleget tesz az I. melléklet 6.3.2. vagy 6.6.2. pontja, valamint az V. és VIII. melléklet követelményeinek.
8. 2 Azokat a járműveket, amelyek nem rendelkeznek "védettséggel összefüggő funkciójú" elektromos/elektronikus rendszerekkel, nem szükséges vizsgálni a sugárzott zavarokkal szembeni védettség szempontjából, és úgy kell tekinteni azokat, mint amelyek eleget tesznek az ezen irányelv I. melléklete 6.4. pontjában és a VI. mellékletében előírt követelményeknek.
8. 3 Azokat az elektromos/elektronikus részegységeket, amelyeknek nincs védettséggel összefüggő funkciójuk, nem szükséges vizsgálni a sugárzott zavarokkal szembeni védettség szempontjából, és úgy kell tekinteni azokat, mint amelyek eleget tesznek az ezen irányelv I. melléklete 6.7. pontjában és a IX. mellékletében előírt követelményeknek.
8. 4 Elektrosztatikus kisülés A gumiabroncsokkal felszerelt járművek esetében a jármű kocsiszekrényét elektromosan szigetelt szerkezetnek kell tekinteni. Jelentős elektrosztatikus erő a jármű külső környezetéhez viszonyítva csak abban a pillanatban keletkezik, amikor az utas beszáll a járműbe vagy kiszáll belőle. Mivel a jármű ezekben a pillanatokban egy helyben áll, elektrosztatikus kisülés szempontjából nincs szükség típus-jóváhagyási vizsgálatra.
8. 5 Vezetett kisugárzás Azokat az elektromos/elektronikus részegységeket, amelyeket nem kell ki- és bekapcsolni, nem tartalmaznak kapcsolókat vagy nem foglalnak magukban induktív terhelést, nem szükséges vezetett kisugárzás szempontjából vizsgálni, és úgy kell tekinteni azokat, mint amelyek eleget tesznek az e melléklet 6.9. pontjában előírt követelményeknek.
8. 6 A vevőkészülékek nem kielégítő működése a védettségi vizsgálat ideje alatt, amikor a vizsgáló jel a vevőkészülék sávszélességén belül van (rádiófrekvenciás szelektív sáv) - ahogyan a különleges rádió-szolgáltatásokhoz/termékekhez a harmonizált EMK-standardban elő van írva, és amelynek az ajánlását az Európai Unió Hivatalos Lapjában közzétették -, nem szükségszerűen vezet meghibásodási ismérvhez.
8. 7 A rádiófrekvenciás adókészülékeket az adás-üzemmódban kell vizsgálni. A kívánt sugárzások (pl. a rádiófrekvenciás adó-rendszerekből), amelyek a szükséges sávszélességből és a sávon kívülről származnak, elhanyagolhatók az ezen irányelv alkalmazásában. A káros sugárzások ezen irányelv tárgykörébe tartoznak ugyan, de azokat nem szükséges vizsgálni, ha az adókészülék rendelkezik a harmonizált szabványt alkalmazó 1999/5/EK irányelv szerinti megfelelőségi nyilatkozattal
8.7. 1 "Szükséges sávszélesség": egy adott sugárzási kategória esetén a frekvenciasávnak az a szélessége, amely éppen elégséges ahhoz, hogy biztosítsa az információ átvitelét az előírt sebességgel és minőségben a meghatározott feltételek között (Rádiórendeletek, 1. cikk, 1152. sz.).
8.7. 2 "Sávon kívüli sugárzás": sugárzás közvetlenül a szükséges sávszélességen kívül fekvő frekvencián vagy frekvenciákon, amely a modulációs eljárásból származik, de nem foglalja magában a káros sugárzásokat (Rádiórendeletek, 1. cikk, 1144. sz.).
8.7. 3 "Káros sugárzás": minden modulációs eljárásban vannak járulékos, nemkívánatos jelek. Ezek a "káros sugárzások" címszó alatt foglalhatók össze. A káros sugárzások olyan frekvencián vagy frekvenciákon jönnek létre, amelyek kívül vannak a szükséges sávszélességen, és olyan jelszinten, amely a megfelelő információátvitel befolyásolása nélkül csökkenthető. A káros sugárzások magukba foglalják a harmonikus sugárzásokat, parazitasugárzásokat, a keresztmoduláció eredményeit és a frekvenciaátalakítás eredményeit, de nem tartalmazzák a sávon kívüli sugárzásokat (Rádiórendeletek, 1. cikk, 1145. sz.).
1. függelék
Az ebben az irányelvben említett szabványok felsorolása
1. CISPR 12 "Járművek, motorcsónakok és szikragyújtásos motorral hajtott eszközök, rádiózavar-jelleggörbék - Határértékek és mérési módszerek", 5. kiadás, 2001
2. CISPR 16-1 "Előírások rádiózavar- és védettségmérő készülékekhez és módszerekhez - 1. rész: Rádiózavar- és védettségmérő készülékek", 2. kiadás, 2002
3. CISPR 25 "Rádiózavar-jelleggörbék mérésének határértékei és mérési módszerei járművek fedélzetén használt vevőkészülékek védelméhez", 2. kiadás, 2002
4. ISO 7637-1 "Közúti járművek - Vezetésből és csatolásból származó elektromos zavarok - 1. rész: Fogalommeghatározások és általános szempontok", 2. kiadás, 2002
5. ISO 7637-2 "Közúti járművek - Vezetésből és csatolásból származó elektromos zavarok - 2. rész: Elektromos tranziens vezetése tápvezetékekben, csak 12 V vagy 24 V névleges tápfeszültségű járműveken", 2. kiadás, 2004
6. ISO-EN 17025 "Általános követelmények vizsgáló és hitelesítő laboratóriumok illetékességéhez", 1. kiadás, 1999
7. ISO 11451 "Közúti járművek - Keskeny sávú sugárzott elektromágneses energia által keltett elektromos zavarok - Járművizsgálati módszerek"
1. rész: | Általános és fogalommeghatározások | (ISO DIS 11451-1:2003) |
2. rész: | Járművön kívüli sugárzóforrás | (FDIS 11451-2:2004) |
4. rész: | Térfogati áram betáplálás (BCI) | (ISO 11451-4: 1. kiadás 1995) |
8. ISO 11452 "Közúti járművek - Keskeny sávú sugárzott elektromágneses energia által keltett elektromos zavarok - Alkatrészvizsgálati módszerek"
1. rész: | Általános és fogalommeghatározások | (ISO DIS 11452-1:2003) |
2. rész: | Elnyelő anyaggal bélelt kamra | (ISO DIS 11452-2:2003) |
3. rész: | Transzverzális elektromágneses módus (TEM) cella | (ISO 11452-3:3. kiadás 2001) |
4. rész: | Térfogatiáram-betáplálás (BCI) | (ISO DIS 11452-4:2003) |
5. rész: | Szalagvezető | ((ISO 11452-5: 2. kiadás 2002) |
9. ITU Rádiórendeletek, 2001. évi kiadás
2. függelék
A járművek széles sávú referencia-határértékei
Antenna-jármű távolság: 10 m
E határértéke (dBμV/m) F frekvencián (MHz) | ||
30–75 MHz | 75–400 MHz | 400–1 000 MHz |
E = 32 | E = 32 + 15,13 log (F/75) | E = 43 |

Frekvencia - megahertz - logaritmikus
Lásd: I. melléklet, 6.2.2.1. szakasz
3. függelék
A járművek széles sávú referencia-határértékei
Antenna-jármű távolság: 3 m
E határértéke (dBμV/m) F frekvencián (MHz) | ||
30–75 MHz | 75–400 MHz | 400–1 000 MHz |
E = 42 | E = 42 + 15,13 log (F/75) | E = 53 |

Frekvencia - megahertz - logaritmikus
Lásd: I. melléklet, 6.2.2.2. szakasz
4. függelék
A járművek keskeny sávú referencia-határértékei
Antenna-jármű távolság: 10 m
E határértéke (dBμV/m) F frekvencián (MHz) | ||
30–75 MHz | 75–400 MHz | 400–1 000 MHz |
E = 22 | E = 22 + 15,13 log (F/75) | E = 33 |

Frekvencia - megahertz - logaritmikus
Lásd: I. melléklet, 6.3.2.1. szakasz
5. függelék
A járművek keskeny sávú referencia-határértékei
Antenna-jármű távolság: 3 m
E határértéke (dBμV/m) F frekvencián (MHz) | ||
30–75 MHz | 75–400 MHz | 400–1 000 MHz |
E = 32 | E = 32 + 15,13 log (F/75) | E = 43 |

Frekvencia - megahertz - logaritmikus
Lásd I. melléklet, 6.3.2.2. szakasz
6. függelék
Elektromos/elektronikus részegység
Széles sávú referencia-határérték
E határértéke (dBμV/m) F frekvencián (MHz) | ||
30–75 MHz | 75–400 MHz | 400–1 000 MHz |
E = 62 – 25,13 log (F/30) | E = 52 + 15,13 log (F/75) | E = 63 |

Frekvencia - megahertz - logaritmikus
Lásd: I. melléklet, 6.5.2.1. szakasz
7. függelék
Elektromos/elektronikus részegység
Keskeny sávú referencia-határérték
E határértéke (dBμV/m) F frekvencián (MHz) | ||
30–75 MHz | 75–400 MHz | 400–1 000 MHz |
E = 52 – 25,13 log (F/30) | E = 42 + 15,13 log (F/75) | E = 53 |

Frekvencia - megahertz - logaritmikus
Lásd: I. melléklet, 6.6.2.1. szakasz
8. függelék
Minta az EK-típusjóváhagyás jelöléséhez

Ha az elektromos/elektronikus részegységen a fenti EK-típusjóváhagyás-jelölés van feltüntetve, akkor az olyan eszköz, amelyet Németországban hagytak jóvá (e1) a 0148 alap jóváhagyási számon. Az első két számjegy (03) azt jelzi, hogy az eszköz eleget tesz az ezen irányelvvel módosított 72/245/EGK irányelv követelményeinek.
A felhasznált számok csak jelzésértékűek.
II.A. MELLÉKLET
... sz. adatlap a 70/156/EGK irányelv ( 6 ) I. melléklete szerint a jármű EK-típusjóváhagyásához, tekintettel az elektromágneses kompatibilitásra, a legutóbb 2004/104/EK irányelvvel módosított (72/245/EGK)
A következő információt, ha alkalmazható, három példányban kell szolgáltatni, és magában kell foglalnia a tartalom felsorolását. Valamennyi rajzot a megfelelő méretarányban és elégséges részletességgel kell benyújtani, A4 méretű lapon vagy A4 formátumú iratgyűjtőben. A fényképeknek, ha vannak, elegendő részletet kell megmutatniuk.
Ha a rendszerek, alkatrészek vagy önmagukban álló műszaki egységek elektronikus vezérléssel rendelkeznek, információt kell szolgáltatni azok teljesítményére vonatkozóan.
0. ÁLTALÁNOS
0.1. Gyártmány (a gyártó márkaneve):
0.2. Típus:
0.4. Járműkategória (c):
0.5. A gyártó neve és címe:
A meghatalmazott képviselő (ha van) neve és címe:
0.8. Az összeszerelő üzem(ek) címe(i):
1. A JÁRMŰ ÁLTALÁNOS FELÉPÍTÉSÉNEK JELLEMZŐI
1.1. A mintapéldányjármű fényképe(i) és rajza(i):
1.6. A motor helyzete és elrendezése:
3. HAJTÓMŰ (q)
3.1. Gyártó:
3.1.1. Gyári motorszám, ahogy a motoron fel van tüntetve:
3.2. Belsőégésű motor
3.2.1.1. Működési elv: pozitív gyújtás/kompressziós gyújtás, négyütemű/kétütemű ( 7 )
3.2.1.2. A hengerek száma és elrendezése:
3.2.4. Üzemanyag-ellátás
3.2.4.2. Üzemanyag-befecskendezéssel (csak kompressziós gyújtás): igen/nem (7)
3.2.4.2.9. Elektronikus vezérlő egység
3.2.4.2.9.1. Gyártmány(ok):
3.2.4.2.9.2. A rendszer leírása:
3.2.4.3. Üzemanyag befecskendezéssel (csak pozitív gyújtás): igen/nem (7)
3.2.5. Elektromos rendszer
3.2.5.1. Névleges feszültség: ...V, pozitív/negatív testelés (7)
3.2.5.2. Generátor
3.2.5.2.1. Típus:
3.2.6. Gyújtás
3.2.6.1. Gyártmány(ok):
3.2.6.2. Típus(ok):
3.2.6.3. Működési elv:
3.2.15. Cseppfolyós gáz üzemanyag ellátó rendszer: igen/nem (7)
3.2.15.2. Elektronikus motorkezelés vezérlő egység cseppfolyós gáz üzemanyag ellátáshoz
3.2.15.2.1. Gyártmány(ok):
3.2.15.2.2. Típus(ok):
3.2.16. Földgáz üzemanyag ellátó rendszer: igen/nem (7)
3.2.16.2. Elektronikus motorkezelés vezérlő egység földgáz üzemanyag ellátáshoz
3.2.16.2.1. Gyártmány(ok):
3.2.16.2.2. Típus(ok):
3.3. Elektromos motor
3.3.1. Típus (tekercselés, gerjesztés):
3.3.1.2. Üzemi feszültség:
3.9. GÁZ ÜZEMANYAG ELLÁTÁSÚ MOTOROK (eltérő módon elrendezett rendszerek esetében egyenértékű információ szolgáltatása)
3.9.7. Elektronikus vezérlőegység (ECU)
3.9.7.1. Gyártmány(ok):
3.9.7.2. Típus(ok):
4. SEBESSÉGVÁLTÓ MŰ (v)
4.2. Típus (mechanikus, hidraulikus, elektromos, stb.):
4.2.1. Az elektromos/elektronikus alkatrészek rövid leírása (ha vannak):
6. FELFÜGGESZTÉS
6.2.2. Az elektromos/elektronikus alkatrészek rövid leírása (ha vannak):
7. KORMÁNYMŰ
7.2.2.1. Az elektromos/elektronikus alkatrészek rövid leírása (ha vannak):
8. FÉKEK
8.5. Blokkolásgátló fékrendszer: igen/nem/opcionális (7)
8.5.1. A blokkolásgátló fékrendszerrel felszerelt járművek esetében a rendszer működésének leírása (beleértve valamennyi elektronikus részt is), elektromos blokkdiagram, hidraulikus vagy pneumatikus áramköri terv:
9. KOCSISZEKRÉNY
9.1. A kocsiszekrény típusa:
9.2. A felépítéshez felhasznált anyagok és módszerek:
9.5. Szélvédő és egyéb ablakok
9.5.2.3. Az ablakemelő mechanika elektromos/elektronikus alkatrészeinek rövid leírása (ha vannak):
9.9. Visszapillantó tükrök (helyzet mindegyik tükörhöz)
9.9.7. A beállító rendszer elektromos/elektronikus alkatrészeinek rövid leírása (ha vannak):
9.12. Biztonsági övek és/vagy más biztonsági visszatartó rendszerek:
9.12.4. Az elektromos/elektronikus alkatrészek rövid leírása (ha vannak):
9.18. Rádiózavar-elnyomás
9.18.1. A motorteret kialakító kocsiszekrényrész és annak az utastérhez közeli része alakjának és alkotóanyagainak leírása és rajzai/fényképei:
9.18.2. A motortérben elhelyezett fémből készült egységek (pl. fűtőkészülékek, pótkerék, levegőszűrő, kormánymechanika, stb.) pozíciójának rajzai vagy fényképei:
9.18.3. A rádiózavar elnyomó berendezés táblázata és rajza:
9.18.4. Az egyenáramú ellenállás névleges értékeinek műszaki jellemzői, és ohmos ellenállású gyújtókábelek esetében azok méterenkénti névleges ellenállása:
10. A VILÁGÍTÁS ÉS FÉNYJELZÉS ESZKÖZEI
10.5. A lámpák kivételével az elektromos/elektronikus alkatrészek rövid leírása (ha vannak):
12. KÜLÖNFÉLE
12.2. A jármű illetéktelen használatát megakadályozó eszközök
12.2.3. Az elektromos/elektronikus alkatrészek rövid leírása (ha vannak):
12.7. Táblázat a jármű(vek)ben elhelyezett rádiófrekvenciás adókészülékek beszereléséhez és használatához, ha alkalmazható (lásd: I. melléklet, 3.1.8.):
frekvenciasávok (Hz) | max. kimenő teljesítmény (W) | antenna helyzet a járművön, meghatározott feltételek a beszereléshez és/vagy használathoz |
A típusjóváhagyást kérelmezőnek, ahol megfelelő, az alábbiakat is szolgáltatnia kell:
1. függelék
Az előzőleg nem felsorolt összes elektromos/elektronikus alkatrész felsorolása (a gyártmány(ok) és típus(ok) feltüntetésével), amelyekre ezen irányelv vonatkozik (lásd az I. melléklet 2.1.9. és 2.1.10 bekezdését).
2. függelék
Az elektromos és/vagy elektronikus alkatrészek általános elrendezésének vázlata vagy rajza (amelyekre ezen irányelv vonatkozik), valamint a vezetékkötegek általános elrendezése.
3. függelék
A típus képviseletére kiválasztott jármű leírása
Kocsiszekrény-kialakítás:
Bal- vagy jobbkormányos:
Tengelytávolság:
4. függelék
Vonatkozó vizsgálati jelentés(ek), amelyeket a gyártó szolgáltatott egy, az ISO 17025 alapján akkreditált és a jóváhagyó hatóság által elismert vizsgálólaboratóriumtól a típus-jóváhagyási bizonyítvány kiállításához.
II.B. MELLÉKLET
... sz. adatlap az elektromos/elektronikus részegység EK-típusjóváhagyásához, tekintettel az elektromágneses kompatibilitásra, a legutóbb 2004/104/EK irányelvvel módosítottak (72/245/EGK) szerint
A következő információt, ha alkalmazható, három példányban kell szolgáltatni, és magában kell foglalnia a tartalma felsorolását. Valamennyi rajzot a megfelelő méretarányban és elégséges részletességgel kell benyújtani, A4 méretű lapon vagy A4 formátumú iratgyűjtőben. A fényképeknek, ha vannak, elegendő részletet kell megmutatniuk.
Ha a rendszerek, alkatrészek vagy önmagukban álló műszaki egységek elektronikus vezérléssel rendelkeznek, információt kell szolgáltatni azok teljesítményére vonatkozóan.
0. ÁLTALÁNOS
0.1. Gyártmány (a gyártó márkaneve):
0.2. Típus:
0.3. A típus-azonosítás eszköze, ha jelölve van az alkatrészen/önmagában álló műszaki egységen ( 8 ):
0.3.1. Az említett jelölés helye:
0.5. A gyártó neve és címe:
A meghatalmazott képviselő (ha van) neve és címe:
0.7. Alkatrész vagy önmagában álló műszaki egység esetében az EK-jóváhagyási jelölés helye és rögzítésének módja:
0.8. Az összeszerelő üzem(ek) címe(i):
1. Ezt az elektromos/elektronikus részegységet alkatrészként/önmagában álló műszaki egységként kell jóváhagyni ( 9 )
2. A használatra vonatkozó megszorítások és a szerelési feltételek:
3. Az elektromos rendszer névleges feszültsége: ... V, poz./neg. (9) testelés
1. függelék
A típus képviseletére kiválasztott elektromos/elektronikus részegység leírása (elektronikus blokk-diagram és az elektromos/elektronikus részegységet alkotó alkatrészek felsorolása (pl.: a mikroprocesszor, a kristály gyártmánya és típusa)).
2. függelék
Vonatkozó vizsgálati jelentés(ek), amelyeket a gyártó szolgáltatott egy, az ISO 17025 alapján akkreditált és a jóváhagyó hatóság által elismert vizsgáló laboratóriumtól a típus-jóváhagyási bizonyítvány kiállításához.
III.A. MELLÉKLET
MINTA
(maximális formátum: A4 (210 × 297 mm))
EK-TÍPUS-JÓVÁHAGYÁSI BIZONYÍTVÁNY
Az ügyintézés pecsétje
Közlemény:
- típusjóváhagyás ( 10 )
- típusjóváhagyás kiterjesztése (10)
- típusjóváhagyás elutasítása (10)
- típusjóváhagyás visszavonása (10)
vonatkozásában egy járműtípusra, tekintettel a legutóbb a .../.../EK irányelvvel módosított .../.../EK irányelvre.
A típusjóváhagyás száma:
A kiterjesztés indoka:
I. SZAKASZ
0.1. Gyártmány (a gyártó márkaneve):
0.2. Típus
0.4. Járműkategória (c):
0.5. A gyártó neve és címe:
A meghatalmazott képviselő (ha van) neve és címe:
0.8. Az összeszerelő üzem(ek) címe(i):
II. SZAKASZ
1. Kiegészítő információ (ahol alkalmazható): lásd a függeléket.
2. A vizsgálatok elvégzéséért felelős műszaki szolgálat:
3. A vizsgálati jelentés időpontja:
4. A vizsgálati jelentés száma:
5. Megjegyzések (ha vannak): lásd a függeléket.
6. Hely:
7. Dátum:
8. Aláírás:
9. A típusjóváhagyást kiadó ügyfélszolgálatnál letétbe helyezett típus-jóváhagyási ügyirat kérésre megkapható.
Függelék a jármű EK-típusjóváhagyásához, tekintettel a legutóbb 2004/104/EK irányelvvel módosított 72/245/EGK irányelvre
1. Kiegészítő információ
1.1. Az elektromos rendszer névleges feszültsége: ... V, pozitív/negatív testelés
1.2. A kocsiszekrény típusa:
1.3. A jármű(vek)be beszerelt összes elektronikus funkció (amelyekre az említett irányelv vonatkozik) felsorolása
1.4. Az ISO 17025 szerint akkreditált és a jóváhagyó hatóság által elismert laboratórium (ezen irányelv alkalmazása szempontjából), amely felelős a vizsgálatok elvégzéséért:
5. Megjegyzések:
(pl.: balkormányos és jobbkormányos járművekre egyaránt érvényes)
III.B. MELLÉKLET
MINTA
(maximális formátum: A4 (210 × 297 mm))
EK-TÍPUS-JÓVÁHAGYÁSI BIZONYÍTVÁNY
Az ügyintézés pecsétje
Közlemény:
- típusjóváhagyás ( 11 )
- típusjóváhagyás kiterjesztése (11)
- típusjóváhagyás elutasítása (11)
- típusjóváhagyás visszavonása (11)
vonatkozásában egy alkatrész/önmagában álló műszakiegység-típusra, tekintettel a legutóbb a .../.../EK irányelvvel módosított .../.../EK irányelvre.
A típusjóváhagyás száma:
A kiterjesztés indoka:
EK-típusjóváhagyási jelölés, amelyet az elektromos/elektronikus részegységre kell rögzíteni:
I. SZAKASZ
0. 1 Gyártmány (a gyártó márkaneve):
0. 2 Típus:
0. 3 A típus azonosításának eszköze, ha jelölve van az alkatrészen/önmagában álló műszaki egységen (11) ( 12 ):
0.3. 1 Az említett jelölés helye:
0. 5 A gyártó neve és címe:
A meghatalmazott képviselő (ha van) neve és címe:
0. 7 Alkatrészek és önmagában álló műszaki egységek esetében az EK-típusjóváhagyási jelölés helye és rögzítésének módja:
0. 8 Az összeszerelő üzem(ek) címe(i):
II. SZAKASZ
1. Kiegészítő információ (ahol alkalmazható): lásd a függeléket.
2. A vizsgálatok elvégzéséért felelős műszaki szolgálat:
3. A vizsgálati jelentés időpontja:
4. A vizsgálati jelentés száma:
5. Megjegyzések (ha vannak): lásd a függeléket.
6. Hely:
7. Dátum
8. Aláírás:
9. A típusjóváhagyást kiadó ügyfélszolgálatnál letétbe helyezett típusjóváhagyási ügyirat kérésre megkapható.
Függelék az elektromos/elektronikus részegység EK-típusjóváhagyásához, tekintettel a legutóbb 2004/104/EK irányelvvel módosított 72/245/EGK irányelvre
1. Kiegészítő információ:
1. 1 Az elektromos rendszer névleges feszültsége:
1. 2 Ez az elektromos/elektronikus részegység bármely járműtípuson használható a következő megszorításokkal:
1.2. 1 Üzembe helyezési feltételek, ha vannak:
1. 3 Ez az elektromos/elektronikus részegység a következő járműtípusokon használható:
1.3. 1 Üzembe helyezési feltételek, ha vannak:
1. 4 A védettség meghatározásához használt különleges vizsgálati módszer(ek) és az átfogott frekvenciatartományok a következők voltak: (kérjük, adja meg a IX. mellékletből az alkalmazott pontos módszert)
1. 5 Az ISO 17025 szerint akkreditált és a jóváhagyó hatóság által elismert laboratórium (ezen irányelv alkalmazása szempontjából), amely felelős a vizsgálatok elvégzéséért.
5. Megjegyzések:
III.C. MELLÉKLET
MINTA
(maximális formátum: A4 (210 × 297 mm))
TANÚSÍTVÁNY, TEKINTETTEL AZ I. MELLÉKLET 3.2.9. PONTJÁRA
Az ügyintézés pecsétje
Kérelmező:
A termék általános leírása:
A kérelmező által benyújtott információ:
Ez az elektromos/elektronikus részegység bármely járműtípuson használható a következő megszorításokkal:
Üzembe helyezési feltételek, ha vannak:
Igazoljuk, hogy a fent leírt termék a legutóbb 2004/104/EK irányelvvel módosított 72/245/EGK irányelv szerint nem védettséggel kapcsolatos. Az ezen irányelvben meghatározott semmilyen védettséggel kapcsolatos vizsgálat nem szükséges.
A kiértékelésért felelős műszaki szolgálat:
Hely:
Dátum:
Aláírás:
IV. MELLÉKLET
MÉRÉSI MÓDSZER A JÁRMŰVEKBŐL LEADOTT SZÉLES SÁVÚ ELEKTROMÁGNESES KISUGÁRZÁSHOZ
1. Általános
1.1. Az ebben a mellékletben leírt mérési módszer csak járművekre alkalmazható.
1.2. Vizsgálati módszer
Ezt a vizsgálatot arra szánták, hogy megmérjék a járműbe beépített elektromos vagy elektronikus rendszerek által létrehozott széles sávú sugárzásokat (pl.: gyújtásrendszer vagy villamos motorok).
Ha ez a melléklet nem írja elő más módon, a vizsgálatot a CISPR 12 (5. kiadás, 2001) szerint kell elvégezni.
2. A jármű állapota a vizsgálat ideje alatt
2.1. Motor
A motornak a CISPR 12 (5. kiadás, 2001) 5.3.2 pontja szerint üzemelnie kell.
2.2. Egyéb járműrendszerek
Az összes, széles sávú sugárzás kibocsátására képes berendezésnek, amelyet a vezető vagy az utas állandó jelleggel bekapcsolhat, maximális terheléssel kell üzemelnie, pl.: ablaktörlőmotorok vagy ventilátorok. A jelzőkürt és az elektromos ablakemelő motorok kivételt képeznek, mert azokat nem használják folyamatosan.
3. Vizsgálati követelmények
3.1. A határértékek a teljes 30-1 000 MHz frekvenciatartományra vonatkoznak a fél-süketszobában vagy szabadtéri vizsgálati helyszínen végzett mérésekhez.
3.2. A méréseket akár kvázi-csúcs mérőérzékelőkkel, akár csúcs mérőérzékelőkkel el lehet végezni. Az I. melléklet 6.2. és 6.5. pontjában a határértékek kvázi-csúcs mérőérzékelőkhöz vannak megadva. Csúcs mérőérzékelők használata esetében a CISPR 12 (5. kiadás, 2001) szabványban meghatározott 20 dB értékű korrekciós tényezőt kell alkalmazni.
3.3. Mérések
A műszaki szolgálat végzi a méréseket a CISPR 12 (5. kiadás, 2001) szabványban meghatározott időközökben a teljes 30-1 000 MHz frekvenciatartományban.
Ha pedig a gyártó szolgáltatja a mérési adatokat a teljes frekvenciasávra egy, az ISO 17025 (1. kiadás, 1999) alkalmazható részei szerint akkreditált és a jóváhagyó hatóság által elismert vizsgálólaboratóriumtól, a műszaki szolgálat a frekvenciatartományt a következő 14 frekvenciasávra oszthatja: 30-34, 34-45, 45-60, 60-80, 80-100, 100-130, 130-170, 170-225, 225-300, 300-400, 400-525, 525-700, 700-850, 850-1 000 MHz, és az egyes sávokon belül azon a 14 frekvencián végzi el a vizsgálatokat, amelyeknél a legnagyobb sugárzás érték adódik, annak igazolására, hogy a jármű kielégíti az e melléklet követelményeit.
Abban az esetben, ha a mért érték meghaladja a határértéket, vizsgálódást kell folytatni annak bizonyítására, hogy ez a jármű, és nem a háttérsugárzás miatt van.
3.4. Műszer leolvasások A határértékre vonatkoztatott maximális műszer leolvasást (vízszintes és függőleges polarizáció és antenna elhelyezés a jármű bal és jobb oldalán) a 14 frekvenciasáv mindegyikében úgy kell tekinteni, mint a jellemző leolvasást azon a frekvencián, amelyen a méréseket végezték.
V. MELLÉKLET
MÉRÉSI MÓDSZER A JÁRMŰVEKBŐL LEADOTT KESKENY SÁVÚ ELEKTROMÁGNESES KISUGÁRZÁSHOZ
1. Általános
1.1. Az ebben a mellékletben leírt mérési módszer csak járművekre alkalmazható.
1.2. Vizsgálati módszer
Ezt a vizsgálatot arra szánták, hogy megmérjék a járműbe beépített elektromos vagy elektronikus rendszerek által létrehozott keskeny sávú sugárzásokat, mint amilyenek a mikroprocesszort tartalmazó rendszerekből vagy más keskeny sávú forrásokból származhatnak.
Ha ez a melléklet nem írja elő más módon, a vizsgálatot a CISPR 12 (5. kiadás, 2001) vagy a CISPR 25 (2. kiadás, 2002) szerint kell elvégezni.
1.3. Első lépésként egy átlagos mérőérzékelővel meg kell mérni a jármű rádióadó-antennáján az FM frekvenciasávon a kisugárzás szintjét (76-108 MHz). Amennyiben az I. melléklet 6.3.2.4. pontjában megállapított szintet nem haladja meg, a járművet úgy tekintik, mint amely a frekvenciasávra tekintettel eleget tesz e melléklet követelményeinek, és nincs szükség a teljes vizsgálatra.
2. A jármű állapota a vizsgálat ideje alatt
2.1. A gyújtáskapcsolót be kell kapcsolni. A motor ne üzemeljen.
2.2. A jármű elektronikus rendszerének a szokásos üzemmódban kell lennie, miközben a jármű álló helyzetben van.
2.3. Az összes, belső oszcillátorral - f > 9 kHz - vagy ismétlődő jelekkel működő berendezésnek, amelyet a vezető vagy az utas állandó jelleggel bekapcsolhat, a szokásos üzemmódban kell lennie.
3. Vizsgálati követelmények
3.1. A határértékek a teljes 30-1 000 MHz frekvenciatartományra vonatkoznak a fél-süketszobában vagy szabadtéri vizsgálati helyszínen végzett mérésekhez.
3.2. A méréseket átlagoló mérőérzékelővel kell végezni.
3.3. Mérések
A műszaki szolgálat végzi a méréseket a CISPR 12 (5. kiadás, 2001) szabványban meghatározott időközökben a teljes 30-1 000 MHz frekvenciatartományban.
Ha pedig a gyártó szolgáltatja a mérési adatokat a teljes frekvenciasávra egy, az ISO 17025 (1. kiadás, 1999) alkalmazható részei szerint akkreditált, és a jóváhagyó hatóság által elismert vizsgáló laboratóriumtól, a műszaki szolgálat a frekvenciatartományt a következő 14 frekvenciasávra oszthatja: 30-34, 34-45, 45-60, 60-80, 80-100, 100-130, 130-170, 170-225, 225-300, 300-400, 400-525, 525-700, 700-850, 850-1 000 MHz, és az egyes sávokon belül azon a 13 frekvencián végzi el a vizsgálatokat, amelyeknél a legnagyobb sugárzás érték adódik, annak igazolására, hogy a jármű kielégíti az e melléklet követelményeit.
Abban az esetben, ha a mért érték meghaladja a határértéket, vizsgálódást kell folytatni annak bizonyítására, hogy ez a jármű, és nem a háttérsugárzás miatt van, beleértve valamely elektromos/elektronikus részegységtől származó széles sávú sugárzást is.
3.4. Műszerleolvasások A határértékre vonatkoztatott maximális műszerleolvasást (vízszintes és függőleges polarizáció és antenna elhelyezés a jármű bal és jobb oldalán) a 14 frekvenciasáv mindegyikében úgy kell tekinteni, mint a jellemző leolvasást azon a frekvencián, amelyen a méréseket végezték.
VI. MELLÉKLET
VIZSGÁLATI MÓDSZER A JÁRMŰVEKNEK AZ ELEKTROMÁGNESES SUGÁRZÁSSAL SZEMBENI VÉDETTSÉGÉHEZ
1. Általános
1. 1 Az ebben a mellékletben leírt mérési módszer csak járművekre alkalmazható.
1. 2 Vizsgálati módszer
Ezt a vizsgálatot arra szánták, hogy bebizonyítsa a jármű elektronikus rendszereinek a védettségét. A járművet elektromágneses mezőnek kell kitenni az e mellékletben leírtak szerint. A járművet a vizsgálatok ideje alatt folyamatosan ellenőrizni kell.
Ha ez a melléklet nem írja elő más módon, a vizsgálatot az ISO DIS 11451-2:2003 szabvány szerint kell elvégezni.
1. 3 Választható vizsgálati módszerek
A vizsgálatot más lehetséges módon is el lehet végezni egy szabadtéri vizsgálati helyszínen, az összes jármű esetében. A vizsgálóberendezésnek eleget kell tennie a (nemzeti) törvényi követelményeknek, figyelemmel az elektromágneses mezők sugárzására.
Ha a jármű hosszabb, mint 12 m és/vagy szélesebb, mint 2,60 m, és/vagy magasabb, mint 4,00 m, az ISO 11451-4 (1. kiadás, 1995) szabvány szerinti BCI-módszer alkalmazható a 20-2 000 MHz frekvenciatartományban, az I. melléklet 6.7.2.1 pontjában meghatározott szintekkel.
2. A jármű állapota a vizsgálat ideje alatt
2. 1 A járműnek terheletlen állapotban kell lennie, a szükséges vizsgálóberendezés kivételével.
2.1. 1 A motornak a szokásos módon kell forgatnia a meghajtó kerekeket, állandó 50 km/h sebességen, ha nincs semmilyen műszaki indoka a jármű miatt annak, hogy ettől eltérő feltételeket határozzanak meg. A járműnek egy megfelelő módon leterhelt rugós erőmérőn kell nyugodnia, vagy esetleg szigetelt keréktengely állványokkal kell alátámasztani a padlózattól minimális térközzel, ha nem áll rendelkezésre rugós erőmérő. Ahol megtehető, az erőátviteli tengelyeket szét lehet kapcsolni (pl. tehergépkocsik esetében).
2.1. 2 Jármű-alapfeltételek
A bekezdés meghatározza a minimum vizsgálati feltételeket és meghibásodási ismérveket a járművédettségi vizsgálatokhoz. Más járműrendszereket, amelyek hatást gyakorolhatnak a védettséggel összefüggő funkciókra, a gyártó és a műszaki szolgálat közötti megállapodás szerinti módon kell vizsgálni.
„50 km/h ciklusú” jármű vizsgálati feltételek | meghibásodási ismérv |
Jármű sebesség 50 km/h ± 20 % (a jármű hajtja a görgőket). Ha a jármű fel van szerelve automatikus sebességtartó rendszerrel, annak működnie kell | A sebességváltozás nagyobb, mint a névleges sebesség ± 10 %-a Automatikus sebességváltó esetén: a névleges sebesség ± 10 %-ánál nagyobb sebességingadozást előidéző sebességváltó áttétel változás |
Tompított fény BE (kézi üzemmód) | Világítás KI |
Elülső ablaktörlő BE (kézi üzemmód) maximális sebesség | Az elülső ablaktörlő teljes leállása |
Irányjelző a vezető oldalon BE | Frekvenciaváltozás (kisebb, mint 0,75 Hz vagy nagyobb, mint 2,25 Hz) Bekapcsolásiviszony-változás (kisebb, mint 25 % vagy nagyobb, mint 75 %) |
Állítható felfüggesztés a szokásos helyzetben | Váratlan jelentős ingadozás |
Vezető ülés és kormánykerék középső helyzetben | A váratlan ingadozás nagyobb, mint a teljes tartomány 10 %-a |
A riasztó nincs aktiválva | A riasztó váratlan aktiválódása |
Kürt KI | A kürt váratlan aktiválódása |
A légzsák és biztonsági visszatartó rendszerek működőképesek letiltott utas oldali légzsákkal, ha van ilyen funkció | Váratlan aktiválódás |
Automatikus ajtók zárva | Váratlan kinyílás |
A beállítható tartós fék karja normál helyzetben | Váratlan aktiválódás |
„Fékciklus” jármű vizsgálati feltételek | meghibásodási ismérv |
A fékciklus vizsgálati tervében kell meghatározni. Ennek tartalmaznia kell a fékpedál működését (hacsak nincs műszaki indok arra, hogy ne), de nem szükségszerűen egy blokkolásgátló fékrendszer műveletet. | A féklámpák hatástalanítódnak a ciklus ideje alatt A fék jelzőlámpa BE nem kielégítő működéssel Váratlan aktiválódás |
2.1. 3 Az összes olyan berendezésnek, amelyet a vezető vagy az utas állandó jelleggel bekapcsolhat, a szokásos üzemmódban kell lennie.
2.1. 4 Az összes többi rendszer, amely befolyásolja a vezetőt a jármű irányításában, be kell kapcsolni, ahogyan a jármű szokásos működése közben.
2. 2 Ha vannak olyan jármű elektromos/elektronikus rendszerek, amelyek a jármű közvetlen irányításának elválaszthatatlan részét képezik, és amelyek nem fognak működni a 4.1 pontban leírt feltételek mellett, megengedhető, hogy a gyártó jelentést vagy kiegészítő bizonyítékot nyújtson be a vizsgáló hatósághoz arról, hogy a jármű elektromos/elektronikus rendszere kielégíti ezen irányelv követelményeit. Az ilyen bizonyítékot a típusjóváhagyási dokumentációban kell megőrizni.
2. 3 Csak a nem zavaró berendezéseket kell használni, amíg a jármű a folyamatos ellenőrzés alatt van. A jármű külsejét és az utasteret folyamatosan ellenőrizni kell (pl. videokamerá(ka)t, mikrofont, stb. alkalmazva) annak meghatározásához, hogy a jármű kielégíti-e ennek a mellékletnek a követelményeit.
3. Vizsgálati követelmények
3. 1 Frekvenciatartomány, tartózkodási idők, polarizáció
A járművet elektromágneses sugárzásnak kell kitenni a 20-2 000 MHz frekvenciatartományban, függőleges polarizáció mellett.
A vizsgálójel-moduláció az alábbi legyen:
- AM, 1 kHz modulációval és 80 % modulációs mélységgel a 20-800 MHz frekvenciatartományban, és
- PM, t 577 μs, periódus 4 600 μs a 800-2 000 MHz frekvenciatartományban,
a műszaki szolgálat és a jármű gyártója közötti más értelmű megállapodás híján.
A frekvencialépcső méretét és a tartózkodási időt az ISO DIS 11451-1:2003 szabvány szerint kell megválasztani.
3.1. 1 A műszaki szolgálat végzi a vizsgálatot az ISO DIS 11451-1:2003 szabványban meghatározott időközökben a teljes 20-2 000 MHz frekvenciatartományban.
Ha pedig a gyártó biztosítja az adatok mérését a teljes frekvenciatartományhoz egy, az ISO 17025 (1. kiadás, 1999) szabvány megfelelő részei szerint akkreditált, és a jóváhagyó hatóság által elismert vizsgáló laboratóriumtól, a műszaki szolgálat egy mérsékelt számú rögzített frekvenciát választhat ki a tartományban, pl.: 27, 45, 65, 90, 120, 150, 190, 230, 280, 380, 450, 600, 750, 900, 1 300, és 1 800 MHz annak igazolásához, hogy a jármű kielégíti az e melléklet követelményeit.
Ha a jármű nem felel meg az e mellékletben meghatározott vizsgálat előírásainak, igazolni kell, hogy a vonatkozó vizsgálati feltételek között nem felelt meg, és nem ellenőrizhetetlen mezők létrejöttének eredményeként.
4. A szükséges térerősség létrehozása
4. 1 Vizsgálati metodika
4.1. 1 Az ISO DIS 11451-1:2003 szabvány szerinti helyettesítés módszerét kell alkalmazni a vizsgálati helyszín körülményeinek a megállapításához.
4.1. 2 Hitelesítés
A jelvivővezeték-rendszerek (TLS) esetében egy darab helyszíni mérőelektródot kell a berendezés referenciapontjánál használni.
Az antennákhoz négy db helyszíni mérőelektródot kell a berendezés referenciavonalánál használni.
4.1. 3 Vizsgálati szakasz
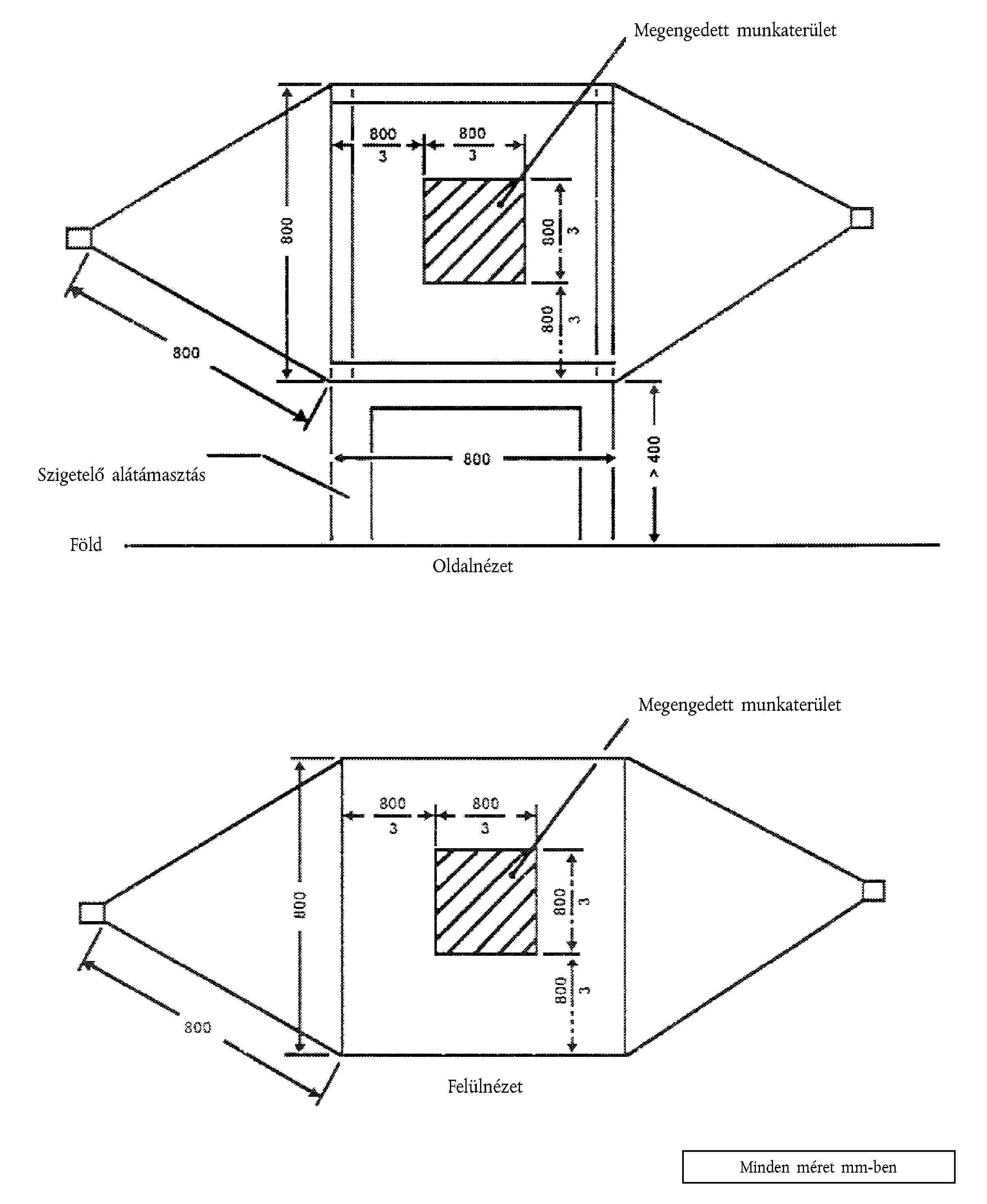
A járművet a középvonalával a berendezés referenciapontján vagy vonalán kell elhelyezni. Rendes körülmények között a járműnek egy rögzített antennával kell szemben állnia. Mindazonáltal, ha az elektronikus vezérlőegységek és a hozzájuk csatlakozó vezetékkötegek túlnyomórészt a jármű hátuljában vannak, a vizsgálatot rendszerint úgy kell végezni, hogy a jármű az antennával ellentétes irányban áll. Hosszú járművek esetében (azaz személygépkocsik és könnyű zárt tehergépjárművek kivételével), amelyeknél az elektronikus vezérlőegységek és a hozzájuk csatlakozó vezetékkötegek túlnyomórészt a jármű közepe felé helyezkednek el, egy referenciapontot a járműnek akár a jobb oldali felülete alapján, akár a bal oldali felülete alapján lehet megállapítani. Ennek a referenciapontnak a jármű hosszának a felezőpontjában kell lennie, vagy egy olyan pontban a jármű oldala mentén, amelyet a gyártó az illetékes hatósággal egyetértésben választ ki, miután figyelembe vették az elektronikus rendszerek eloszlását és valamennyi vezetékköteg elrendezését.
Az ilyen vizsgálat csak akkor mehet végbe, ha a kamra felépítése azt lehetővé teszi. Az antenna elhelyezkedését a vizsgálati jegyzőkönyvben fel kell jegyezni.
VII. MELLÉKLET
MÉRÉSI MÓDSZER AZ ELEKTROMOS/ELEKTRONIKUS RÉSZEGYSÉGEKBŐL LEADOTT SZÉLES SÁVÚ ELEKTROMÁGNESES KISUGÁRZÁSHOZ
1. Általános
1. 1 Az e mellékletben leírt vizsgálati módszert lehet alkalmazni az elektromos/elektronikus részegységekhez, amelyeket ezt követően olyan járművekbe építenek be, amelyek eleget tesznek a IV. melléklet követelményeinek.
1. 2 Vizsgálati módszer
Ezt a vizsgálatot arra szánták, hogy megmérjék az elektromos/elektronikus részegységek által létrehozott széles sávú sugárzásokat (pl.: gyújtásrendszer vagy villamos motorok).
Ha ez a melléklet nem írja elő más módon, a vizsgálatot a CISPR 25 (2. kiadás, 2002) szerint kell elvégezni.
2. Az elektromos/elektronikus részegység állapota a vizsgálat ideje alatt
2. 1 Az elektromos/elektronikus részegységnek a vizsgálat alatt a szokásos üzemmódban kell lennie, lehetőleg maximális terheléssel.
3. Vizsgálati elrendezések
3. 1 A vizsgálatot a CISPR 25 (2. kiadás, 2002) 11. pontja - az ALSE-módszer - szerint kell elvégezni.
3. 2 Lehetséges mérési helyszín Az elnyelő anyaggal bélelt és árnyékolt kamra (ALSE) mellett egy másik lehetséges módszer, a szabadtéri vizsgálati helyszín (OATS), amely eleget tesz a CISPR 16-1 (2. kiadás, 2002) szabvány követelményeinek, szintén használható (lásd e melléklet 1. függelékét).
3. 3 Környezet Annak biztosításához, hogy ne legyen olyan nagyságú külső zaj vagy jel, amely elégséges ahhoz, hogy a mérést nagy mértékben befolyásolja, a fő vizsgálat előtt és után méréseket kell végezni. Ezekben a mérésekben a külső zaj vagy jel szintjének legalább 6 dB értékkel az I. melléklet 6.5.2.1 pontjában megadott nagyfrekvenciás zavarok határértékei alatt kell maradnia, kivéve a szándékos keskeny sávú rádióadások esetén.
4. Vizsgálati követelmény
4. 1 A határértékek a teljes 30-1 000 MHz frekvenciatartományra vonatkoznak a fél-süketszobában vagy szabadtéri vizsgálati helyszínen végzett mérésekhez.
4. 2 A méréseket akár kvázi-csúcs mérőérzékelőkkel, akár csúcs mérőérzékelőkkel el lehet végezni. Az I. melléklet 6.2 és 6.5 pontjában a határértékek kvázi-csúcs mérőérzékelőkhöz vannak megadva. Csúcs mérőérzékelők használata esetében a CISPR 12 (5. kiadás, 2001) szabványban meghatározott 20 dB értékű korrekciós tényezőt kell alkalmazni.
4. 3 Mérések
A műszaki szolgálat végzi a méréseket a CISPR 25 (2. kiadás, 2002) szabványban meghatározott időközökben a teljes 30-1 000 MHz frekvenciatartományban.
Ha pedig a gyártó szolgáltatja a mérési adatokat a teljes frekvenciasávra egy az ISO 17025 (1. kiadás, 1999) alkalmazható részei szerint akkreditált és a jóváhagyó hatóság által elismert vizsgáló laboratóriumtól, a műszaki szolgálat a frekvenciatartományt a következő 13 frekvenciasávra oszthatja: 30-50, 50-75, 75-100, 100-130, 130-165, 165-200, 200-250, 250-320, 320-400, 400-520, 520-660, 660-820, 820-1 000 MHz, és az egyes sávokon belül azon a 13 frekvencián végzi el a vizsgálatokat, amelyeknél a legnagyobb sugárzás érték adódik, annak igazolására, hogy az elektromos/elektronikus részegység kielégíti az e melléklet követelményeit.
Abban az esetben, ha a mért érték meghaladja a határértéket, vizsgálódást kell folytatni annak bizonyítására, hogy ez az elektromos/elektronikus részegység, és nem a háttérsugárzás miatt van.
4. 4 Műszerleolvasások A határértékre vonatkoztatott maximális műszerleolvasást (vízszintes és függőleges polarizáció) a 13 frekvenciasáv mindegyikében úgy kell tekinteni, mint a jellemző leolvasást azon a frekvencián, amelyen a méréseket végezték.
1. függelék
1. ábra
A szabadtéri vizsgálat helyszíne: az elektromos/elektronikus részegységek vizsgálati területének határa
Vízszintes szabad terület, elektromágneses visszaverő felületektől mentes

VIII. MELLÉKLET
MÉRÉSI MÓDSZER AZ ELEKTROMOS/ELEKTRONIKUS RÉSZEGYSÉGEKBŐL LEADOTT KESKENY SÁVÚ ELEKTROMÁGNESES KISUGÁRZÁSHOZ
1. Általános
1.1. Az e mellékletben leírt vizsgálati módszert lehet alkalmazni az elektromos/elektronikus részegységekhez, amelyeket ezt követően olyan járművekbe építenek be, amelyek eleget tesznek a IV. melléklet követelményeinek.
1.2. Vizsgálati módszer
Ezt a vizsgálatot arra szánták, hogy megmérjék a keskeny sávú sugárzásokat, mint amilyenek a mikroprocesszort tartalmazó rendszerekből vagy más keskeny sávú forrásokból származnak.
Ha ez a melléklet nem írja elő más módon, a vizsgálatot a CISPR 25 (2. kiadás, 2002) szerint kell elvégezni.
2. Az elektromos/elektronikus részegység állapota a vizsgálat ideje alatt
A vizsgálat alatt álló elektromos/elektronikus részegységnek a szokásos üzemmódban kell lennie.
3. Vizsgálati elrendezések
3.1. A vizsgálatot a CISPR 25 (2. kiadás, 2002) 11. pontja - az ALSE-módszer - szerint kell elvégezni.
3.2. Lehetséges mérési helyszín Az elnyelőanyaggal bélelt és árnyékolt kamra (ALSE) mellett egy másik lehetséges módszer, a szabadtéri vizsgálati helyszín (OATS), amely eleget tesz a CISPR 16-1 (2. kiadás, 2002) szabvány követelményeinek, szintén használható (lásd e melléklet 1. függelékét).
3.3. Környezet Annak biztosításához, hogy ne legyen olyan nagyságú külső zaj vagy jel, amely elégséges ahhoz, hogy a mérést nagy mértékben befolyásolja, a fő vizsgálat előtt és után méréseket kell végezni. Ezekben a mérésekben a külső zaj vagy jel szintjének legalább 6 dB értékkel az I. melléklet 6.5.2.1 pontjában megadott nagyfrekvenciás zavarok határértékei alatt kell maradnia, kivéve a szándékos keskeny sávú rádióadások esetén.
4. Vizsgálati követelmények
4.1. A határértékek a teljes 30-1 000 MHz frekvenciatartományra vonatkoznak a félsüketszobában vagy szabadtéri vizsgálati helyszínen végzett mérésekhez.
4.2. A méréseket átlagoló mérőérzékelővel kell elvégezni.
4.3. Mérések
A műszaki szolgálat végzi a méréseket a CISPR 12 (5. kiadás, 2001) szabványban meghatározott időközökben a teljes 30-1 000 MHz frekvenciatartományban.
Ha pedig a gyártó szolgáltatja a mérési adatokat a teljes frekvenciasávra egy, az ISO 17025 (1. kiadás, 1999) alkalmazható részei szerint akkreditált és a jóváhagyó hatóság által elismert vizsgáló laboratóriumtól, a műszaki szolgálat a frekvenciatartományt a következő 13 frekvenciasávra oszthatja: 30-50, 50-75, 75-100, 100-130, 130-165, 165-200, 200-250, 250-320, 320-400, 400-520, 520-660, 660-820, 820-1 000 MHz, és az egyes sávokon belül azon a 13 frekvencián végzi el a vizsgálatokat, amelyeknél a legnagyobb sugárzás érték adódik, annak igazolására, hogy az elektromos/elektronikus részegység kielégíti az e melléklet követelményeit. Abban az esetben, ha a mért érték meghaladja a határértéket, vizsgálódást kell folytatni annak bizonyítására, hogy ez az elektromos/elektronikus részegység, és nem a háttérsugárzás miatt van.
4.4. Műszerleolvasások A határértékre vonatkoztatott maximális műszerleolvasást (vízszintes és függőleges polarizáció) a 13 frekvenciasáv mindegyikében úgy kell tekinteni, mint a jellemző leolvasást azon a frekvencián, amelyen a méréseket végezték.
IX. MELLÉKLET
VIZSGÁLATI MÓDSZER(EK) AZ ELEKTROMOS/ELEKTRONIKUS RÉSZEGYSÉGEKNEK AZ ELEKTROMÁGNESES SUGÁRZÁSSAL SZEMBENI VÉDETTSÉGÉHEZ
1. Általános
1.1. Az e mellékletben leírt vizsgálati módszert lehet alkalmazni az elektromos/elektronikus részegységekhez.
1.2. Vizsgálati módszerek
1.2.1. A elektromos/elektronikus részegységek eleget tehetnek a következő vizsgálati módszerek bármilyen kombinációja követelményeinek a gyártó belátása szerint, feltéve, hogy az e melléklet 3.1 pontjában előírt frekvenciatartomány teljes lefedését eredményezi.
- Elnyelőkamra-vizsgálat: az ISO DIS 11452-2:2003 szerint
- TEM-cella-vizsgálat: az ISO 11452-3:3. kiadás, 2001 szerint
- Térfogati áram betáplálás vizsgálat: az ISO DIS 11452-4:2003 szerint
- Szalagvezető vizsgálat: az ISO 11452-5:2. kiadás, 2002 szerint
- 800 mm-es szalagvezető: e melléklet 4.5 pontja szerint
(A frekvenciatartományt és az általános vizsgálati feltételeket az ISO DIS 11452-1:2003 szabvány alapján kell meghatározni).
2. Az elektromos/elektronikus részegység állapota a vizsgálat ideje alatt
2.1. A vizsgálati feltételeket az ISO 11452-1:2002 szabvány szerint kell meghatározni.
2.2. A vizsgálat alatt álló elektromos/elektronikus részegységet be kell kapcsolni, és úgy kell beállítani, hogy a szokásos működési feltételek között legyen. Az e mellékletben előírtak szerint kell elrendezni, hacsak az egyedi vizsgálati módszerek nem írják elő másképp.
2.3. Semmilyen külső berendezést, amely az elektromos/elektronikus részegység működtetéséhez szükséges a vizsgálat alatt, nem kell a helyére tenni a hitelesítési szakaszban. Semmilyen külső berendezés sem lehet közelebb, mint 1 m-re a referenciaponttól a hitelesítés ideje alatt.
2.4. Annak biztosításához, hogy reprodukálható mérési eredmények legyenek kaphatók a vizsgálatok és mérések megismétlésekor, a vizsgáló jelet létrehozó berendezés és annak elrendezése ugyanaz legyen, mint a megfelelő hitelesítési szakaszban alkalmazott berendezésé.
2.5. Ha a vizsgálat alatt álló elektromos/elektronikus részegység egynél több részből áll, kívánatos, hogy az összekötő kábelek azok a vezetékkötegek legyenek, amelyeket a járműben való használathoz szántak. Ha ezek nem állnak rendelkezésre, az elektronikus vezérlő egység és az AN közötti hosszúság a szabványban meghatározottak szerinti legyen. A vezetékkötegben az összes kábelt a valóságosnak minél jobban megfelelő lezárással kell ellátni, lehetőleg valódi terhelésekkel és működtető elemekkel.
3. Általános vizsgálati követelmények
3.1. Frekvenciatartomány, tartózkodási idők
Méréseket kell végezni a 20-2 000 MHz frekvenciatartományban az ISO 11452-1:2002 szabványban előírt frekvencialépésekkel.
A vizsgálójel-moduláció az alábbi legyen:
- AM, 1 kHz modulációval és 80 % modulációs mélységgel a 20-800 MHz frekvenciatartományban, és
- PM, t 577 μs, periódus 4 600 μs a 800-2 000 MHz frekvenciatartományban,
a műszaki szolgálat és a jármű gyártója közötti más értelmű megállapodás híján.
A frekvencia lépcső méretét és a tartózkodási időt az ISO 11451-1:2001 szabvány szerint kell megválasztani.
3.2. A műszaki szolgálat végzi a vizsgálatot az ISO DIS 11452-1:2003 szabványban meghatározott időközökben a teljes 20-2 000 MHz frekvenciatartományban.
Ha pedig a gyártó biztosítja az adatok mérését a teljes frekvenciatartományhoz egy az ISO 17025 (1. kiadás, 1999) szabvány megfelelő részei szerint akkreditált és a jóváhagyó hatóság által elismert vizsgálólaboratóriumtól, a műszaki szolgálat egy mérsékelt számú rögzített frekvenciát választhat ki a tartományban, pl.: 27, 45, 65, 90, 120, 150, 190, 230, 280, 380, 450, 600, 750, 900, 1 300, és 1 800 MHz annak igazolásához, hogy az elektromos/elektronikus részegység kielégíti az e melléklet követelményeit.
3.3. Ha az elektromos/elektronikus részegység nem felel meg az e mellékletben meghatározott vizsgálat előírásainak, igazolni kell, hogy a vonatkozó vizsgálati feltételek között nem felelt meg, és nem ellenőrizhetetlen mezők létrejöttének eredményeként.
4. Különleges vizsgálati követelmények
4.1. Elnyelőkamra-vizsgálat
4.1.1. Vizsgálati módszer
Ez a vizsgálati módszer lehetővé teszi a jármű elektromos/elektronikus rendszereinek vizsgálatát azáltal, hogy az elektromos/elektronikus részegység elektromágneses sugárzásnak legyen kitéve, amelyet egy antenna hoz létre.
4.1.2. Vizsgálati metodika
Az ISO DIS 11452-2:2003 szabvány szerinti "helyettesítés módszerét" kell alkalmazni a vizsgálati helyszín körülményeinek a megállapításához.
A vizsgálatot függőleges polarizációval kell végezni.
4.2. TEM-cella-vizsgálat
4.2.1. Vizsgálati módszer
A TEM (transzverzális elektromágneses módus) cella homogén mezőket hoz létre a belső vezeték (terelőlemez) és a burkolat (vízszintes sík) között.
4.2.2. Vizsgálati metodika
A vizsgálatot az ISO 11452-3:3. kiadás, 2001 szabvány szerint kell végezni.
A vizsgálandó elektromos/elektronikus részegységtől függően a vizsgáló hatóság választja ki a maximális térerősség csatolás módszerét az elektromos/elektronikus részegységhez vagy a TEM-cella belsejében lévő vezetékköteghez.
4.3. Térfogati áram betáplálás vizsgálat
4.3.1. Vizsgálati módszer
Ezzel a módszerrel a védettségi vizsgálatokat lehet elvégezni úgy, hogy egy áram betápláló szonda alkalmazásával áramot gerjesztenek közvetlenül a vezetékkötegben.
4.3.2. Vizsgálati metodika
A vizsgálatot az ISO DIS 11452-4:2003 szabvány szerint kell elvégezni egy vizsgáló padon. Egy másik lehetséges módszerrel az elektromos/elektronikus részegység vizsgálható, miközben beszerelik a járműbe az ISO 11451-4 (1. kiadás, 1995) szabvány szerint.
A betápláló szondát 150 mm távolságban kell elhelyezni a vizsgálandó elektromos/elektronikus részegységtől.
Referenciamódszert kel alkalmazni a továbbított teljesítményből betáplált áram kiszámításához.
A módszer frekvenciatartományát a betápláló szonda előírásai korlátozzák.
4.4. Szalagvezető vizsgálat
4.4.1. Vizsgálati módszer
Ez a vizsgálati módszer abból áll, hogy az elektromos/elektronikus részegységben az alkatrészeket összekötő vezetékköteget meghatározott térerősségeknek vetik alá.
4.4.2. Vizsgálati metodika
A vizsgálatot az ISO 11452-5 (2. kiadás, 2002) szabvány szerint kell elvégezni.
4.5. 800 mm-es szalagvezető vizsgálat
4.5.1. Vizsgálati módszer
A szalagvezető két párhuzamos fémlemezből áll, amelyek 800 mm-re vannak egymástól elválasztva. A vizsgálat alatt álló berendezést a két lemez között központosan helyezik el, és elektromágneses térnek vetik alá (lásd az e melléklet 1. függelékét).
Ezzel a módszerrel teljes elektronikus rendszereket lehet vizsgálni, beleértve az érzékelőket és működtető elemeket, valamint a vezérlőeszközöket és vezetékfonatokat is. Alkalmas olyan készülékekhez is, amelyek legnagyobb mérete kisebb, mint a lemezeket elválasztó távolság egyharmada.
4.5.2. Vizsgálati metodika
4.5.2.1. A szalagvezető helyzet beállítása
A szalagvezetőt árnyékolt helyiségbe kell tenni (a külső sugárzás megakadályozásához), és 2 m távolságban kell elhelyezni a falaktól és bármilyen fémes burkolattól az elektromágneses visszaverődések megakadályozásához. Az ilyen visszaverődések csillapítására RF-elnyelők is alkalmazhatók. A szalagvezetőt nem vezető támasztékokon kell elhelyezni, legalább 0,4 m magasságban a padlózat fölött.
4.5.2.2. A szalagvezető hitelesítése
Egy térerősségmérő szondát kell elhelyezni a párhuzamos lemezek hosszúsági, magassági és szélességi méreteinek a középső egyharmadában, amikor a vizsgálandó rendszer nincs behelyezve.
A csatlakozó mérőberendezést az árnyékolt helyiségen kívül kell elhelyezni. Az egyes előírt vizsgálati frekvenciákon a megfelelő teljesítményszintet be kell táplálni a szalagvezetőbe, hogy az antennánál létrehozza a szükséges térerősséget. Ezt a továbbított teljesítmény szintet, vagy egy másik paramétert, amely közvetlenül összefüggésben áll a térerősség meghatározásához szükséges továbbított teljesítménnyel, kell felhasználni a típusjóváhagyási vizsgálatokhoz, hacsak változások nem következnek be az eszközökben vagy berendezésekben, ami az eljárás megismétlését teszi szükségessé.
4.5.2.3. Az elektromos/elektronikus részegység üzembe helyezése a vizsgálat alatt
A fő vezérlő egységet a párhuzamos lemezek hosszúsági, magassági és szélességi méreteinek a középső egyharmadában kell elhelyezni. Az egységet nem vezető anyagból készült állvánnyal kell alátámasztani.
4.5.2.4. Fő vezetékfonat és érzékelő/működtető elem kábelek
A fő vezetékfonatot és valamennyi érzékelő/működtető elem kábeleit függőlegesen kell beállítani a vezérlő egységtől a felső testelő lemezig (ez segít abban, hogy a csatolás az elektromágneses mezővel a maximális legyen). Ezután követni kell velük a lemez alsó felületét az egyik szabad széléig, ahol hurkot kell formálni, hogy kövessék az alsó lemez felső felületét a szalagvezető betáplálásához való csatlakozókig. Ezután a kábeleket a csatlakozó berendezésekig kell vezetni, amelyeket az elektromágneses mező hatásán kívül kell elhelyezni, pl. az árnyékolt helyiség padlóján, hosszirányban 1 m távolságban a szalagvezetőtől.
1. függelék
1. ábra
800 mm-es szalagvezető vizsgálata

2. ábra
A 800 mm-es szalagvezető méretei

2. függelék
Tipikus TEM cella méretek
A következő táblázat egy meghatározott felső frekvenciahatárértékkel rendelkező cella felépítésének a méreteit mutatja:
Felső frekvencia (MHz) | Cella alaktényező W : b | Cella alaktényező L/W | Lemez távolság b (cm) | Terelőlemez S (cm) |
200 | 1,69 | 0,66 | 56 | 70 |
200 | 1,00 | 1 | 60 | 50 |
X. MELLÉKLET
VIZSGÁLATI MÓDSZER(EK) AZ ELEKTROMOS/ELEKTRONIKUS RÉSZEGYSÉGEKNEK A TRANZIENSEKKEL SZEMBENI VÉDETTSÉGÉHEZ ÉS TRANZIENS KIBOCSÁTÁSÁHOZ
1. Általános
Ez a vizsgálati módszer biztosítja az elektromos/elektronikus részegységek védettségét a jármű tápegységén vezetett tranziensekkel szemben, és korlátozza az elektromos/elektronikus részegységektől a jármű tápegységéhez vezetett tranzienseket.
2. Védettség a tápvezetékeken keresztül vezetett zavarokkal szemben
Az 1, 2a, 2b, 3a, 3b és 4 vizsgáló impulzusokat az ISO 7637-2:2002 szabvány szerint ráadja a tápvezetékekre, valamint az elektromos/elektronikus részegységek többi csatlakozójára, amelyek üzemszerűen össze vannak kötve a tápvezetékekkel.
3. A vezetett zavarok sugárzása a tápvezetékek mentén
Mérés az ISO 7637-2:2002 szabvány szerint a tápvezetékeken, valamint az elektromos/elektronikus részegységek többi csatlakozóján, amelyek üzemszerűen össze vannak kötve a tápvezetékekkel.
( 1 ) HL L 42., 1970.2.23., 1. o. A legutóbb a 2004/78/EK bizottsági irányelvvel (HL L 153., 2004.4.30., 103. o.) módosított irányelv.
( 2 ) HL L 152., 1972.7.6., 15. o. A legutóbb a 95/54/EK bizottsági irányelvvel (HL L 266., 1995.11.8., 1. o.) módosított irányelv.
( 3 ) HL L 139., 1989.5.23., 19. o. A legutóbb a 93/68/EGK bizottsági irányelvvel (HL L 220., 1993.8.30., 1. o.) módosított irányelv.
( 4 ) HL L 91., 1999.4.7., 10. o.
( 5 ) Ha alkalmazható.
( 6 ) Az ebben az adatlapban alkalmazott tételszámok és lábjegyzetek megfelelnek a 70/156/EGK irányelv I. mellékletében felsoroltaknak. Az irányelv alkalmazásához nem lényeges tételek a felsorolásból kimaradtak.
( 7 ) Nem kívánt rész törlendő.
( 8 ) Ha a típus azonosító olyan karaktereket tartalmaz, amelyek nem megfelelőek a részegység megnevezésére vagy a jelen információs dokumentum által lefedett egység műszaki megkülönböztetésére, az ilyen karaktereket a dokumentációban a "?" szimbólummal kell megjeleníteni (pl. ABC??123??).
( 9 ) Nem kívánt rész törlendő.
( 10 ) Nem kívánt rész törlendő.
( 11 ) Nem kívánt rész törlendő.
( 12 ) Ha a típusazonosító olyan karaktereket tartalmaz, amelyek nem megfelelőek a részegység megnevezésére vagy a jelen információs dokumentum által lefedett egység műszaki megkülönböztetésére, az ilyen karaktereket a dokumentációban a "?" szimbólummal kell megjeleníteni (pl. ABC??123??).
Lábjegyzetek:
[1] A dokumentum eredetije megtekinthető CELEX: 32004L0104 - https://eur-lex.europa.eu/legal-content/HU/ALL/?uri=CELEX:32004L0104&locale=hu Utolsó elérhető, magyar nyelvű konszolidált változat CELEX: 02004L0104-20041203 - https://eur-lex.europa.eu/legal-content/HU/ALL/?uri=CELEX:02004L0104-20041203&locale=hu