32000L0014[1]
Az Európai Parlament és a Tanács 2000/14/EK irányelve (2000. május 8.) a kültéri használatra tervezett berendezések zajkibocsátására vonatkozó tagállami jogszabályok közelítéséről
AZ EURÓPAI PARLAMENT ÉS A TANÁCS 2000/14/EK IRÁNYELVE
(2000. május 8.)
a kültéri használatra tervezett berendezések zajkibocsátására vonatkozó tagállami jogszabályok közelítéséről
1. cikk
Célkitűzések
Ennek az irányelvnek az a célja, hogy harmonizálja a kültéri berendezések környezeti zajkibocsátásával kapcsolatos zajkibocsátási szabványokra, a megfelelésértékelési eljárásokra, a jelölésre, a műszaki dokumentálásra és az adatgyűjtésre vonatkozó tagállami jogszabályokat. Így hozzájárul a belső piac zavartalan működéséhez, miközben védi az emberek egészségét és a jólétét.
2. cikk
Hatály
(1) Ezen irányelv a 12. és 13. cikkben felsorolt és az I. mellékletben meghatározott kültéri berendezésekre vonatkozik. Ezen irányelv csak azon berendezésekre terjed ki, amelyeket mint a célnak megfelelő használatra alkalmas egészet hoznak forgalomba és helyeznek üzembe. A nem gépi erejű tartozékok, amelyeket külön hoznak forgalomba vagy amelyeket külön helyeznek üzembe, nem tartoznak ide, kivéve a kézben tartott betontörőket, törőkalapácsokat és légkalapácsokat.
(2) Az irányelv hatálya nem terjed ki a következőkre:
- minden olyan berendezésre, amely közúton, vasúton, levegőben vagy vízi úton történő áruszállítás vagy személyszállítás céljára szolgál,
- olyan berendezésekre, amelyeket kifejezetten katonai, rendőrségi vagy mentőszolgálati helyzetekben szükséges szolgáltatások célokra terveztek.
3. cikk
Fogalommeghatározás
Ezen irányelv alkalmazásában:
a) "kültéri berendezés" : minden olyan berendezés, amelyet a gépekre vonatkozó tagállami jogszabályok közelítéséről szóló, 1998. június 22-i 98/37/EK európai parlamenti és tanácsi irányelv ( 1 ) 1. cikkének (2) bekezdése határoz meg, amely vagy önjáró vagy mozgatható, függetlenül a meghajtó elem(ek)től, és amely típusa szerint szabadban történő felhasználás céljára szolgál, és amely hozzájárul a környezeti zajhatáshoz. A berendezés használatát olyan környezetben, ahol a hangátvitel nem vagy nem eléggé tompított (például sátrak alatt, eső elleni védelemre szolgáló tetők alatt vagy házak gerendái alatt kültéri használatnak kell tekinteni. A meghatározás olyan ipari vagy környezetvédelmi alkalmazásokhoz használt nem motoros meghajtású berendezésekre is vonatkozik, amelyeket típusuk szerint szabadban történő használatra szántak, és amelyek hozzájárulnak a környezeti zajhatáshoz. Minden ilyen típusú berendezés a továbbiakban mint "berendezés" szerepel;
b) "megfelelőségértékelési eljárás" : az az V-VIII. mellékletben szabályozott eljárás, amely a 93/465/EGK határozaton alapul;
c) "jelölés" : a 93/465/EGK határozatban megállapított CE-jelölés látható, olvasható és maradandó rögzítése a berendezésen, amely kiegészül a szavatolt hangteljesítményszint jelzésével;
d) "hangteljesítmény LWA ": jelentése az A-hangteljesítményszint dB-ben 1 pW-ra vonatkoztatva, ahogy azt az EN ISO 3744: 1995 és EN ISO 3746: 1995-ben meghatározták;
e) "mért hangteljesítményszint": az a hangteljesítmény, amelyet a III. mellékletben meghatározott méréssel határoznak meg; a mért értékeket a típust képviselő egyetlen gépen vagy számos gép átlagából lehet meghatározni;
f) "garantált hangteljesítményszint": az a hangteljesítmény, amelyet a III. mellékletben megadott követelményekkel összhangban határoznak meg, és amely magába foglalja a különböző gyártásból és mérési módszerekből adódó bizonytalanságot is továbbá amelyet a gyártó vagy annak a közösségi illetőségű hivatalos képviselője megerősít, miszerint - az alkalmazott és műszaki dokumentációban említett műszaki eljárásokat figyelembe véve - a berendezés ezt az értéket nem lépi túl.
4. cikk
Forgalomba hozatal
(1) A 2. cikk (1) bekezdésében említett berendezések nem hozhatók forgalomba, illetve nem helyezhetők üzembe addig, amíg a gyártó vagy annak Közösségben letelepedett meghatalmazottja nem biztosítja, hogy:
- a berendezés megfelel az irányelv környezeti zajkibocsátásra vonatkozó követelményeinek,
- elvégezték a 14. cikkben említett megfelelőségértékelési eljárást,
- a berendezésen rajta van a CE megfelelőségi jelölés és a garantált hangteljesítmény jelzése, és mellékelve van hozzá egy EK megfelelőségi nyilatkozat.
(2) Amennyiben sem a gyártó, sem meghatalmazottja nem közösségi illetőségű, az irányelvben foglalt kötelezettségek bármely olyan személyre vonatkoznak, aki a berendezést a Közösségben hozza forgalomba vagy helyezi üzembe.
5. cikk
A piac felügyelete
(1) A tagállamok megteszik a megfelelő intézkedéseket annak biztosítására, hogy a 2. cikk (1) bekezdésében említett berendezések csak akkor legyenek forgalomba hozhatók vagy üzembe helyezhetők, ha megfelelnek az irányelv rendelkezéseinek, viselik a CE-jelölést és a garantált hangteljesítmény jelzését, valamint mellékelve van hozzájuk egy EK megfelelőségi nyilatkozat.
(2) A tagállamok illetékes hatóságai segítik egymást piacfelügyeleti kötelezettségeik teljesítésében.
6. cikk
Szabad mozgás
(1) A tagállamok nem tiltják meg, korlátozzák vagy akadályozzák saját területükön a 2. cikk (1) bekezdésében említett azon berendezések forgalmazását vagy üzembe helyezését, amelyek megfelelnek az irányelv rendelkezéseinek, viselik a CE-jelölést és a garantált hangteljesítményszint jelzést, valamint mellékelték hozzá az EK megfelelőségi nyilatkozatot.
(2) Vásárokon, kiállításokon, bemutatókon és hasonló eseményeken a tagállamok nem akadályozzák meg a 2. cikk (1) bekezdésében említett azon berendezések bemutatását, amelyek nem felelnek meg az irányelv rendelkezéseinek, feltéve hogy egy látható jelölés világosan jelzi azt, hogy a berendezés nem megfelelő és nem hozható forgalomba, valamint nem helyezhető üzembe, amíg a gyártó vagy a Közösségben letelepedett meghatalmazottja nem biztosította a megfelelését. Az ilyen bemutatók során megfelelő biztonsági intézkedéseket kell tenni a személyek védelmének garantálására.
7. cikk
A megfelelés vélelme
A tagállamok vélelmezik, hogy a 2. cikk (1) bekezdésében említett berendezés, amely viseli a CE-jelölést és a garantált hangteljesítményszint jelzését, valamint mellékelve van hozzá egy EK megfelelőségi nyilatkozat, megfelel az irányelv minden rendelkezésének.
8. cikk
EK megfelelőségi nyilatkozat
(1) A 2. cikk (1) bekezdésében említett berendezés gyártója vagy annak közösségi illetőségű meghatalmazottja - azért, hogy igazolja, hogy az adott berendezés megfelel az irányelv rendelkezéseinek - kiállít egy EK megfelelőségi nyilatkozatot minden gyártott berendezéstípusra; e megfelelőségi nyilatkozatnak a minimális tartalmát a II. melléklet határozza meg.
(2) Egy tagállam elvárhatja, hogy a megfelelőségi nyilatkozat a tagállam által meghatározott, hivatalos közösségi nyelven vagy nyelveken legyen elkészítve vagy arra/azokra le legyen fordítva, amikor a berendezést az ő területén forgalomba hozzák vagy üzembe helyezik.
(3) A 2. cikk (1) bekezdésben említett berendezés gyártója vagy közösségi illetőségű meghatalmazott képviselője a berendezés gyártásának befejezésétől számított 10 évig köteles megőrizni az EK megfelelőségi nyilatkozat egy példányát, a műszaki dokumentációval együtt, amint azt az V. melléklet 3. pontja, a VI. melléklet 3. pontja, a VII. melléklet 2. pontja, valamint a VIII. melléklet 3.1. és 3.3. pontja kimondja.
9. cikk
A berendezés meg nem felelése
(1) Amennyiben egy tagállam tudomására jut, hogy a 2. cikk (1) bekezdésében említett berendezés, amit forgalomba hoznak vagy üzembe helyeznek, nem felel meg ezen irányelv követelményeinek, minden megfelelő intézkedést megtesz annak érdekében, hogy a gyártó vagy a Közösségben letelepedett meghatalmazottja biztosítsa, hogy a berendezés megfelel az irányelv követelményeinek.
(2) Amennyiben
a) a berendezés a 12. cikkben meghatározott határértékeket meghaladja, vagy
b) az (1) bekezdés szerint megtett intézkedések ellenére továbbra is fennáll az irányelv egyéb rendelkezései szerinti meg nem felelés,
az érintett tagállam minden megfelelő intézkedést megtesz, hogy korlátozza vagy megtiltsa a kérdéses berendezés forgalomba hozatalát vagy üzembe helyezését, vagy hogy biztosítsa annak piacról való kivonását. A tagállamok azonnal tájékoztatják a Bizottságot és a többi tagállamot az ilyen intézkedésekről.
(3) A Bizottság amilyen hamar csak lehet konzultációt kezdeményez az érintett felekkel. A konzultáció után a Bizottság megállapítja, hogy:
- az intézkedések megalapozottak, akkor azonnal tájékoztatja a kezdeményező tagállamot, továbbá a többi tagállamot,
- az intézkedések megalapozatlanok, akkor azonnal tájékoztatja azt a tagállamot, amelyik a kezdeményezést tette, illetve a többi tagállamot, valamint a gyártót vagy annak Közösségben letelepedett meghatalmazottját.
(4) A Bizottság biztosítja, hogy a tagállamokat folyamatosan tájékoztassák az eljárás menetéről és végeredményéről.
10. cikk
Jogorvoslat
Minden intézkedésnek, amelyet egy tagállam az irányelv értelmében tesz és amely megtiltja az irányelvben szereplő berendezés forgalomba hozatalát vagy üzembe helyezését, meg kell határoznia az intézkedés alapjául szolgáló pontos okokat. Az ilyen intézkedésről amilyen hamar csak lehet, értesíteni kell az érintett felet, akit ezzel egyidejűleg tájékoztatnak az érintett tagállamban hatályban lévő törvények értelmében rendelkezésére álló jogorvoslati lehetőségekről és jogorvoslati határidőkről.
11. cikk
Megjelölés
(1) Az a forgalomba hozott vagy üzembe helyezett, a 2. cikk (1) bekezdésben említett berendezés, amely megfelel ezen irányelv rendelkezéseinek, a CE megfelelőségi jelölést viseli. A jelölés a "CE" betűkből áll. A használandó jelölés formája a IV. mellékletben szerepel.
(2) A CE-jelölés együtt szerepel a garantált hangteljesítményszint jelzésével. E jelzés mintája a IV. mellékletben szerepel.
(3) A CE megfelelőségi jelölést és a garantált hangteljesítményszint jelölést jól láthatóan, olvashatóan és tartósan kell rögzíteni minden berendezésen.
(4) Tilos olyan jel vagy felirat rögzítése a berendezéseken, amely alkalmas lehet a félrevezetésre a CE megfelelőségi jelölés vagy a garantált hangteljesítményszint vonatkozásában. Bármiféle egyéb jelzés rögzíthető a berendezésen, feltéve hogy a CE megfelelőségi jelölés és a garantált hangteljesítményszint jelzésének láthatósága és olvashatósága ezáltal nem csökken.
(5) Amennyiben a 2. cikk (1) bekezdésében említett berendezésre más szempontból is vonatkoznak irányelvek, amelyek ugyancsak megkövetelik a CE-jelölés rögzítését, abban az esetben a jelzés azt is mutatja, hogy az ilyen berendezés megfelel azon irányelv rendelkezéseinek is. Ugyanakkor, ha ezen irányelvek közül egy vagy több az átmeneti időszak során megengedi a gyártónak, hogy megválassza, melyik rendszer alkalmazását választja, akkor a CE-jelölésen fel kell tüntetni azt is, hogy a gyártó csak az adott irányelv rendelkezéseinek felel meg. Ebben az esetben azon irányelv részleteit - amint az Európai Közösségek Hivatalos Lapjában szerepel - meg kell adni azokban a dokumentumokban, értesítésekben vagy utasításokban, amelyeket azok az irányelvek követelnek meg, és ezeket a berendezéshez mellékelik.
12. cikk
Zajkibocsátási határértékkel rendelkező berendezések
Az alábbiakban felsorolt berendezések garantált zajszintje nem haladhatja meg a táblázatában meghatározott megengedhető hangteljesítményszintre vonatkozó határértékeket:
- építőipari teheremelők (robbanómotoros hajtású)
Meghatározás:
I. melléklet, 3. pont. Mérés: III. melléklet, B. rész, 3. pont
- döngölőgépek (csak a vibráló és nem vibráló hengerek, lapvibrátorok és vibrációs döngölőgépek)
Meghatározás:
I. melléklet, 8. pont. Mérés: III. melléklet, B. rész, 8. pont
- kompresszorok (< 350 kW)
Meghatározás:
I. melléklet, 9. pont. Mérés: III. melléklet, B. rész, 9. pont
- kézi betontörő és fejtőkalapácsok
Meghatározás:
I. melléklet, 10. pont. Mérés: III. melléklet, B. rész, 10. pont
- építőipari csörlők (robbanómotoros hajtású)
Meghatározás:
I. melléklet, 12. pont. Mérés: III. melléklet, B. rész, 12. pont
- földtolók (< 500 kW)
Meghatározás:
I. melléklet, 16. pont. Mérés: III. melléklet, B. rész, 16. pont
- dömperek (< 500 kW)
Meghatározás:
I. melléklet, 18. pont. Mérés: III. melléklet, B. rész, 18. pont
- Hidraulikus vagy köteles kotrók hidraulikus vagy köteles(< 500 kW)
Meghatározás:
I. melléklet, 20. pont. Mérés: III. melléklet, B. rész, 20. pont
- kotró-rakodók (< 500 kW)
Meghatározás:
I. melléklet, 21. pont. Mérés: III. melléklet, B. rész, 21. pont
- földgyaluk (< 500 kW)
Meghatározás:
I. melléklet, 23. pont. Mérés: III. melléklet, B. rész, 23. pont
- hidraulikus nyomásfokozók
Meghatározás:
I. melléklet, 29. pont. Mérés: III. melléklet, B. rész, 29. pont
- hulladéktömörítő, rakodótípusú, kanalas (< 500 kW)
Meghatározás:
I. melléklet, 31. pont. Mérés: III. melléklet, B. rész, 31. pont
- fűnyírók (kivéve a mező- és erdőgazdasági berendezéseket, a többcélú berendezéseket, amelyek főhajtóműve 20 kW-nál nagyobb teljesítményű)
Meghatározás:
I. melléklet, 32. pont. Mérés: III. melléklet, B. rész, 32. pont
- gyepvágók/gyepszegélyvágók
Meghatározás:
I. melléklet, 33. pont. Mérés: III. melléklet, B. rész, 33. pont
- villás emelőtargoncák, belsőégésű motorhajtással, ellensúllyal (kivéve az I. melléklet 36. cikk, második bekezdésben meghatározott, nem több mint 10 tonna névleges teljesítményű "egyéb ellensúlyos emelőtargoncákat")
Meghatározás:
I. melléklet, 36. pont. Mérés: III. melléklet, B. rész, 36. pont
- rakodógépek (< 500 kW)
Meghatározás:
I. melléklet, 37. pont. Mérés: III. melléklet, B. rész, 37. pont
- mobil daruk (< 500 kW)
Meghatározás:
I. melléklet, 38. pont. Mérés: III. melléklet, B. rész, 38. pont
- motoros kapák (< 3 kW)
Meghatározás:
I. melléklet, 40. pont. Mérés: III. melléklet, B. rész, 40. pont
- útburkolatrakó gépek (kivéve a nagy tömörítőerejű lehúzólappal felszerelt útburkolatrakó gépeket)
Meghatározás:
I. melléklet, 41. pont. Mérés: III. melléklet, B. rész, 41. pont
- áramfejlesztő generátorok (< 400 kW)
Meghatározás:
I. melléklet, 45. pont. Mérés: III. melléklet, B. rész, 45. pont
- toronydaruk
Meghatározás:
I. melléklet, 53. pont. Mérés: III. melléklet, B. rész, 53. pont
- hegesztőgenerátorok
Meghatározás:
I. melléklet, 57. pont. Mérés: III. melléklet, B. rész, 57. pont
A berendezés típusa | Nettó névleges teljesítmény P (kW) Elektromos teljesítmény Pel (kW) (1) A berendezés tömege m (kg) Vágási szélesség L (cm) | Megengedhető hangteljesítményszint dB/1 pW | |
I. ütem2002. január 3-tól | II. ütem2006. január 3-tól | ||
Döngölőgépek (vibrálóhengerek, lapvibrátorok és vibrációs döngölőgépek) | P ≤ 8 | 108 | 105 (2) |
8 < P ≤ 70 | 109 | 106 (2) | |
P > 70 | 89 + 11 lg P | 86 + 11 lg P (2) | |
Lánctalpas földtolók, lánctalpas rakodók, lánctalpas kotró-rakodók | P ≤ 55 | 106 | 103 (2) |
P > 55 | 87 + 11 lg P | 84 + 11 lg P (2) | |
Kerekes földtolók, kerekes rakodók, kerekes kotró-rakodók, dömperek, földgyaluk, talaj- és szeméttömörítő kanalas rakodók, robbanómotoros emelőtargoncák ellensúllyal, mobil daruk, döngölőgépek (nem vibráló hengerek), útburkolatrakó gépek, hidraulikus nyomásfokozók | P ≤ 55 | 104 | 101 (2) (3) |
P > 55 | 85 + 11 lg P | 82 + 11 lg P (2) (3) | |
Kotrógépek, építőipari teheremelők, építőipari csörlők, motoros kapák | P ≤ 15 | 96 | 93 |
P > 15 | 83 + 11 lg P | 80 + 11 lg P | |
Kézi betontörő és fejtőkalapácsok | m ≤ 15 | 107 | 105 |
15 < m < 30 | 94 + 11 lg m | 92 + 11 lg m (2) | |
m ≥ 30 | 96 + 11 lg m | 94 + 11 lg m | |
Toronydaruk | 98 + lg P | 96 + lg P | |
Hegesztő- és áramfejlesztő generátorok | Pel ≤ 2 | 97 + lg Pel | 95 + lg Pel |
2 < Pel ≤ 10 | 98 + lg Pel | 96 + lg Pel | |
Pel > 10 | 97 + lg Pel | 95 + lg Pel | |
Kompresszorok | P ≤ 15 | 99 | 97 |
P > 15 | 97 + 2 lg P | 95 + 2 lg P | |
Fűnyírók, gyepvágók/gyepszegélyvágók | L ≤ 50 | 96 | 94 (2) |
50 < L ≤ 70 | 100 | 98 | |
70 < L ≤ 120 | 100 | 98 (2) | |
L > 120 | 105 | 103 (2) | |
(1) Pel hegesztőgenerátoroknál: a szokásos hegesztőáram szorzata a szokásos hegesztőfeszültséggel a gyártó által megadott legkisebb kitöltési tényező mellett. Pel áramfejlesztő generátoroknál: primer teljesítmény az ISO 8528-1: 1993 13.3.2. pontja szerint. (2) A II. ütemre megadott adatok a következő típusú berendezések esetében csak tájékoztató jellegűek: — kézzel tolt vibrálóhengerek, — lapvibrátorok (> 3kW), — vibrációs döngölőgépek, — földtolók (acél lánctalppal), — rakodógépek (acél lánctalppal > 55 kW), — robbanómotoros, ellensúllyal ellátott emelőtargoncák, — nagy tömörítőerejű lehúzólappal felszerelt útburkolatrakó gépek, — belsőégésű motoros (robbanómotoros) kézi betontörők és fejtőkapalácsok (15 < m < 30), — fűnyírók, gyepvágók/gyepszegélyvágók. A végleges határértékeket a zajkibocsátási irányelvnek a 20. cikk (1) bekezdésében előírt jelentést követő módosítása határozza meg. Bármiféle módosítás hiányában az I. ütemre vonatkozó értékek vonatkoznak továbbra is a II. ütemre. (3) Az egymotoros mobil daruk esetében az I. ütemben megadott adatok 2008. január 3-ig érvényesek. E dátumot követően a II. ütem adatai érvényesek. A megengedett hangteljesítményszint értékeket a legközelebbi egész számra kell kerekíteni (0,5-nél kevesebb esetén az alatta lévő számra, 0,5-nél nagyobb vagy azzal egyenlő esetén a felette lévő értéket kell használni). |
13. cikk
Csak a zaj jelölésére kötelezett berendezések
Az alábbiakban felsorolt, garantált hangteljesítménnyel rendelkező berendezéseknél csak a zajszint jelölése kötelező:
- motoros jármű, platóra szerelt szerelőkosárral
Meghatározás:
I. melléklet, 1. pont. Mérés: III. melléklet, B. rész, 1. pont
- aljnövényzet-tisztítók
Meghatározás:
I. melléklet, 2. pont. Mérés: III. melléklet, B. rész, 2. pont
- építőipari teheremelők(villanymotorral)
Meghatározás:
I. melléklet, 3. pont. Mérés: III. melléklet, B. rész, 3. pont
- építőipari szalagfűrészek
Meghatározás:
I. melléklet, 4. pont. Mérés: III. melléklet, B. rész, 4. pont
- építőipari körfűrészek
Meghatározás:
I. melléklet, 5. pont. Mérés: III. melléklet, B. rész, 5. pont
- kézi láncfűrészek
Meghatározás:
I. melléklet, 6. pont. Mérés: III. melléklet, B. rész, 6. pont
- kombinált, nagynyomású mosó- és szippantó járművek
Meghatározás:
I. melléklet, 7. pont. Mérés: III. melléklet, B. rész, 7. pont
- döngölőgépek (csak a robbanó döngölők)
Meghatározás:
I. melléklet, 8. pont. Mérés: III. melléklet, B. rész, 8. pont
- beton- vagy habarcskeverők
Meghatározás:
I. melléklet, 11. pont. Mérés: III. melléklet, B. rész, 11. pont
- építőipari csörlők (villanymotorral)
Meghatározás:
I. melléklet, 12. pont. Mérés: III. melléklet, B. rész, 12. pont
- beton- és habarcsszállító és -szóró gépek
Meghatározás:
I. melléklet, 13. pont. Mérés: III. melléklet, B. rész, 13. pont
- szállítószalagok
Meghatározás:
I. melléklet, 14. pont. Mérés: III. melléklet, B. rész, 14. pont
- járműre szerelt hűtőgépek
Meghatározás:
I. melléklet, 15. pont. Mérés: III. melléklet, B. rész, 15. pont
- fúrótornyok
Meghatározás:
I. melléklet, 17. pont. Mérés: III. melléklet, B. rész, 17. pont
- teherautón levő silók vagy tartályok töltésére vagy ürítésére szolgáló berendezések
Meghatározás:
I. melléklet, 19. pont. Mérés: III. melléklet, B. rész, 19. pont
- üveggyűjtő konténerek (újrahasznosításhoz)
Meghatározás:
I. melléklet, 22. pont. Mérés: III. melléklet, B. rész, 22. pont
- fűvágók/fűszegélyvágók
Meghatározás:
I. melléklet, 24. pont. Mérés: III. melléklet, B. rész, 24. pont
- sövénynyírók
Meghatározás:
I. melléklet, 25. pont. Mérés: III. melléklet, B. rész, 25. pont
- nagynyomású mosók
Meghatározás:
I. melléklet, 26. pont. Mérés: III. melléklet, B. rész, 26. pont
- nagynyomású vízsugaras mosók
Meghatározás:
I. melléklet, 27. pont. Mérés: III. melléklet, B. rész, 27. pont
- hidraulikus fejtőkalapácsok
Meghatározás:
I. melléklet, 28. pont. Mérés: III. melléklet, B. rész, 28. pont
- beton- vagy aszfaltvágók
Meghatározás:
I. melléklet, 30. pont. Mérés: III. melléklet, B. rész, 30. pont
- levélfúvók
Meghatározás:
I. melléklet, 34. pont. Mérés: III. melléklet, B. rész, 34. pont
- levélgyűjtők
Meghatározás:
I. melléklet, 35. pont. Mérés: III. melléklet, B. rész, 35. pont
- villás emelőtargoncák, belsőégésű motorral, ellensúllyal (csak az "egyéb ellensúlyos villás emelőtargoncák", az I. melléklet 36. cikk második francia bekezdésének meghatározása szerint, amennyiben névleges kapacitásuk nem több, mint 10 tonna)
Meghatározás:
I. melléklet, 36. pont. Mérés: III. melléklet, B. rész, 36. pont
- mobil hulladékkontérek
Meghatározás:
I. melléklet, 39. pont. Mérés: III. melléklet, B. rész, 39. pont
- útburkolatrakó gépek (nagy tömörítőerejű lehúzólappal)
Meghatározás:
I. melléklet, 41. pont. Mérés: III. melléklet, B. rész, 41. pont
- cölöpverő berendezések
Meghatározás:
I. melléklet, 42. pont. Mérés: III. melléklet, B. rész, 42. pont
- csőfektetők
Meghatározás:
I. melléklet, 43. pont. Mérés: III. melléklet, B. rész, 43. pont
- lánctalpas útpályatisztítók
Meghatározás:
I. melléklet, 44. pont. Mérés: III. melléklet, B. rész, 44. pont
- áramfejlesztő generátorok (≥ 400 kW)
Meghatározás:
I. melléklet, 45. pont. Mérés: III. melléklet, B. rész, 45. pont
- motoros seprőgépek
Meghatározás:
I. melléklet, 46. pont. Mérés: III. melléklet, B. rész, 46. pont
- hulladékgyűjtő járművek
Meghatározás:
I. melléklet, 47. pont. Mérés: III. melléklet, B. rész, 47. pont
- útmaró gépek
Meghatározás:
I. melléklet, 48. pont. Mérés: III. melléklet, B. rész, 48. pont
- gyephasogató gépek
Meghatározás:
I. melléklet, 49. pont. Mérés: III. melléklet, B. rész, 49. pont
- zúzó-aprítógépek
Meghatározás:
I. melléklet, 50. pont. Mérés: III. melléklet, B. rész, 50. pont
- hómarógépek forgószerszámmal (önjáró, kivéve a feltéteket)
Meghatározás:
I. melléklet, 51. pont. Mérés: III. melléklet, B. rész, 51. pont
- szippantó járművek
Meghatározás:
I. melléklet, 52. pont. Mérés: III. melléklet, B. rész, 52. pont
- árokásók
Meghatározás:
I. melléklet, 54. pont. Mérés: III. melléklet, B. rész, 54. pont
- betonkeverő járművek
Meghatározás:
I. melléklet, 55. pont. Mérés: III. melléklet, B. rész, 55. pont
- vízszivattyúk (nem víz alatti használatra)
Meghatározás:
I. melléklet, 56. pont. Mérés: III. melléklet, B. rész, 56. pont
14. cikk
Megfelelőségértékelés
(1) A 12. cikkben említett bármely berendezés forgalomba hozatala vagy üzembe helyezése előtt a gyártó vagy közösségi illetőségű meghatalmazott képviselőjének minden berendezéstípust a következő, megfelelőségértékelési eljárások egyikének kell alávetnie:
- a gyártás belső ellenőrzése a műszaki dokumentáció értékelésével és a VI. mellékletben említett időszakos ellenőrzéssel, vagy
- minden egyes egység egyedi vizsgálata a VII. mellékletében foglaltak szerint, vagy
- a VIII. mellékletben említett teljes körű minőségbiztosítási eljárás.
(2) A 13. cikkben említett valamennyi berendezés forgalomba hozatala vagy üzembe helyezése előtt a gyártó vagy a közösségi illetőségű meghatalmazott képviselője minden berendezéstípust az V. mellékletben említett belső ellenőrzési eljárásnak vet alá.
(3) A tagállamok biztosítják, hogy indokolt kérés esetén a Bizottság és bármely más tagállam minden olyan információt megkap, amelyet a megfelelőségértékelési eljárás során használtak, és amely a berendezés típusára és különösen az V. melléklet 3. pontjában, a VI. melléklet 3. pontjában, a VII. melléklet 2. pontjában és a VIII. melléklet 3.1. és 3.3. pontjában megadott dokumentumokra vonatkozik.
15. cikk
Kijelölt szervek
(1) A tagállamok saját hatáskörükben neveznek ki szerveket a 14. cikk (1) bekezdésében említett megfelelőségértékelési eljárás végrehajtására és felügyeletére.
(2) A tagállamok csak olyan szerveket neveznek ki, amelyek megfelelnek a IX. mellékletben meghatározott feltételeknek. Az a tény, hogy egy szerv megfelel az irányelv IX. mellékletében meghatározott feltételeknek, nem jelenti azt, hogy egy tagállam köteles kinevezni azt a szervet.
(3) Minden tagállam bejelentést tesz a Bizottságnak és a többi tagállamnak azokról a szervekről, amelyeket kinevezett, azokkal a konkrét feladatokkal és vizsgálati eljárásokkal együtt, amelyek végrehajtására kinevezte őket, valamint a Bizottság által előzetesen kijelölt azonosító számokról.
(4) A Bizottság az Európai Közösségek Hivatalos Lapjában közzéteszi az ellenőrző szervek jegyzékét ezek azonosító számával és azokkal a feladatokkal együtt, amelyekre kinevezték őket. A Bizottság gondoskodik a lista naprakészen tartásáról.
(5) Egy tagállamnak vissza kell vonnia kinevezését, ha azt tapasztalja, hogy a szerv már nem felel meg a IX. mellékletben említett követelményeknek. Erről haladéktalanul értesíti a Bizottságot és a többi tagállamot.
16. cikk
A zajra vonatkozó adatok összegyűjtése
(1) A tagállamok minden szükséges intézkedést megtesznek annak érdekében, hogy biztosítsák, hogy a gyártó vagy a Közösségben letelepedett meghatalmazott képviselője a 2. cikk (1) bekezdésében említett minden berendezésre vonatkozóan elküldjön egy másolatot a berendezés EK megfelelőségi nyilatkozatáról a Bizottságnak, és azon tagállamok felelős hatósága részére, ahol az honos vagy ahol a 2. cikk (1) bekezdésében említett berendezést forgalomba hozzák vagy üzembe helyezik.
(2) A Bizottság összegyűjti az (1) bekezdéssel összhangban rendelkezésére bocsátott információkat minden berendezésre.
(3) A tagállamok - amennyiben kérik - megkapják az összegyűjtött adatokat a Bizottságtól.
(4) A Bizottság meghatározott időszakonként, lehetőleg évenként hozza nyilvánosságra a releváns információkat. Ezek a berendezés minden egyes típusára vagy mintájára vonatkozóan legalább a következő információkat tartalmazzák:
- a nettó névleges teljesítményt vagy bármely más, zajjal kapcsolatos értéket,
- a mért hangteljesítményszintet,
- a garantált hangteljesítményszintet,
- a berendezés leírását,
- a gyártó nevét és/vagy a védjegy megnevezését,
- a típus számát/nevét.
17. cikk
A használat szabályozása
Az irányelv rendelkezései nem akadályozhatják meg a tagállamokat azon joguk gyakorlásában, hogy a Szerződés megfelelő figyelembevételével meghatározzanak:
- intézkedéseket azért, hogy szabályozzák a 2. cikk (1) bekezdésében említett berendezések használatát olyan területeken, amelyeket érzékenynek tekintenek, beleértve a berendezés munkaóráinak korlátozását,
- olyan követelményeket, amelyeket szükségesnek tekintenek annak biztosítására, hogy a személyek védve legyenek a kérdéses berendezés használatakor, feltéve hogy ez nem jelenti a berendezés olyan módosítását, ami miatt a berendezésre ezen irányelv előírásai nem vonatkoztathatók.
18. cikk
Bizottság
(1) A Bizottságot egy bizottság segíti.
18a. cikk
A III. melléklet módosításai
A Bizottság felhatalmazást kap arra, hogy a 18b. cikknek megfelelően felhatalmazáson alapuló jogi aktusokat fogadjon el abból a célból, hogy a műszaki fejlődés szerinti kiigazítás érdekében módosítsa a III. mellékletet. Ezek a felhatalmazáson alapuló jogi aktusok nem gyakorolhatnak semmiféle közvetlen hatást a 12. cikkben felsorolt berendezések mért hangteljesítményszintjére, különösen a vonatkozó európai szabványokra való hivatkozások beemelésén keresztül.
18b. cikk
A felhatalmazás gyakorlása
(1) A felhatalmazáson alapuló jogi aktusok elfogadására vonatkozóan a Bizottság részére adott felhatalmazás feltételeit ez a cikk határozza meg.
(2) A Bizottságnak a 18a. cikkben említett, felhatalmazáson alapuló jogi aktusok elfogadására vonatkozó felhatalmazása ötéves időtartamra szól 2019. július 26-tól kezdődő hatállyal. A Bizottság legkésőbb kilenc hónappal az ötéves időtartam letelte előtt jelentést készít a felhatalmazásról. A felhatalmazás hallgatólagosan meghosszabbodik a korábbival megegyező időtartamra, amennyiben az Európai Parlament vagy a Tanács nem ellenzi a meghosszabbítást legkésőbb három hónappal minden egyes időtartam letelte előtt.
(3) Az Európai Parlament vagy a Tanács bármikor visszavonhatja a 18a. cikkben említett felhatalmazást. A visszavonásról szóló határozat megszünteti az abban meghatározott felhatalmazást. A határozat az Európai Unió Hivatalos Lapjában való kihirdetését követő napon, vagy a benne megjelölt későbbi időpontban lép hatályba. A határozat nem érinti a már hatályban lévő, felhatalmazáson alapuló jogi aktusok érvényességét.
(4) A felhatalmazáson alapuló jogi aktus elfogadása előtt a Bizottság a jogalkotás minőségének javításáról szóló, 2016. április 13-i intézményközi megállapodásban ( 2 ) foglalt elveknek megfelelően konzultál az egyes tagállamok által kijelölt szakértőkkel.
(5) A Bizottság a felhatalmazáson alapuló jogi aktus elfogadását követően haladéktalanul és egyidejűleg értesíti arról az Európai Parlamentet és a Tanácsot.
(6) A 18a. cikk értelmében elfogadott, felhatalmazáson alapuló jogi aktus csak akkor lép hatályba, ha az Európai Parlamentnek és a Tanácsnak a jogi aktusról való értesítését követő két hónapon belül sem az Európai Parlament, sem a Tanács nem emelt ellene kifogást, illetve ha az említett időtartam lejártát megelőzően mind az Európai Parlament, mind a Tanács arról tájékoztatta a Bizottságot, hogy nem fog kifogást emelni. Az Európai Parlament vagy a Tanács kezdeményezésére ez az időtartam két hónappal meghosszabbodik.
19. cikk
A bizottság hatásköre
A bizottság:
a) az irányelv gyakorlati alkalmazásával és végrehajtásával kapcsolatos információ- és tapasztalatcserét folytat és megvitatja a közös érdekekkel kapcsolatban felmerülő ügyeket;
c) tanácsot ad a Bizottságnak a 20. cikk (2) bekezdésében említett következtetésekre és módosításokra vonatkozóan.
20. cikk
Jelentés
(1) A Bizottság 2007. január 3-nál nem később és azt követően minden negyedik évben jelentést nyújt be az Európai Parlamentnek és a Tanácsnak a Bizottság tapasztalatairól az irányelv végrehajtásával és adminisztrációjával kapcsolatban. A jelentés elsősorban a következőket tartalmazza:
b) a 12. és 13. cikkben található lista felülvizsgálatának szükségességéről szóló állásfoglalás, különösen arról, hogy az új berendezéseket be kell-e venni a 12 cikkbe vagy a 13. cikkbe avagy a berendezéseket át kell-e tenni a 13. cikkből a 12. cikkbe;
c) a 12. cikkben meghatározott határértékek felülvizsgálatának szükségességéről szóló állásfoglalás a műszaki fejlődésre való tekintettel;
d) a berendezések által kibocsátott zaj további csökkentésében használandó eszközök teljes tartományának megállapításáról szóló állásfoglalás.
(2) Miután minden szükséges konzultációt megtartott, különösen a bizottsággal, a Bizottság ebből az alkalomból beterjeszti következtetéseit, és amennyiben helyénvaló, az irányelv módosítását.
21. cikk
Hatályon kívül helyezés
(1) A 79/113/EGK, 84/532/EGK, 84/533/EGK, 84/534/EGK, 84/535/EGK, 84/536/EGK, 84/537/EGK, 84/538/EGK és 86/662/EGK irányelv 2002. január 3-ától hatályát veszti.
(2) A kiadott típusvizsgálati bizonyítványok és az (1) bekezdésben említett irányelvek értelmében végrehajtott berendezésvizsgálatok felhasználhatók az irányelv V. mellékletének 3. pontjában, VI. mellékletének 3. pontjában, VII. mellékletének 2. pontjában és VIII. mellékletének 3.1. és 3.3. pontjában megadott műszaki dokumentáció elkészítésében.
22. cikk
Átültetés és az alkalmazás kezdete
(1) A tagállamok elfogadják és kihirdetik azokat a törvényi, rendeleti és közigazgatási rendelkezéseket, amelyek szükségesek ahhoz, hogy ennek az irányelvnek 2001. július 3-nál nem később megfeleljenek. Erről haladéktalanul tájékoztatják a Bizottságot.
(2) A tagállamok 2002. január 3-ától alkalmazzák ezeket a hatályos rendelkezéseket. Ugyanakkor a tagállamok lehetővé teszik a gyártó vagy annak közösségi illetőségű meghatalmazott képviselője számára azt, hogy 2001. július 3-ától alkalmazzák az irányelv rendelkezéseit.
(3) A 12. cikkben említett II. fokozatba tartozó, csökkentett megengedhető hangteljesítményekre e rendelkezéseket 2006. január 3-i hatállyal alkalmazzák.
(4) Amikor a tagállamok elfogadják ezeket a rendelkezéseket, azokban hivatkozni kell erre az irányelvre, vagy azokhoz hivatalos kihirdetésük alkalmával ilyen hivatkozást kell csatolni. Az ilyen hivatkozás módját a tagállamok határozzák meg.
(5) A tagállamok közlik a Bizottsággal nemzeti joguknak azokat a rendelkezéseit, amelyeket az irányelv által szabályozott területen fogadtak el.
23. cikk
Hatálybalépés
Ez az irányelv az Európai Közösségek Hivatalos Lapjában való kihirdetésének napján lép hatályba.
24. cikk
Az irányelv címzettjei
Ennek az irányelvnek a tagállamok a címzettjei.
I. MELLÉKLET
A BERENDEZÉSEK MEGHATÁROZÁSA
1. Motoros jármű, platóra szerelt Szerelőkosárral
Olyan berendezések, amelyek minimálisan egy szerelőpódiummal, egy kinyúló emelőszerkezettel és egy járműalvázzal rendelkeznek. A szerelőpódiumot korlát vagy rács szegélyezi, ami megrakva a szükséges helyzetbe mozgatható. A kinyúló emelőszerkezet a járműalvázhoz van csatlakoztatva és a szerelőpódiumot tartja: lehetővé teszi a szerelőpódium szükséges helyzetbe történő mozgatását.
2. Aljnövényzet-tisztító
Egy belsőégésű motoros, hordozható, kézben tartott berendezés fémből vagy műanyagból készült forgó késsel gazok, bokrok, kis fák és hasonló növényzet vágására. A vágóeszköz síkban mozog, közel párhuzamosan a talajjal.
3. Építőipari teheremelő
Gépi meghajtású, ideiglenesen telepíthető építőipari felvonó, olyan személyek általi használatra, akiknek engedélye van a gépészeti és építési területre való belépéshez, az alábbi szolgáltatások érdekében:
i. meghatározott rakodószintekkel, rakodólappal;
- csak teherszállításra lett kialakítva,
- lehetővé teszik személyek rájárását a berakodás és kirakodás során,
- lehetővé teszik erre felhatalmazott személyek rálépését és utazását a felállítás, szétszerelés és karbantartás során,
- kézi vezérlésű,
- függőlegesen vagy a függőlegestől max. 15o-on belüli pályán mozog,
- alátámasztott vagy függesztett (drótkötélen, kötélen, láncon, csavaranyás orsón, fogasléc és fogaskerék, (közvetlen vagy közvetett) hidraulikus kocsiemelőn, vagy táguló rudazat támasztja alá),
- amelynél az árbochoz szükség van/nincs szükség külön szerkezet általi megtámasztásra, vagy
ii. egy felső pódiummal vagy a vezeték felső végéig (pl. a tetőig) felemelhető munkafelülettel rendelkezik, amely el van látva teherszállító eszközzel, és:
- csak teherszállításra lett kialakítva,
- úgy van tervezve, hogy be- és kirakodáskor avagy karbantartáskor, illetve felállítás és leszereléshez nem kell rálépni,
- amelyről a személyek minden időszakban ki vannak tiltva,
- kézi vezérlésű,
- a tervezés szerint a függőlegestől legalább 30o-os szögben hajló pályán történő mozgásra tervezték, de az ettől eltérő bármilyen szögben használható,
- acél drótkötél tartja, és pozitív hajtás működteti,
- állandó nyomású nyomáskapcsoló vezérli,
- nincs ellensúlya,
- maximális névleges terhelése 300 kg,
- maximális sebessége 1 m/s,
- és a vezetékeit külön szerkezet támasztja alá.
4. Építőipari szalagfűrész
Kézi előtolású, gépi meghajtású, 200 kg-nál kisebb súlyú gép, amelynek egyélű fűrészpengéje végtelenített szalag alakú és két vagy több tárcsa között fut.
5. Építőipari körfűrész
Kézi előtolású, 200 kg-nál kisebb súlyú gép, egyetlen kör alakú (hornyolófűrészen kívüli) fűrészlemezzel felszerelve, 350 mm vagy nagyobb átmérővel, maximálisan 500 mm átmérőig, amely rögzítve van a normál vágási működés során, valamint egy vízszintes asztal, amelynek minden része/vagy egy része rögzítve van a normál működés során. A fűrészlemez egy vízszintes, nem billenő vízszintes orsóra van szerelve, amelynek a helyzete a működés során mozdulatlan. A gép a következő jellemzők bármelyikével rendelkezhet:
- az asztalon keresztül emelhető és süllyeszthető a fűrészlemez tartója,
- az asztal alatti gép kerete nyitott vagy zárt,
- a fűrész egy további, kézi működtetésű mozgó asztalhoz (nincs közel a fűrészhez) illeszthető.
6. Kézi láncfűrész
Gépi meghajtású berendezés, amelyet fa láncfűrésszel történő vágására terveztek, és amely fogantyúk, motor és vágófeltét közös egységéből áll, és amelyet arra terveztek, hogy két kézzel tartsák.
7. Kombinált, nagynyomású öntöző és szippantó jármű
Olyan jármű, ami nagynyomású mosóként vagy szippantó járműként is működhet.
8. Döngölőgép
Olyan gép, ami anyagokat tömörít, pl. kőtörmeléket, földet vagy aszfaltot simít hengerléssel, döngöléssel vagy vibráló mozgásával. Lehet önjáró, vontatott, tolt vagy traktorra szerelt. A döngölőgépek az alábbi alosztályokra oszthatók:
- hengerek, amin a kezelő rajta utazik: önjáró tömörítőgépek egy vagy több fémhengerrel (fémdobbal) vagy gumikerekekkel; a kezelőfülke a gép integráns része,
- tolt henger: önjáró tömörítőgépek egy vagy több fémhengerrel (fémdobbal) vagy gumikerekekkel, amelyeknél a haladó a mozgatáshoz, kormányzáshoz, fékezéshez és vibráltatáshoz szükséges kezelőszervek úgy vannak elhelyezve, hogy a gépet egy kezelőszemélynek kell kezelni vagy távirányítással kell működtetni,
- vontatott henger: egy vagy több fémhengerrel (fémdobbal) vagy gumikerekekkel felszerelt tömörítő gépek, amelyeknek nincs önálló meghajtórendszerük, és amelyeknél a kezelőszemély fülkéje a vontatón található,
- lapvibrátorok és vibrációs döngölők: amelyek rendszerint lapos, rezgő alaplemezzel vannak ellátva. Kezelőszemély működteti őket vagy egy hordozó gép tartozékaként működnek,
- robbanó döngölők, tömörítő gépek, melyek rendszerint lapos alaplemezzel vannak ellátva, amelyeket arra készítettek, hogy a robbanás biztosította nyomás révén főleg függőleges irányban mozogjanak. A gépet kezelőszemély működteti.
9. Kompresszor
Bármely olyan cserélhető szerszámokkal használható gép, amely levegőt, gázokat vagy gőzöket a szívónyomásnál magasabb nyomásra sűrít. Egy kompresszor magából a sűrítőegységből, az erőgépből és bármely olyan kiegészítő tartozékból vagy eszközből áll, ami a kompresszor biztonságos működéséhez szükséges.
Ebbe a fogalomba nem tartoznak a következők:
- ventilátorok, vagyis olyan berendezések, amelyek 110 000 pascal-nál nem magasabb pozitív nyomáson biztosítanak levegőcirkulációt,
- vákuumszivattyúk, vagyis olyan berendezések vagy eszközök, amelyek a légköri nyomásnál nem magasabb nyomáson szívnak ki levegőt egy zárt térből,
- gázturbinás motorok.
10. Kézi betontörő és törőkalapács
Gépi meghajtású (bármilyen típusú) betontörők és fejtőkalapácsok, amelyeket mélyépítéseknél vagy építkezéseken használnak.
11. Beton- vagy habarcskeverő
Olyan gép, amely betont vagy habarcsot készít függetlenül a töltési, keverési és ürítési folyamattól. Szakaszosan vagy folyamatosan működhet. A teherautókon lévő betonkeverőket betonkeverős autóknak hívjuk (lásd az 55. meghatározást).
12. Építőipari csörlő
Gépi meghajtású, ideiglenesen felállított emelőberendezés, amely a felfüggesztett teher emelésére és süllyesztésére szolgáló eszközökkel van ellátva.
13. Beton- és habarcsszállító és -szóró berendezés
Olyan berendezés, amely keverővel vagy anélkül betont vagy habarcsot szivattyúz és szór, miáltal a szállítandó anyagot annak felhasználási helyére szállítja csővezetéken, elosztóberendezéseken vagy elosztógémeken keresztül. A szállítás a következőképpen történik:
- beton esetében mechanikusan, dugattyús- vagy forgószivattyúkkal,
- habarcs esetében mechanikusan dugattyús-, csigás-, tömlős- vagy forgószivattyúkkal, avagy pneumatikusan légkamrás vagy légkamra nélküli kompresszorokkal.
E berendezések felszerelhetők teherautókra, pótkocsikra vagy speciális járművekre is.
14. Szállítószalag
Ideiglenesen telepített berendezés, amely anyagok gépi meghajtású szalagon történő szállítására alkalmas.
15. Járműre szerelt hűtőgép
A 70/156/EGK-ban kijelölt N2, N3, O3 és O4 kategóriájú járművekre telepített, raktéri mélyhűtő berendezés.
A hűtőgép meghajtása lehet a hűtőegység integráns része, lehet külön rész, amely a járműtesthez van kapcsolva, lehet a jármű meghajtómotorja avagy független, vagy tartalék erőforrás.
16. Földtoló
Önjáró vagy traktor vontatta gép, amelyet a rászerelt eszközzel nyomó- vagy húzóerő kifejtésére használnak.
17. Fúróberendezés
Olyan gépi berendezés, amelyet lyukak fúrására használnak építési területeken
- ütvefúrással,
- forgó (rotációs) fúrással,
- forgó- és ütvefúrással.
A fúróberendezések nem mozognak a fúrás során. Saját erőforrásukkal átvihetők egyik helyről a másikra. Az önjáró fúróberendezések közé tartoznak azok, amelyek teherautókra, kerekes alvázakra, traktorokra, lánctalpas vontatókra, csörlővel húzott szánokra vannak szerelve. Ha a fúróberendezés teherautóra, traktorra és trélerre van szerelve vagy kerékkel van ellátva, akkor szállítása nagyobb sebességgel és közúton is történhet.
18. Dömper
Kerekes vagy lánctalpas, önjáró nyitott gépek, amelyek anyagokat szállítanak, billentenek vagy terítenek szét. A dömperek el lehetnek látva önrakodó berendezéssel.
19. Teherautókon lévő silók vagy tartályok betöltésére vagy ürítésére szolgáló berendezés
Gépi meghajtású berendezés, amely silóval vagy tartállyal ellátott teherautóhoz van csatlakoztatva, folyadékok vagy ömlesztett anyagok szivattyúval vagy hasonló eszközzel történő betöltésére és ürítésére.
20. Hidraulikus vagy köteles kotró
Önjáró lánctalpas vagy kerekes gép olyan felső szerkezettel, amely képes arra, hogy legalább 360o - os szögben elforduljon, és amely gémhez és karhoz, vagy teleszkópos gémhez illesztett markolókanál mozgatásával kotorja, elfordítja és rakodja az anyagot anélkül, hogy az alváz vagy az alsó szállítóeszköz mozogna a berendezés egy ciklusa során.
21. Kotró-rakodó
Önjáró, kerekes vagy lánctalpas gép, amelynek fő tartószerkezete úgy van tervezve, hogy mind egy előre szerelt markolókanalas rakodómechanizmust, mind pedig egy hátulra szerelt kotrókanalat tudjon hordozni. Amikor a hátsó kotrókanalat használja, a berendezés normál körülmények között a talajszint alá ás le a markolókanálnak a gép irányába történő mozgatásával. A kotrókanál felemeli, elfordítja és kiönti az anyagot, miközben a berendezés nem mozog. Amikor rakodó üzemmódban használják, a berendezés a gép előrehaladásával tölti és kotorja az anyagot, majd felemeli, elszállítja és kiönti.
22. Üveggyűjtő konténer
Olyan konténer - bármilyen anyagból készülhet -, amelyet üvegpalackok gyűjtésére használnak. Legalább egy nyílással el van látva az üvegpalackok betöltéséhez és egy másikkal a konténer ürítéséhez.
23. Földgyalu (gréder)
Önjáró kerekes jármű, amely állítható vágóéllel rendelkezik, amely az első és a hátsó tengely közé van pozícionálva, és amely vágja, mozgatja és szétteríti az anyagot a szintezési követelményeknek megfelelően.
24. Fűvágó/fűszegélyvágó
Olyan belsőégésű motor által hajtott, hordozható, kézben tartott berendezés, amely hajlékony zsinórral, húr(ok)kal vagy hasonló, nem fémes anyagokkal csatlakoztatott rugalmas vágóelem, mint például csap körül forgó vágókés, és amely gaz, fű vagy hasonlóan lágy növényzet vágására készült. A vágóeszköz síkban mozog, a talajjal közel párhuzamosan (fűvágó) vagy merőlegesen (fűszegélyvágó).
25. Sövénynyíró
Kézben tartott, egyben meghajtott, gépi meghajtású berendezés, amelyet kezelőszemély általi használatra, sövények és bokrok vágására terveztek, amely egy vagy több egyenes irányú alternáló mozgást végző vágóélet használ.
26. Nagynyomású mosó
Olyan jármű, amely csatornák vagy hasonló létesítmények tisztításához egy nagynyomású vízsugarat biztosító berendezéssel van felszerelve. Ez a berendezés lehet egy megfelelő teherautó saját alvázára szerelt vagy saját alvázszerkezetére erősített. A berendezés lehet rögzített vagy leszerelhető, mint egy cserélhető karosszéria-rendszer.
27. Nagynyomású vízsugaras mosó
Fúvókákkal vagy más sebességfokozó nyílásokkal ellátott gép, amely lehetővé teszi, hogy víz, valamint a hozzákevert adalékanyag szabad vízsugárként lövelljen ki. Általában olyan nagynyomású vízsugaras berendezés, amely meghajtógépből, kompresszorból, tömlőkből, permetezőfejekből, biztonsági mechanizmusból, szabályozókból és mérőberendezésekből áll. A nagynyomású vízsugaras berendezések mobil vagy álló típusúak lehetnek:
- A mobil nagynyomású vízsugaras gépek mozgó, könnyen szállítható berendezések, amelyek úgy vannak tervezve, hogy különböző helyeken legyenek használhatók és ebből a célból általában saját alvázukhoz vannak illesztve vagy járműre vannak szerelve. Minden szükséges tápvezeték flexibilis és könnyen szétkapcsolható.
- Az álló nagynyomású vízsugaras gépek egy munkahelyen hosszabb ideig tartó használatra vannak tervezve, de alkalmasak arra, hogy a megfelelő berendezéssel együtt átszállítsák őket egy másik területre. Általában csúszótalpas vagy keretre szerelt berendezések oldható tápvezetékkel.
28. Hidraulikus fejtőkalapács
Olyan berendezés, amely a szállítójármű hidraulikus erőforrását használja fel egy dugattyú (néha gázzal rásegített) felgyorsítására, ami azután egy szerszámot üt. A kinetikus mozgás által keltett nyomáshullám a szerszámról átjut az anyagba, ami az anyag törését okozza. A hidraulikus kalapácsok működéséhez sűrített olajra van szükség. Az egész szállítójármű/fejtőkalapács egységet egyetlen kezelőszemély szabályozza, aki rendszerint a szállítójármű kabinjában ül.
29. Hidraulikus nyomásfokozó
Bármely gép, amely olyan cserélhető berendezést használ, amely folyadékokat a bemenő nyomásnál magasabb nyomásra sűrít. Ez olyan együttest jelent, amely meghajtógépből, szivattyúból (tartállyal vagy anélkül) és segédeszközökből (szabályozók, nyomáscsökkentő szelep) áll.
30. Beton- vagy aszfaltvágó
Mobil gép, amely beton, aszfalt és hasonló útfelületi rétegek kötését készíti elő. A vágószerszám egy forgó, nagysebességű tárcsa. A gép előremozgatása történhet
- kézzel,
- kézzel irányított gépi hajtással,
- géppel hajtva.
31. Hulladéktömörítő homlokrakodó
Önjáró, kerekes tömörítőgép előre szerelt rakodókanállal, acél kerekekkel (hengerekkel), amelyet elsődlegesen talaj, földtöltés vagy hulladékok tömörítésére, mozgatására, egyengetésére és rakodására terveztek.
32. Fűnyíró
Kézzel tolható vagy vezetőülőkés fűnyírógép avagy fűnyíró feltét(ek)el felszerelt gép, amelynél a vágóberendezés a talajjal közel párhuzamos síkban mozog és amely a talajszintet használja fel a vágási magasság meghatározására kerekek, légpárna vagy csúszótalpak stb. segítségével és amely benzinmotort vagy elektromos motort használ erőforrásként. A vágószerszámok vagy
- merev vágókések, vagy
- nemfémes szál(ak) vagy szabadon forgó nemfémes vágókés(ek), egyenként több mint 10 J mozgási energiával; a kinetikus energia az EN 786: 1997, B. melléklet alapján van meghatározva.
Ugyancsak ide tartozik az a kézzel tolható vagy ülőkés fűnyírógép avagy fűnyíró feltét(ek)el felszerelt gép, amelynél a vágószerszám vízszintes tengely körül forog nyírómozgást biztosítva, rögzített vágórúdon avagy kés (hengeres fűnyírógép).
33. Gyepvágó/gyepszegélyvágó
Elektromos meghajtású, kézzel tolható vagy kézben tartott fűnyírógép nemfémes szálú vágóelemmel(ekkel) vagy szabadon forgó nemfémes vágókésekkel, amelyek mozgási energiája egyenként nem nagyobb, mint 10 J és amelyet fű vagy hasonló lágy növényzet vágására szántak. A vágóelem(ek) a talajjal nagyjából párhuzamos síkban (gyepvágó) vagy merőleges síkban (gyepszegélyvágó) mozognak. A mozgási energia az EN 786: 1997, B. melléklet alapján van meghatározva.
34. Levélfúvó
Gépi meghajtású berendezés, amely pázsitok, ösvények, utak, utcák stb. leveleinek vagy más anyagok feltisztítására alkalmas, nagysebességű légáram segítségével. Lehet hordozható (kézi) vagy nem hordozható, de mozgatható.
35. Levélgyűjtő
Gépi meghajtású berendezés, amely levelek és törmelék összegyűjtésére alkalmas egy szívóeszköz felhasználásával; olyan erőforrást tartalmaz, amely a berendezésben vákuumot kelt, valamint egy szívócsonkot és egy tartályt az összegyűjtött anyag számára. Lehet hordozható (kézben tartott) vagy nem hordozható, de mozgatható.
36. Villás emelőtargonca belsőégésű motorhajtással, ellensúllyal
Kerekes, belsőégésű motorral hajtott villás emelőtargonca ellensúllyal és emelőberendezéssel (árbócos, teleszkópos karú vagy csuklósan mozgatott karú). Ezek a következők:
- tehergépkocsi durva terepre (kerekes, ellensúllyal ellátott targoncák elsődlegesen nem megmunkált, természetes terepre és felbolygatott terepre (pl. építési területekre),
- egyéb ellensúllyal ellátott emelőtargoncák, kivéve azokat az ellensúllyal ellátott villás targoncákat, amelyek kifejezetten konténerek rakodására vannak összeállítva.
37. Rakodógép
Önjáró, kerekes vagy lánctalpas gépek, a homlokoldalára szerelt markolókanál-tartó szerkezettel és bekötéssel, amely a gép előremozgása révén rakodik vagy végez kotrást, valamint felemeli, szállítja és kiönti az anyagot.
38. Mobil daru
Önjáró, gémmel felszerelt, terhelt vagy terheletlen daru, amely képes haladó mozgást végezni rögzített pályák nélkül és stabilitása a gravitáción nyugszik. Gumikerekeken, lánctalpakon vagy más mozgó szerkezeteken közlekedik. Álló helyzetben stabilizálótámaszokkal vagy más kellékekkel meg lehet támasztani, amelyek növelik stabilitását. Egy mobil daru felső szerkezete lehet teljes körben elforduló típus, korlátozott mértékben elforduló vagy nem forgó. Normál esetben fel van szerelve egy vagy több felvonószerkezettel és/vagy hidraulikus hengerekkel a kinyúló kar és a teher emeléséhez és süllyesztéséhez. A mobil daruk teleszkópos kinyúló karral vagy csuklósan mozgatott kinyúló karral, vagy rácsos kinyúló karral vagy ezek kombinációival vannak felszerelve, melyek úgy vannak tervezve, hogy könnyen leengedhetők legyenek. A kinyúló karon függő teher horoggal blokkolt szerkezettel vagy speciális feladatok esetén más teheremelő tartozékkal fogható meg.
39. Mozgatható hulladékkonténer
Megfelelően tervezett, kerekekre szerelt, tetővel ellátott konténer hulladékok ideiglenes tárolására.
40. Motoros kapa
Önjáró gép, amely úgy van tervezve, hogy a mögötte haladó gyalogos személy irányítsa
- tartókerék(ek)kel vagy anélkül úgy, hogy mozgó elemei kapaként működnek és biztosítják az előrehaladást (motoros kapa), és
- egy vagy több kerék által meghajtott, a motorról közvetlenül működtetett és kapáló szerszámokkal felszerelt berendezés (hajtott kerekes motoros kapa).
41. Útburkolatrakó gép
Mobil útépítő gép, amelyet építőanyag-rétegek, mint például bitumenes keverék, beton és sóder útfelületeken való terítésére használnak. Az útburkolat-rakó gépek fel lehetnek szerelve nagy tömörítőerejű lehúzólappal.
42. Cölöpverő berendezés
Cölöpleverő- és cölöpkihúzó berendezések, vagyis ütőkalapácsból, kihúzó berendezésből, vibrátorból vagy statikus cölöpverő/kihúzó eszközből álló gépek és részegységek együttesei, amelyeket cölöpök leverésére vagy kihúzására használnak, és amelyekhez még a következők is hozzátartoznak:
- cölöpverő gép hordozó járművel (lánctalpas vagy sínen mozgó, szabadon mozgó vezetőrendszer, vezeték vagy vezérlőrendszer)
- kellékek, például cölöpsapkák, befogógyűrűk, lemezek, vezérelt elemek, rögzítőelemek, cölöpmegfogó eszközök, cölöp megvezetők, akusztikus védőburolatok és rázkódás/vibráció elnyelő berendezések, tápegységek/generátorok és személyemelő berendezések vagy pódiumok.
43. Csőfektetőgép
Önjáró lánctalpas vagy kerekes gép, amely kifejezetten csövek szállítására, kezelésére és fektetésére, valamint csővezeték-építő berendezések hordozására van tervezve. A gép, amelynek konstrukciója traktorra van alapozva, speciálisan tervezett részegységekkel rendelkezik, mint például alváz, főkeret, ellensúly, gém és teherfelvonó szerkezet, valamint függőlegesen billenthető oldalgém.
44. Lánctalpas útpályatisztító
Önjáró lánctalpas gép, amely nyomó- vagy húzóerőt fejt ki hóra és jégre egy rászerelt berendezésen keresztül.
45. Áramfejlesztő generátor
Bármely készülék, amely egy forgó elektromos generátort meghajtó belsőégésű motort tartalmaz, és amely folyamatos elektromos áramellátást biztosít.
46. Motoros seprőgép
Seprő-gyűjtő egységből álló berendezés a törmelék szívócsőbe söprésére, hogy aztán azt pneumatikusan, nagysebességű légáram vagy mechanikus felszedőrendszer segítségével egy gyűjtő garatba továbbítsa. A seprő és gyűjtő egységek vagy saját teherautó alvázra vannak szerelve, vagy be vannak ágyazva az alvázra épített járműtestbe. A berendezés lehet rögzített vagy cserélhető szerszámrendszer leszerelhető része.
47. Hulladékgyűjtő jármű
Olyan jármű, amelyet háztartási és ömlesztett hulladék gyűjtésére és szállítására terveztek konténeres vagy kézi töltéssel. A jármű felszerelhető tömörítő mechanizmussal. A hulladékgyűjtő járműnek vezetőfülkés alváza van, amelyre a karosszéria rögzítve van. Konténeremelő szerkezet is lehet rászerelve.
48. Útmaró gép
Mobil gép, amelyet aszfaltburkolatú útfelületek anyagának felszedésére használnak, amelyhez a gép egy hengeres testet alkalmaz, amelynek felületére marószerszámokat szerelnek fel; a vágószerszámmal felszerelt dobok forognak a vágási művelet alatt.
49. Gyephasogató gép
Gyalogos kezelésű vagy kezelőüléssel ellátott motoros gép, amely a talajszintet használja a vágás mélységének meghatározására, és amelyre egy olyan berendezés van felszerelve, amely alkalmas a kertekben, parkokban és más hasonló területeken lévő gyep felhasítására vagy felmarására.
50. Aprító/vágó gép
Motoros gép, amelyet álló helyzetben való használatra terveztek, és amely egy vagy több vágóeszközzel rendelkezik arra, hogy ömlesztett szerves anyagokat kisebb darabokra aprítson. Általában tartalmaz egy adagoló bemeneti nyílást, amelyen keresztül az anyagot (amelyet egy készülék tart vagy nem tart) bejuttatják a berendezésbe, egy olyan eszközt, amely bármilyen módszerrel (vágással, aprítással, darálással vagy más módszerekkel) felvágja az anyagot és egy kibocsátó csúszdát, amelyen keresztül a vágott anyag kikerül a berendezésből. A csúszdához gyűjtőtartály csatlakoztatható.
51. Hómarók forgószerszámmal
Olyan gép, amellyel a hó eltávolítható a közlekedési területekről forgó eszközök segítségével, amelyet aztán fúvóberendezés gyorsít fel és lövell ki.
52. Szippantó jármű
Jármű, amelyre olyan berendezés van felszerelve, amely vákuum segítségével összegyűjti a vizet, zagyot, iszapot, hulladékot vagy hasonló anyagokat a csatornákból vagy hasonló létesítményekből. A berendezés rá lehet szerelve a jármű saját alvázára, vagy be lehet építve a jármű saját testébe. A berendezés lehet rögzített, vagy lehet egy cserélhető szerszámrendszer leszerelhető része.
53. Toronydaru
Forgógémes daru, amelynek kinyúló karja egy torony tetején van elhelyezve, amely hozzávetőlegesen függőlegesen áll munkahelyzetben. Erre az erőgéppel hajtott berendezésre rá vannak szerelve a függesztett teher emelésére és leengedésére, valamint az ilyen teher mozgatására szolgáló eszközök a teheremelés sugarának változtatása, billentés vagy a teljes berendezés mozgatása révén. Egyes berendezések számos, de nem szükségszerűen valamennyi mozgást képesek elvégezni. A berendezést fel lehet állítani rögzített pozícióban, avagy rá lehet szerelni szállítóeszközökre vagy emelőeszközökre.
54. Árokásó
Önjáró, rajtaülő vagy gyalogos kezelő által vezérelt, lánctalpas vagy kerekes jármű előre vagy hátra szerelt kotrógéppel és tartozékokkal, amelyet elsődlegesen árkok ásására terveztek. A művelet alatt a gép folyamatosan halad.
55. Betonkeverő jármű
Dobbal felszerelt jármű készre kevert beton szállítására a betonkeverő üzemből a munkaterületre; a dob foroghat, miközben a jármű halad vagy áll. A dobot a munkaterületen ürítik ki annak forgatásával. A dobot vagy a jármű saját hajtómotorja, vagy egy külön segédmotor hajtja.
56. Vízszivattyú
Olyan gép, amely magából a vízszivattyúból és meghajtórendszerből áll. A vízszivattyú olyan gépet jelent, amely a vizet alacsonyabb energiaszintről magasabb energiaszintre emeli.
57. Hegesztő generátor
Minden olyan forgórészes gép, amely hegesztőáramot állít elő.
II. MELLÉKLET
EK MEGFELELŐSÉGI NYILATKOZAT
Az ek megfelelöségi nyilatkozatnak a következö adatokat kell tartalmaznia:
- a gyártó vagy a Közösségben letelepedett meghatalmazott képviselőjének neve és címe;
- a műszaki dokumentációt őrző személy neve és címe,
- a berendezés leírása,
- a követett megfelelés megállapítási eljárás, és ahol szükséges, az ebbe bevont, értesítendő testület neve és címe,
- a típust reprezentáló berendezésen mért hangteljesítmény,
- a berendezésre garantált hangteljesítményszint,
- erre az irányelvre történő hivatkozás,
- nyilatkozat arról, hogy a berendezés megfelel az irányelv követelményeinek,
- ahol szükséges, a megfelelőségi nyilatkozat(ok) és hivatkozások az alkalmazott egyéb közösségi irányelvekre,
- a nyilatkozat kiadási helye és időpontja,
- a gyártó számára vagy a Közösségben letelepedett meghatalmazott képviselője számára jogilag kötelező erejű nyilatkozat aláírására felhatalmazott aláíró személy adatai.
III. MELLÉKLET
A KÜLTÉRI HASZNÁLATRA TERVEZETT BERENDEZÉSEK LEVEGŐBEN TERJEDŐ ZAJKIBOCSÁTÁSÁNAK MÉRÉSÉRE SZOLGÁLÓ MÓDSZEREK
Bevezetés
Ez a melléklet a levegőben terjedő zaj mérésére szolgáló, a kültéri használatra tervezett berendezések hangteljesítményszintjének meghatározásához használandó módszereket tartalmazza.
E melléklet A. része meghatározza az alapvető zajkibocsátási szabványt és az alapvető zajkibocsátási szabványhoz kapcsolódó általános kiegészítéseket a hangnyomásszintnek a zajforrást körülvevő mérőfelületen történő méréséhez és az e forrás által keltett hangteljesítményszint számításához.
E melléklet B. része rögzíti a meghatározott berendezésekre vonatkozó zajvizsgálati előírásokat, amelyek vagy egy adott szabványra való hivatkozásként, vagy az alkalmazandó vizsgálati és működési feltételek, többek között az alábbiak leírásaként kerülnek megadásra:
a) a vizsgálati környezet;
b) a környezeti korrekció értéke (K2A);
c) a mérőfelület alakja és méretei;
d) a használandó mikrofonok száma és elhelyezkedése;
e) a berendezés felszerelésére és telepítésére vonatkozó követelmények;
f) az eredő hangteljesítményszintek számítására szolgáló módszer abban az esetben, amikor több vizsgálatot kell végezni különböző működési feltételek mellett.
Meghatározott típusú berendezések vizsgálatakor a gyártó vagy az Unióban letelepedett meghatalmazott képviselője az e melléklet A. részében rögzített alapvető zajkibocsátási szabványt és annak általános kiegészítését, valamint a B. részben meghatározott berendezésspecifikus zajvizsgálati előírást használja. A B. részben szereplő zajvizsgálati előírások célja az A. részben meghatározott előírások kiegészítése a különböző berendezéskategóriák jellemzőinek figyelembevételével. Amennyiben a B. részben szereplő zajvizsgálati előírások alapján különböző alternatív műszaki megoldások közül lehet választani, a gyártónak vagy az Unióban letelepedett meghatalmazott képviselőjének az A. részben megadott előírásokkal összhangban lévő megoldást kell használnia. Az A. és a B. rész közötti ellentmondás esetén a B. rész rendelkezéseit kell előnyben részesíteni.
Amennyiben a B. részben, vagy a B. részben említett szabványokban meghatározott zajvizsgálati előírások egy adott berendezéskategórián belül néhány modellre nem vonatkoznak, a gyártó vagy az Unióban letelepedett meghatalmazott képviselője a garantált hangteljesítményszintet az A. részben feltüntetett alapvető zajkibocsátási szabvány és annak általános kiegészítése szerint határozza meg.
Amennyiben a 12. cikkben felsorolt berendezések tekintetében az e mellékletben vagy a III. melléklet 2025. május 22. előtt alkalmazandó változatában meghatározott zajmérési módszer használata az adott termék megfelelőségét illetően két eltérő eredményhez vezet, azaz az adott berendezés garantált hangteljesítményszintje az egyik módszerrel végzett számítás szerint meghaladja a 12. cikkben megadott megfelelő megengedhető hangteljesítményszintet, de a másik módszerrel végzett számítás szerint nem, a gyártó vagy az Unióban letelepedett meghatalmazott képviselője a mért hangteljesítményszintet és a garantált hangteljesítményszintet a III. melléklet 2025. május 22. előtt alkalmazandó változatában megadott módszer szerint határozza meg mindaddig, amíg a 12. cikkben rögzített megengedhető hangteljesítményszintek módosításra nem kerülnek. Ebben az esetben a kijelölt szervezetek és a piacfelügyeleti hatóságok ugyancsak a III. melléklet 2025. május 22. előtt alkalmazandó változatában meghatározott módszert használják a vonatkozó megfelelőségértékelési eljárásban előírt zajvizsgálatok elvégzésére.
A. RÉSZ
ZAJKIBOCSÁTÁSI ALAPSZABVÁNY
A gyártóknak vagy az Unióban letelepedett meghatalmazott képviselőiknek az EN ISO 3744:2010 szabványt kell használniuk - az ezen A. részben meghatározott általános kiegészítésekre is figyelemmel - az LWA hangteljesítményszint meghatározásához. Amennyiben az e melléklet A. részében foglalt rendelkezések, vagy az e melléklet B. részében meghatározott alkalmazandó zajvizsgálati előírások másként nem rendelkeznek, a gyártóknak vagy az Unióban letelepedett meghatalmazott képviselőiknek az EN ISO 3744:2010 szabvány valamennyi rendelkezését alkalmazniuk kell.
1. A ZAJFORRÁS MŰKÖDÉSE A VIZSGÁLAT SORÁN
1.1. A ventilátor fordulatszáma
A berendezések motorjára vagy hidraulikus rendszerére szerelt ventilátorokat a vizsgálatok során működtetni kell. A gyártóknak vagy az Unióban letelepedett meghatalmazott képviselőiknek az a)-d) pontban meghatározott vonatkozó követelményeknek megfelelően kell beállítaniuk a ventilátor fordulatszámát, azt a vizsgálati jegyzőkönyvben fel kell tüntetniük, és a további mérések során is ezt a fordulatszámot kell használniuk. A ventilátorok a vizsgálatok során nem működtethetők fordított üzemmódban.
a) A motorhoz vagy annak hidraulikus rendszeréhez közvetlenül csatlakoztatott ventilátorhajtás:
A motorhoz vagy annak hidraulikus berendezéséhez közvetlenül csatlakoztatott ventilátorhajtást a vizsgálat során működtetni kell.
b) Különböző fordulatszámú ventilátorhajtás:
Ha egy ventilátor több különböző fordulatszámmal tud működni, akkor a vizsgálatot az alábbi módok valamelyikével kell elvégezni:
i) maximális fordulatszámon működő ventilátorral, vagy
ii) az első vizsgálatot nulla fordulatszámra állított ventilátorral, a második vizsgálatot pedig maximális fordulatszámra állított ventilátorral.
A ii. alpont alkalmazásában az eredményül kapott A-súlyozású felületi hangnyomásszintet (LpA) a két vizsgálati eredmény figyelembevételével kell kiszámítani a következő egyenlettel:
LpA = 10 lg (0,3 × 100,1 LpA, 0 % + 0,7 × 100,1 LpA,100 %)
ahol:
- LpA,0 % a ventilátor nulla fordulatszámával meghatározott A-súlyozású felületi hangnyomásszint;
- LpA,100 % a ventilátor maximális fordulatszámával meghatározott A-súlyozású felületi hangnyomásszint;
c) Folyamatosan változtatható fordulatszámú ventilátorhajtás:
A folyamatosan változtatható fordulatszámmal működtethető ventilátorok vizsgálatát vagy az 1.1.b) pont szerint, vagy a maximális fordulatszám 70 %-ánál nem kisebb fordulatszámmal kell végezni.
A motor hőmérséklete által automatikusan szabályozott viszkosztatikus ventilátorokat folyamatosan változtatható fordulatszámon működő ventilátoroknak kell tekinteni a vezérlés módjától függetlenül;
d) Több ventilátorral rendelkező berendezések:
Amennyiben egy gép egynél több ventilátorral van felszerelve, az összes ventilátort értelemszerűen az a), a b) vagy a c) pontban meghatározott feltételek mellett kell működtetni.
1.2. Motorral hajtott berendezések vizsgálata terhelésmentes állapotban
A motorral hajtott berendezések által terhelésmentes állapotban kibocsátott zaj mérése előtt a gyártóknak vagy az Unióban letelepedett meghatalmazott képviselőiknek a használati utasításban foglaltak szerint be kell melegíteniük a berendezés motorját és hidraulikus rendszerét, és be kell tartaniuk a biztonsági követelményeket.
A gyártók vagy az Unióban letelepedett meghatalmazott képviselőik álló helyzetben lévő berendezésen mérik a zajt a munkaberendezés vagy a mozgató mechanizmus működtetése nélkül. A mérés céljából a motort a hasznos teljesítménynek ( 3 ) megfelelő, a névlegesnél nem kisebb fordulatszámú alapjáraton ( 4 ) kell működtetni.
Amennyiben a berendezést generátorral vagy hálózati árammal működtetik, akkor a hálózati áram frekvenciája, amit a motor számára a gyártó határoz meg, ± 1 Hz stabilitású legyen, ha a berendezésre indukciós motor van felszerelve, és a névleges feszültség a tápfeszültségnek ± 1 %-a legyen, ha a berendezésre kommutátor motor van felszerelve. A tápfeszültséget egy nem szétszerelhető kábel vagy huzal csatlakozójánál kell mérni, vagy a berendezés bemeneténél, ha szétszerelhető kábellel van ellátva. A generátorból nyert áram hullámformájának hasonlónak kell lennie a hálózatról nyert áraméhoz.
Amennyiben egy gépen több feszültségtartományt jelölnek meg, a gyártóknak vagy az Unióban letelepedett meghatalmazott képviselőiknek a legnagyobb jelzett feszültségtartományon kell elvégezniük a méréseket. 220-240 V közötti feszültségtartomány esetén a vizsgálatot 230 V-on kell elvégezni.
Amennyiben egy gépet egy vagy több akkumulátor működtet, az akkumulátorokat legalább 70 %-os töltöttségi szintre kell feltölteni.
Az alkalmazott névleges fordulatszámot és a megfelelő hasznos teljesítményt a gyártóknak vagy az Unióban letelepedett meghatalmazott képviselőiknek fel kell tüntetniük a vizsgálati jegyzőkönyvben.
Amennyiben egy berendezés több motorral rendelkezik, a motorokat egyidejűleg kell működtetni a mérések során, kivéve, ha ez nem lehetséges, amely esetben minden lehetséges motorkombináció zajkibocsátását meg kell mérni.
1.3. Motorral hajtott berendezések vizsgálata terheléses állapotban
A motorral hajtott berendezések által terheléses állapotban kibocsátott zaj mérése előtt a gyártóknak vagy az Unióban letelepedett meghatalmazott képviselőiknek a használati utasításban foglaltak szerint be kell melegíteniük a berendezés motorját (hajtóművét) és hidraulikus rendszerét, és be kell tartaniuk a biztonsági követelményeket. A gyártók vagy az Unióban letelepedett meghatalmazott képviselőik a mérés során nem működtethetnek semmilyen jelzőberendezést, például figyelmeztető kürtöt vagy tolatásjelzőt.
A gyártóknak vagy az Unióban letelepedett meghatalmazott képviselőiknek a mérés során rögzíteniük kell a berendezés fordulatszámát vagy sebességét, és ezt a fordulatszámot vagy sebességet fel kell tüntetniük a vizsgálati jegyzőkönyvben.
Több motorral vagy aggregátorral felszerelt berendezések esetében a motorokat vagy aggregátorokat egyidejűleg kell működtetni a mérések során, kivéve, ha ez nem lehetséges, amely esetben a gyártóknak minden lehetséges motor- vagy aggregátorkombináció zajkibocsátását meg kell mérniük.
A gyártók vagy az Unióban letelepedett meghatalmazott képviselőik minden egyes terhelés alatt álló berendezéstípus kapcsán konkrét működtetési feltételeket kell meghatározniuk. A konkrét működtetési feltételeket úgy kell meghatározni, hogy azok a lehető legnagyobb mértékben a tényleges munkafeltételek között tapasztaltakhoz hasonló hatásokat és igénybevételt váltsanak ki.
1.4. Kézi működtetésű berendezések vizsgálata
A gyártóknak vagy az Unióban letelepedett meghatalmazott képviselőiknek minden egyes kézi működtetésű berendezéstípus kapcsán hagyományos működési feltételeket kell meghatározniuk, amelyek a tényleges munkakörülmények esetén tapasztaltakhoz hasonló hatásokat és igénybevételt váltanak ki.
2. A FELÜLETI HANGNYOMÁSSZINT MEGHATÁROZÁSA
A gyártóknak vagy az Unióban letelepedett meghatalmazott képviselőiknek legalább háromszori méréssel kell meghatározniuk a felületi hangnyomásszintet. Ha a meghatározott értékek közül legalább kettő nem tér el 1 dB-nél nagyobb mértékben, nem szükséges további méréseket végezni. Ellenkező esetben a gyártóknak vagy az Unióban letelepedett meghatalmazott képviselőiknek addig kell folytatniuk a méréseket, amíg két olyan értéket nem kapnak, amelyek egymástól legfeljebb 1 dB-lel térnek el. A hangteljesítményszint számításához a gyártók vagy az Unióban letelepedett meghatalmazott képviselőik által használandó A-súlyozású felületi hangnyomásszint annak a két legmagasabb értéknek a számtani átlaga, amelyek legfeljebb 1 dB-lel térnek el egymástól.
Lehetőség szerint a gyártóknak vagy az Unióban letelepedett meghatalmazott képviselőiknek a zajméréseket az összes mikrofonpozícióban egyidejűleg kell elvégezniük. Ez különösen a dinamikai vizsgálatok esetében fontos. Amennyiben ez nem lehetséges, a gyártóknak vagy az Unióban letelepedett meghatalmazott képviselőiknek különösen ügyelniük kell arra, hogy stabil feltételeket biztosítsanak a vizsgálati környezetben, és hogy minimálisra csökkentsék a gép által keltett zaj nem kívánt ingadozását vagy bármely más zavaró tényező, például háttérzaj vagy szélsebesség érvényesülését.
3. A VIZSGÁLATI JELENTÉSBEN MEGADANDÓ INFORMÁCIÓK
Az V. melléklet 3. pontjában, a VI. melléklet 3. pontjában, a VII. melléklet 2. pontjában, valamint a VIII. melléklet 3.1. és 3.3. pontjában előírt műszaki dokumentáció részét képező vizsgálati jelentésnek tartalmaznia kell a vizsgált zajforrás azonosításához szükséges műszaki adatokat, a használt zajvizsgálati előírást, valamint a vizsgálathoz felhasznált és a vizsgálat során nyert akusztikai adatokat.
A vizsgált zajforrás A-súlyozású hangteljesítményszintjét a vizsgálati jelentésben a legközelebbi egész számra kerekítve (0,5 alatt lefelé, 0,5-nél vagy a felett felfelé kerekítve) kell megadni.
Amennyiben az e melléklet bevezetésének utolsó bekezdésében meghatározott okokból és feltételek mellett a gyártók vagy az Unióban letelepedett meghatalmazott képviselőik a III. mellékletnek a 2025. május 22. előtt alkalmazandó változatában előírt módszereket használták a hangteljesítményszint meghatározására, akkor a gyártóknak vagy az Unióban letelepedett meghatalmazott képviselőiknek a vizsgálati jelentésben meg kell adniuk mindkét módszer adatait, vagyis a III. melléklet 2025. május 22. előtt alkalmazandó változatában előírt módszerek szerinti és az e mellékletben meghatározott módszerek szerinti adatokat is.
Az illetékes nemzeti hatóságok és a kijelölt szervezetek azon berendezésmodellek esetében, amelyek első példányát 2025. május 22. előtt hozták forgalomba vagy helyezték üzembe, az ezen irányelv 14. cikkének (1) bekezdésében említett eljárások szerinti megfelelőségértékelés céljából, valamint az említett termékek ezen irányelv V. mellékletének 3. pontjában, VI. mellékletének 3. pontjában, VII. mellékletének 2. pontjában, valamint VIII. mellékletének 3.1. és 3.3. pontjában meghatározott műszaki dokumentációjára vonatkozó követelmények céljából 2025. május 22.-ig kötelesek elfogadni a III. melléklet 2028. május 22. előtt alkalmazandó változatában meghatározott módszerekkel elvégzett zajmérések műszaki jelentését.
4. KÖRNYEZETI KORREKCIÓ (K2A)
A gyártóknak vagy az Unióban letelepedett meghatalmazott képviselőiknek az EN ISO 3744:2010 szabvány 4.3. szakaszának megfelelően kell meghatározniuk a K2A környezeti korrekciót.
Ha a K2A értéke≤ 0,5 dB, akkor az figyelmen kívül hagyható.
Ha a K2A értéke > 4 dB, a vizsgálati környezet nem felel meg ezen irányelv követelményeinek, és azt módosítani kell.
A gyártóknak vagy az Unióban letelepedett meghatalmazott képviselőiknek az e melléklet B. részében említett egyes berendezések zajvizsgálati előírásában meghatározott környezeti korrekcióra vonatkozó specifikációkat kell alkalmazniuk, amennyiben léteznek ilyen specifikációk.
B. RÉSZ
KONKRÉT BERENDEZÉSEKRE VONATKOZÓ ZAJVIZSGÁLATI ELŐÍRÁSOK
0. TERHELÉSMENTES ÁLLAPOTBAN VIZSGÁLT BERENDEZÉSEK
Vizsgálati környezet
Beton vagy nem porózus aszfalt hangvisszaverő felület
Környezeti korrekció (K2A)
K2A = 0
Mérőfelület/mikrofonpozíciók száma/mérési távolság:
a) Ha a referencia paralelepipedon legnagyobb mérete nem haladja meg a 8 m-t:
félgömb/hat mikrofonpozíció az EN ISO 3744:2010 szabvány F. melléklete szerint.
b) Ha a referencia paralelepipedon legnagyobb mérete meghaladja a 8 m-t: paralelepipedon az ISO 3744:2010 szabvány szerint.
d = 1 m mérési távolsággal.
Terhelésmentes vizsgálat
A zajvizsgálatokat e melléklet A. részének 1.2. pontja szerint kell elvégezni.
Vizsgálati időtartam(ok)/az eredő hangteljesítményszintek meghatározása, ha egynél több működési feltételt alkalmaznak
A vizsgálati időtartam legalább 15 másodperc vagy a gép legalább 3 működési ciklusa.
1. MOTOROS JÁRMŰ, PLATÓRA SZERELT SZERELŐKOSÁRRAL
EN 280-1:2022, 4.12.2. pont
2. ALJNÖVÉNYZET-TISZTÍTÓK - EN ISO 22868:2021
3. ÉPÍTŐIPARI TEHEREMELŐK
Lásd a 0. pontot
A motor geometriai középpontját a félgömb középpontja fölé kell helyezni. Az emelő terhelés nélkül mozog, és - ha szükséges - a félgömböt az 1. pont irányában hagyja el.
4. ÉPÍTŐIPARI SZALAGFŰRÉSZEK
EN ISO 19085-16:2021, 6.2.2. pont
Az e szabvány szerinti, az EN ISO 3744:2010 szabványon alapuló mérési módszert kell alkalmazni.
5. ÉPÍTŐIPARI KÖRFŰRÉSZEK
Mérőfelület/mikrofonpozíciók száma/mérési távolság
ISO 7960:1995, A. melléklet, mérési távolság d = 1 m.
Terheléses vizsgálat
ISO 7960:1995, A. melléklet (csak az A2(b) pont)
Vizsgálati időtartam
ISO 7960:1995, A. melléklet
6. KÉZI LÁNCFŰRÉSZEK
a) Belső égésű motorral hajtott berendezések:
EN ISO 22868:2021;
b) Villanymotorral üzemelő berendezések:
EN 62841-4-1:2020, I. melléklet
7. KOMBINÁLT, NAGYNYOMÁSÚ MOSÓ- ÉS SZIPPANTÓ JÁRMŰVEK
Ha lehetséges a két berendezést egyidejűleg üzemeltetni, akkor azokat e B. rész 26. és 52. pontja szerint kell működtetni. Ha nem, akkor a két berendezés zajkibocsátását külön kell mérni, és a magasabb értéket kell megadni.
8. DÖNGÖLŐGÉPEK
a) Lapvibrátorok és vibrációs döngölők
EN 500-4: 2011, 5.10.1. pont
b) Vibrációs hengerek
EN 474-13:2022, 4.6. pont
9. KOMPRESSZOROK - EN ISO 2151:2008
A vizsgálati időtartam legalább 15 másodperc.
10. KÉZI BETONTÖRŐK ÉS TÖRŐKALAPÁCSOK
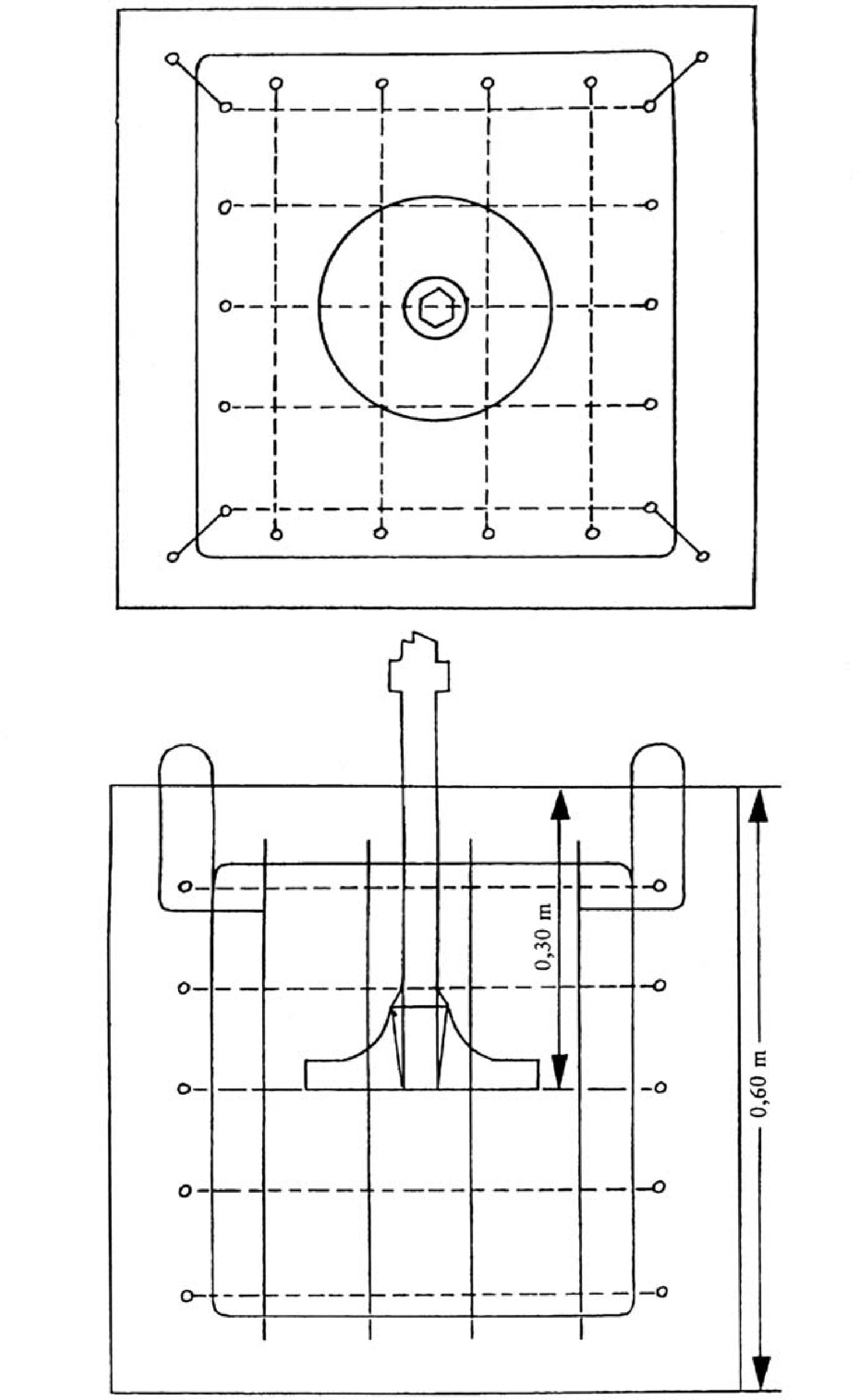
a) Belső égésű motorral hajtott berendezések
Mérőfelület/mikrofonpozíciók száma/mérési távolság
Félgömb/hat mikrofonpozíció az EN ISO 3744:2010 szabvány F. mellékletének és az alábbi táblázatnak megfelelően, a berendezés alábbi táblázatban megadott tömegétől függően:
A berendezés tömege m (kg-ban) | A félgömb sugara (m-ben) | Mikrofonpozíciókhoz (2., 4., 6. és 8.) tartozó „z” (m-ben) |
m < 10 m ≥ 10 | 2 4 | 0,75 1,50 |
A berendezés felszerelése
Minden berendezés vizsgálata függőleges helyzetben történik.
Ha a vizsgált berendezésnek van kipufogója, annak tengelye két mikrofonpozíciótól egyenlő távolságra legyen. A tápegység zaja ne befolyásolja a vizsgált berendezésből kibocsátott zaj mérését.
A berendezés megtámasztása
A vizsgálat során a berendezést egy olyan tartószerszámmal kötik össze, amely be van ágyazva egy földbe süllyesztett betongödörben lévő, kocka alakú betontömbbe.
A vizsgálat során egy közbenső acéldarab helyezhető a berendezés és a tartószerszám közé. Ez a köztes darab stabil szerkezetet képez a berendezés és a tartószerszám között. A 10.1. ábra tartalmazza az említett követelményeket.
A tömb jellemzői
A tömb kocka alakú, oldalainak hossza 0,60 m ± 2 mm és olyan szabályos, amilyen csak lehet. Anyaga vasbeton, és a túlzott porképződés elkerülése érdekében legfeljebb 0,20 m mély rétegben kell alapos vibrációnak alávetni.
A beton minősége
Az EN 206:2013+A2:2021 szabvány szerinti C 50/60 minőségű betont kell használni.
A kockát 8 mm átmérőjű, kötés nélküli acélrudak erősítik, mindegyik rúd független a másiktól. A kialakítási koncepciót a 10.2. ábra mutatja.
Tartószerszám
A tartószerszám rögzítve van a tömbbe; egy 178-220 mm közötti átmérőjű döngölő rúdból és egy tokmányból áll, amely azonos azzal, amit normál körülmények között a vizsgált berendezéshez használnak és megfelel az ISO 1180:1983/Add 1:1985 szabványnak, de elég hosszú ahhoz, hogy lehetővé tegye a gyakorlati vizsgálat végrehajtását.
Megfelelő megmunkálás szükséges ahhoz, hogy egyesítsék a két részegységet. A tartószerszámot úgy kell rögzíteni a tömbben, hogy a tokmány alsó szegélye 0,30 m-re legyen a tömb felső szélétől (lásd a 10.2. ábrát).
A tömbnek mechanikusan épnek kell maradnia, különösen azon a ponton, ahol a tartószerszám és a beton találkozik. Minden egyes vizsgálat előtt és után ellenőrizni kell, hogy a betontömbbe zárt tartószerszám egyben van-e a tömbbel.
A kocka elhelyezése
A kockát egy köröskörül kicementezett gödörbe kell helyezni, amely egy legalább 100 kg/m2-es árnyékoló lemezzel van lefedve, amint azt a 10.3. ábra mutatja úgy, hogy az árnyékoló lemez felső széle szintben legyen a talajjal. Bármiféle mellékzörej elkerülése érdekében a tömböt a gödör aljánál és az oldalainál rugalmas illesztékekkel kell szigetelni. Az illesztékek határfrekvenciája nem lehet több, mint a vizsgált berendezés ütés per másodpercben kifejezett ütési sebességének fele.
Az árnyékoló lemez nyílása, amelyen keresztül a tartószerszám tokmánya áthalad, olyan kicsi legyen, amilyen kicsi csak lehet, és le kell zárni egy rugalmas, hangszigetelő illesztődarabbal.
Terheléses vizsgálat
A vizsgált berendezést a tartószerszámhoz kell csatlakoztatni.
A vizsgált berendezést stabil körülmények között kell működtetni, amelyek ugyanolyan akusztikai állandóságot biztosítanak, mint a normál használat.
A vizsgált berendezést a vásárlónak átadott használati utasításban meghatározott maximális teljesítménnyel kell működtetni.
Vizsgálati időtartam
A vizsgálati időtartam legalább 15 másodperc.
10.1. ábra
A köztes darab vázlatos elrendezése

10.2. ábra
Vizsgáló tömb

10.3. ábra
Vizsgáló berendezés

Az A. értéke olyan, hogy a "J" rugalmas illesztéken nyugvó árnyékoló lemez egy szintben legyen a talajjal.
b) Villanymotorral üzemelő berendezések:
EN IEC 62841-2-6:2020, EN IEC 62841-2-6:2020/A11:2020, I. melléklet, I.2. pont
c) Pneumatikus vagy hidraulikus meghajtású berendezések:
Ugyanaz, mint a belső égésű motorral hajtott berendezés esetében.
11. BETON- VAGY HABARCSKEVERŐK
Terheléses vizsgálat
A keverőberendezést (hordót) fel kell tölteni névleges térfogatáig 0-3 mm szemcseméretű homokkal, amelynek nedvességtartalma 4-10 %.
A keverőberendezést legalább névleges fordulatszámmal kell működtetni.
Vizsgálati időtartam
A vizsgálati időtartam legalább 15 másodperc.
12. ÉPÍTŐIPARI CSÖRLŐK
a) Belső égésű motorral hajtott berendezések:
Lásd a 0. pontot
A motor geometriai középpontját a félgömb középpontja fölé kell helyezni; a csörlőt csatlakoztatni kell, de nem terhet rakni rá.
b) Villanymotorral üzemelő berendezések:
EN 14492-2:2019, M. melléklet.
13. BETON- ÉS HABARCSSZÁLLÍTÓ- ÉS -SZÓRÓGÉPEK
EN 12001:2012, C. melléklet
14. SZÁLLÍTÓSZALAGOK
Lásd a 0. pontot
A motor geometriai középpontját a félgömb középpontja fölé kell helyezni. A szalag terhelés nélkül mozogjon, és - ha szükséges - a félgömböt az 1. pont irányában hagyja el.
15. JÁRMŰRE SZERELT HŰTŐBERENDEZÉSEK
Terheléses vizsgálat
A hűtőberendezést egy valódi vagy szimulált teherárutérbe kell telepíteni és a hangnyomásszintet olyan mozdulatlan állapotban kell vizsgálni, ahol a hűtőberendezés magassága megfelel a vásárlónak átadott használati utasítás szerinti tervezett telepítési követelményeknek. A hűtőberendezés tápegységét olyan teljesítménnyel kell üzemeltetni, amely a hűtőkompresszort és a ventilátort a használati utasítás szerinti maximális fordulatszámon működteti. Ha a hűtőberendezést úgy tervezték, hogy a jármű hajtómotorja táplálja, akkor a jármű motorját nem szabad járatni a vizsgálat alatt, a hűtőberendezést pedig megfelelő elektromos hálózatra kell csatlakoztatni. A mérés során a leválasztható vontatóegységeket el kell távolítani.
A teherárutérben található, különböző áramforrásra csatlakoztatható hűtőegységekbe beépített hűtőberendezések hangnyomásszintjét minden áramforrás esetében külön meg kell mérni. A mérési eredményeket tartalmazó jelentésnek be kell mutatnia legalább a legnagyobb zajkibocsátást eredményező működési módot.
Vizsgálati időtartam
A vizsgálati időtartam legalább 15 másodperc.
16. FÖLDTOLÓK
ISO 6395:2008 a C. mellékletében meghatározott működési és vizsgálati feltételekkel.
17. FÚRÓBERENDEZÉSEK
a) Mobil fúróberendezések:
EN 16228-2:2014+A1:2021, 5.12. pont
b) Vízszintesen irányított fúróberendezések:
EN 16228-3:2014+A1:2021, 5.15. pont
c) Cserélhető segédberendezések:
EN 16228-7:2014+A1:2021, 5.3. pont
d) Bármely egyéb fúróberendezés:
EN 16228-1:2014+A1:2021, 5.27.2.2. pont
18. DÖMPEREK
ISO 6395:2008 az F. mellékletében meghatározott működési és vizsgálati feltételekkel.
19. TEHERAUTÓKON LÉVŐ TARTÁLYOK VAGY SILÓK BETÖLTÉSÉRE VAGY ÜRÍTÉSÉRE SZOLGÁLÓ BERENDEZÉSEK
A kompresszorokra vagy vákuumszivattyúkra vonatkozóan lásd a 9. pontot.
A folyadékszivattyúkra vonatkozóan lásd az 56. pontot.
20. KOTRÓGÉPEK
ISO 6395:2008 a B. mellékletében meghatározott működési és vizsgálati feltételekkel.
21. KOTRÓ-RAKODÓK
ISO 6395:2008 az E. mellékletében meghatározott működési és vizsgálati feltételekkel.
22. ÜVEGGYŰJTŐ KONTÉNEREK
E zajvizsgálati előírás esetén az EN ISO 3744:2010 szabvány 3.4. pontjában meghatározott, az egyedi zajeseményhez tartozó időintegrált LE hangnyomásszintet kell használni a mikrofonpozíciók szerinti hangnyomásszint mérése során.
Környezeti korrekció (K2A)
Kültéren végzett mérések
K2A = 0
Beltéren végzett mérések
A K2A állandónak az EN ISO 3744:2010 szabvány A. mellékletével összhangban meghatározott értéke legfeljebb 2,0 dB lehet, amely esetben a K2A figyelmen kívül hagyható.
Működési feltételek a vizsgálat során
A zajmérést egy teljes cikluson keresztül kell végezni, amely az üres konténerrel kezdődik és akkor fejeződik be, amikor 120 üvegpalackot bedobtak a konténerbe.
Az üvegpalackok meghatározása a következő:
- űrtartalom: 75 cl,
- tömeg: 370 ± 30 g.
A vizsgálatot végző kezelőszemélynek mindegyik üvegpalackot a nyakánál megfogva, alsó részével a töltőnyílás felé kell tartania, majd ezután finoman keresztül kell nyomnia a töltőnyíláson a konténer közepe irányába, lehetőség szerint ügyelve arra, hogy a palack ne ütközzön a konténer falának. A palackok bedobására csak egy töltőnyílás használható, mégpedig az, amelyik a legközelebb található a 12. mikrofonpozícióhoz.
Vizsgálati időtartam(ok)/az eredő hangteljesítményszintek meghatározása, ha egynél több működési feltételt alkalmaznak
Az egyedi zajeseményre vonatkozó időintegrált A-súlyozású hangnyomásszintet a hat mikrofonpozícióban egyidejűleg kell mérni minden, a konténerbe dobott palack esetében.
Az egyedi zajeseményre vonatkozó időintegrált A-súlyozású hangteljesítményszint mérési felületre átlagolt értékét az EN ISO 3744:2010 szabvány 8.2.2. pontja szerint kell kiszámítani.
Az egyedi zajeseményre vonatkozó időintegrált A-súlyozású hangnyomásszintnek a mind a 120 üvegpalack bedobásából átlagolt értékét az egyedi zajeseményekre vonatkozó időintegrált A-súlyozású hangnyomásszintek mérési felületre átlagolt értékeinek logaritmikus átlagaként kell kiszámítani.
23. FÖLDGYALUK
ISO 6395:2008 a G. mellékletében meghatározott működési és vizsgálati feltételekkel.
24. FŰVÁGÓK/FŰSZEGÉLYVÁGÓK
Lásd a 2. pontot
25. SÖVÉNYNYÍRÓK
a) Belső égésű motorral hajtott berendezések:
EN ISO 22868:2021;
b) Villanymotorral üzemelő berendezések:
EN IEC 62841-4-2:2019, I. melléklet, I.2. pont
26. NAGYNYOMÁSÚ MOSÓK
Terheléses vizsgálat
A nagynyomású mosókat álló helyzetben kell vizsgálni. A motornak és a segédegységeknek a gyártó által a munkaberendezés működtetéséhez megadott fordulatszámon kell működniük. A nagynyomású szivattyúkat a gyártó által megadott legnagyobb fordulatszámon és üzemi nyomáson kell működtetni. Egy illesztett fúvókával kell biztosítani, hogy a nyomáscsökkentő szelep éppen a reakcióponton működjön. A fúvóka áramlási zaja nem befolyásolhatja a mérési eredményeket.
Vizsgálati időtartam
A vizsgálati időtartam legalább 30 másodperc.
27. NAGYNYOMÁSÚ VÍZSUGARAS MOSÓK
a) Legfeljebb 35 MPa nyomású berendezések:
EN 60335-2-79:2012, CC. melléklet
b) 35 Mpa-nál nagyobb nyomású berendezések:
EN 1829-1:2010, 6.8. pont
28. HIDRAULIKUS FEJTŐKALAPÁCSOK
Mérőfelület/mikrofonpozíciók száma/mérési távolság
Félgömb/hat mikrofonpozíció az EN ISO 3744:2010 szabvány F. melléklete szerint, r = 10 m.
A berendezés felszerelése
A vizsgálathoz a fejtőkalapácsot egy tartóeszközhöz kell csatlakoztatni, és egy speciális vizsgálótömböt kell használni. A 28.1. ábra megadja ennek jellemzőit, a 28.2. ábra pedig a tartóeszköz helyzetét mutatja.
Tartóeszköz
A vizsgált fejtőkalapács tartóeszköze feleljen meg a vizsgálati kalapácsokra vonatkozó műszaki követelményeknek, különösen a súlytartomány, a hidraulikus kimenő teljesítmény, az átfolyó és a visszatérő tápolaj nyomása tekintetében.
Felszerelés
A mechanikai felszerelés, valamint a csatlakozások (tömlők, csövek stb.) feleljenek meg a fejtőkalapács műszaki adatai között megadott specifikációknak. Ki kell küszöbölni minden olyan jelentős zajt, amit a felszereléshez szükséges csövek és a különböző mechanikai részegységek okoznak. Minden részegység csatlakozását szorosan meg kell húzni.
A kalapács stabilitása és statikus tartóereje
A tartóeszköznek erősen kell tartania lefelé a kalapácsot azért, hogy ugyanazt a stabilitást biztosítsa, ami a normál működési körülmények között fennáll. A kalapácsot függőlegesen álló pozícióban kell működtetni.
Szerszám
A mérésekhez tompa szerszámot kell használni. A 28.1. ábrán (vizsgálótömb) megadott követelményeknek megfelelő hosszúságú szerszámot kell használni.
Terheléses vizsgálat
Hidraulikus bemenő teljesítmény és olajáram
A hidraulikus kalapács működési feltételeit megfelelő módon kell beállítani, mérni és jelenteni a megfelelő műszaki specifikáció értékeivel együtt. A vizsgált kalapácsot úgy kell használni, hogy elérjék a kalapács maximális hidraulikus bemenő teljesítményénekés maximális olajáramlásának legalább 90 %-át.
Ügyelni kell arra, hogy a ps és Q mérőláncok bizonytalansága ± 5 %-on belül maradjon, hogy a bemenő hidraulikus teljesítményt ± 10 %-os pontossággal meg lehessen határozni. Lineáris korrelációt feltételezve a bemenő hidraulikus teljesítmény és a kibocsátott hangteljesítmény között, ez ± 0,4 dB-nél kisebb átlagos szórást jelent a hangteljesítményszint meghatározásakor.
Szabályozható részegységek, amelyeknek hatásuk van a kalapács teljesítményére
Az összes nyomástároló tartály, központi nyomásszelep és a többi szabályozható részegység előzetes beállítása feleljen meg a műszaki adatok között megadott értékeknek. Ha egynél több rögzített ütési sebesség választható, akkor a méréseket mindegyik beállítás mellett el kell végezni. A legkisebb és a legnagyobb értékeket kell megadni.
Mérendő mennyiségek
ps A hidraulikus tápnyomás átlagértéke a kalapács működése során, mely legalább 10 ütésre kiterjed;
Q A törő bemeneti olajáramának a ps-sel egyidejűleg mért átlagértéke;
T Az olaj hőmérsékletének + 40 és + 60 °C között kell lennie a mérések alatt. A hidraulikus törő testének hőmérsékletét a mérések megkezdése előtt be kell állítani a normál működési hőmérsékletre.
Pa Az összes nyomástároló tartály előtöltési gáznyomását statikus helyzetben kell mérni (nem üzemelő törő mellett), + 15/+ 25 °C stabil környezeti hőmérsékleten. A mért környezeti hőmérsékletet és a nyomástároló tartály mért előtöltési gáznyomását egyaránt fel kell jegyezni.
A mért működési paraméterekből számítandó paraméterek:
PIN a törő hidraulikus bemenő teljesítménye, PIN = ps Q
Hidraulikus tápvezeték nyomásának mérése, ps:
- a ps értékét olyan közel kell mérni a törő bemenetéhez (IN nyílásához), amilyen közel csak lehet,
- a ps értékét nyomásmérővel kell mérni (minimális átmérő: 100 mm; pontossági osztály: ± 1,0 % FSO).
Törő bemenő olajáram, Q:
- a Q értékét a betáplálás nyomóvezetékéből kell mérni olyan közel a törő bemenetéhez (IN nyílásához), amilyen közel csak lehet,
- a Q értékét elektromos áramlásmérővel kell mérni (pontossági osztály: a leolvasott áramlási sebesség ± 2,5 %-a).
Az olajhőmérséklet (T) mérési pontja:
- a T értéket az olajtároló tartályában vagy a kalapácshoz csatlakoztatott hidraulikus vezetékben kell mérni. A mérési pontot a jelentésben meg kell adni,
- a hőmérséklet leolvasási pontossága a tényleges értékhez viszonyított ± 2 °C-on belül legyen.
Vizsgálati időtartam/az eredő hangteljesítményszint meghatározása
A vizsgálati időtartam legalább 15 másodperc.
A méréseket háromszor, vagy ha szükséges, többször kell megismételni. A végeredményt az egymástól legfeljebb 1 dB-lel eltérő két legmagasabb érték számtani átlagaként kell kiszámítani.
28.1. ábra

28.2. ábra

Definíciók
d Szerszám átmérője (mm);
d1 Üllő átmérője, 1 200 ± 100 mm;
d2 Üllőtartó szerkezet belső átmérője, ≤ 1 800 mm;
d3 Vizsgálótömb fedőlemezének átmérője, ≤ 2 200 mm;
d4 Szerszámnyílás átmérője a fedőlemezen, ≤ 350 mm;
d5 Szerszámtömítés átmérője, ≤ 1 000 mm;
h1 Látható szerszámhossz a ház legalacsonyabb része és a szerszámtömítés felső felülete között (mm), h1 = d ± d/2;
h2 Szerszámtömítés vastagsága a fedőlemez felett, ≤ 20 mm (ha a szerszám tömítés a fedőlemez alatt helyezkedik el, akkor vastagsága nem korlátozott; habgumiból lehet készíteni);
h3 A fedőlemez felső felszíne és az üllő felső felszíne közötti távolság, 250 ± 50 mm;
h4 Szigetelő habgumi fedőlemez-tömítés vastagsága, ≤ 30 mm;
h5 Üllő vastagsága, 350 ± 50 mm;
h6 Szerszámbehatolás, ≤ 50 mm.
Ha négyszög alakú vizsgálótömböt használnak, akkor a maximális hosszméret 0,89 × a megfelelő átmérő.
A fedőlemez és az üllő közötti tér rugalmas habgumival vagy más hangelnyelő anyaggal tölthető ki, melynek sűrűsége < 220 kg/m3.
29. HIDRAULIKUS NYOMÁSFOKOZÓK
A berendezés felszerelése
A hidraulikus nyomásfokozót a hangvisszaverő síkban kell felszerelni; a csúszótalpas hidraulikus nyomásfokozót egy 0,40 m magas állványra kell helyezni, hacsak a gyártó felszerelési feltételekre vonatkozó követelményei nem térnek el ettől.
Terheléses vizsgálat
A vizsgálat során nem kell szerszámokat kapcsolni a hidraulikus nyomásfokozóhoz.
A hidraulikus nyomásfokozót állandósult állapotba kell beállítani a gyártó által meghatározott fordulatszám-tartományon belül. A gépet névleges fordulatszámon és névleges nyomáson kell működtetni. A névleges fordulatszám és nyomás az az érték, ami a vásárlónak átadott kezelési utasításban szerepel.
Vizsgálati időtartam
A vizsgálati időtartam legalább 15 másodperc.
30. BETON- VAGY ASZFALTVÁGÓK
a) Gyalogos működtetésű burkolatvágó gépek:
EN 13862:2021, 4.10.2. pont
b) Mozgó tartószerkezetre szerelt hordozható, belső égésű motoros, kézi burkolatvágó gépek:
EN ISO 19432-1:2020, 4.19.2. pont
c) Egyéb beton- vagy aszfaltvágók:
Terheléses vizsgálat
A beton- vagy aszfaltvágót a gyártó által a vásárlónak átadott használati utasításban megadott legnagyobb vágókéssel kell felszerelni. A motort maximális fordulatszámon kell járatni a vágókés üresjárata mellett.
Vizsgálati időtartam
A vizsgálati időtartam legalább 15 másodperc.
31. HULLADÉKTÖMÖRÍTŐ HOMLOKRAKODÓK
ISO 6395:2008 a H. mellékletében meghatározott működési és vizsgálati feltételekkel.
32. FŰNYÍRÓK
a) Belső égésű motorral működő, forgókéses és hengeres fűnyíró gépek:
EN ISO 5395-1:2013, EN ISO 5395-1:2013/A1:2018, 4.3. pont, második bekezdés.
Környezeti korrekció (K2A)
Ha a K2A értéke≤ 0,5 dB, akkor az figyelmen kívül hagyható.
b) Villanymotorral üzemelő forgókéses és hengeres, kézi irányítású, gyalogos működtetésű fűnyíró gépek és fűnyíró traktorok:
EN IEC 62841-4-3:2021, EN IEC 62841-4-3:2021/A11:2021, I. melléklet, I.2. pont
33. GYEPVÁGÓK/GYEPSZEGÉLYVÁGÓK
EN 50636-2-91:2014, CC. melléklet
34. LEVÉLFÚVÓK
a) Belső égésű motorral hajtott berendezések:
EN ISO 22868:2021
b) Villanymotorral üzemelő berendezések:
EN 50636-2-100:2014, CC. melléklet
35. LEVÉLGYŰJTŐK
Lásd a 34. pontot.
36. VILLÁS EMELŐTARGONCÁK - EN 12053:2001+A1:2008
37. RAKODÓGÉPEK
ISO 6395:2008 a D. mellékletében meghatározott működési és vizsgálati feltételekkel.
38. MOBIL DARUK
EN 13000:2010+A1:2014, 5.3. pont
39. MOBIL HULLADÉKKONTÉNEREK
Vizsgálati környezet
- Beton vagy nem porózus aszfalt hangvisszaverő felület
- Laboratóriumi szoba, ahol van szabad tér a hangvisszaverő sík felett
Környezeti korrekció (K2A)
Kültéren végzett mérések:
K2A = 0
Beltéren végzett mérések:
A K2A állandónak az EN ISO 3744:2010 szabvány A. mellékletével összhangban meghatározott értéke legfeljebb 2,0 dB lehet, amely esetben a K2A figyelmen kívül hagyható.
Mérőfelület/mikrofonpozíciók száma/mérési távolság
Félgömb/hat mikrofonpozíció az EN ISO 3744:2010 szabvány F. melléklete szerint, r = 3 m.
Működési feltételek a vizsgálat során
Minden mérést üres konténerrel kell végezni.
1. sz. vizsgálat: Konténerfedél szabad csapódása
Azért, hogy a méréseket a kezelőszemély lehetőleg ne zavarja, a kezelőszemélynek a konténer hátsó oldalánál (a csuklópánt oldalán) kell állnia. A fedelet a közepénél fogva kell elengedni, hogy a csapódás közben ne ferdén essen.
A mérést a következő ciklus szerint kell elvégezni, 20-szor ismételve:
- először függőleges állásba kell emelni a fedelet,
- a fedelet a konténer hátsó részénél lévő kezelőszemély előre felé, lökés nélkül elengedi, és nem mozdul addig, amíg a fedél le nem záródik,
- a teljes lezáródás után a fedelet fel kell emelni a kiindulási helyzetébe.
Megjegyzés: Ha szükséges, a kezelőszemély elhagyhatja a kijelölt helyét, hogy a fedelet felemelje.
2. sz. vizsgálat: A fedél teljes kinyitása
Azért, hogy a méréseket a kezelőszemély lehetőleg ne zavarja, a kezelőszemélynek a négykerekes konténerek esetében a konténer hátsó oldalánál (a csuklópánt oldalán), kétkerekes konténerek esetében pedig a konténer jobb oldalánál (a 10-es és 12-es mikrofonpozíció között) kell állnia. A fedelet a közepénél, vagy a közepéhez a lehető legközelebb fogva kell elengedni.
A konténer bármely elmozdulását megakadályozandó, a kerekeket rögzíteni kell a vizsgálat során. Kétkerekű konténereknél a konténer ugrálásának megakadályozása érdekében a kezelőszemély egyik kezét a felső peremre helyezve megtarthatja a konténert.
A mérést a következő ciklus szerint kell elvégezni:
- először vízszintesen teljesen hátra kell nyitni a fedelet,
- a fedelet lökés nélkül kell elengedni,
- miután a fedél teljesen kinyílt, az esetleges visszacsapódás előtt a fedelet kiindulási helyzetbe kell emelni.
3. sz. vizsgálat: A konténer átgurítása egy mesterséges, egyenetlen pályaszakaszon
Ehhez a vizsgálathoz egy mesterséges, az egyenetlen talajt szimuláló vizsgálati pályaszakaszt kell használni. E vizsgálati pályaszakasz két párhuzamos (6 m hosszú és 400 mm széles) acélháló nyomsávból áll, amelyeket hangvisszaverő síkra rögzítenek, hozzávetőlegesen 20 cm-enként. A két nyomsáv közötti távolságot a konténer típusának megfelelően úgy kell megválasztani, hogy a kerekek a pályaszakasz teljes hosszán végig tudjanak gurulni. Az elrendezésnek sík felületet kell képeznie. Ha szükséges, a sávokat rugalmas anyaggal a talajhoz kell rögzíteni a nemkívánatos mellékzörejek elkerülése érdekében.
Megjegyzés: A nyomsávok több, 400 mm széles elem egymáshoz illesztésével is összeállíthatók.
A 39.1. és a 39.2. ábrán látható példa a megfelelő pályaszakasz kialakítására. A kezelőszemélynek a fedél csuklópánt felőli oldalán kell tartózkodnia.
A mérést úgy kell elvégezni, hogy a kezelőszemély körülbelül 1 m/s állandó sebességgel addig húzza a konténert a mesterséges pályaszakaszon az A és B pont közötti távolságon (4,24 m távolság - lásd a 39.3. ábrát), amíg a kerék tengelye (kétkerekes konténernél) vagy az első kerék tengelye (négykerekes konténernél) eléri az A vagy a B pontot. Ezt az eljárást háromszor meg kell ismételni mindkét irányban.
A vizsgálat során a kétkerekes konténernél a konténertengely és a nyomsáv közötti szög 45° legyen. Négykerekes konténernél a kezelőszemélynek kell gondoskodni arról, hogy a kerekek megfelelően érintkezzenek sávval.
Vizsgálati időtartamok/az eredő hangteljesítményszintek meghatározása, ha egynél több működési feltételt alkalmaznak
1. és 2. sz. vizsgálat: Konténerfedél szabad csapódása és a fedél teljes kinyitása
Lehetőség szerint a méréseket a hat mikrofonpozícióban egyidejűleg kell elvégezni. Ellenkező esetben az egyes mikrofonpozíciókban mért hangnyomásszinteket növekvő sorrendbe kell állítani, és a hangteljesítményszinteket az egyes mikrofonpozíciók azonos sorszámú értékeiből kell kiszámítani.
Az egyedi zajeseményre vonatkozó időintegrált A-súlyozású hangnyomásszintet a fedél 20 lecsapásával és 20 nyitásával minden mérési pontnál kell mérni. Az LWAzárási és LWAnyitási hangteljesítményszinteket a kapott értékekből vett öt legnagyobb érték négyzetes középértékéből kell kiszámítani.
3. sz. vizsgálat: A konténer átgurítása egy mesterséges, egyenetlen pályaszakaszon
A T vizsgálati időtartam azzal az idővel egyenlő, ami az A és B pont közötti távolság megtételéhez szükséges a pályaszakaszon.
Az LWAgurítási hangteljesítményszint hat olyan érték átlaga, amelyek kevesebb, mint 2 dB-lel különböznek egymástól. Ha ez a kritérium hat mérés után sem teljesül, akkor a ciklust annyiszor kell megismételni, ahányszor szükséges.
Az eredő hangteljesítményszintet az alábbi módon kell ki számítani:
LWA = 10 log 1/3 (100,1 LWAzárási + 100,1 LWAnyitási + 100,1 LWAgurítási)
39.1. ábra
A gurítási pályaszakasz rajza

39.2. ábra
A gurítási pályaszakasz megépítésének és felszerelésének részletei

39.3. ábra
Mérési távolság

40. MOTOROS KAPÁK
Lásd a 32. pontot
A szerszámot le kell szerelni vagy el kell távolítani a mérés alatt.
41. BURKOLATTERÍTŐ GÉPEK
EN 500-6:2006+A1:2008, 5.17. pont
42. CÖLÖPVERŐ BERENDEZÉSEK
a) Alapozóberendezések
EN 16228-4:2014+A1:2021, 5.8. pont
b) Cserélhető cölöpverő segédberendezések
EN 16228-7:2014+A1:2021, 5.3. pont
c) Bármely egyéb cölöpverő berendezés
EN 16228-1:2014+A1:2021, 5.27.2.2. pont
43. CSŐFEKTETŐK - ISO 6393:2008
44. LÁNCTALPAS ÚTPÁLYATISZTÍTÓK
ISO 6393:2008 a földtoló gépeknél leírt eljárásokkal és működési feltételekkel. A vizsgálati felület a kemény hangvisszaverő sík (az ISO 6393:2008 szabvány 5.3.2. pontja).
45. ÁRAMFEJLESZTŐ GENERÁTOROK - EN ISO 8528-10:2022
Az e szabvány szerinti, az EN ISO 3744:2010 szabványon alapuló mérési módszert kell alkalmazni.
46. MOTOROS SEPRŐGÉPEK
a) Utcaseprő gépek
EN 17106-2:2021, 4.3. pont
b) Egyéb kültéri motoros seprőgépek:
EN 60335-2-72:2012, DD. melléklet
47. HULLADÉKGYŰJTŐ JÁRMŰVEK - EN 1501-4:2023
48. ÚTMARÓ GÉPEK
EN 500-2:2006+A1:2008, 5.17. pont
49. GYEPHASOGATÓ GÉPEK
a) Belső égésű motorral hajtott berendezések:
EN 13684:2018, 5.16.2. pont
b) Villanymotorral üzemelő berendezések:
EN IEC 62841-4-7:2022, EN IEC 62841-4-7:2022/A11:2022, I. melléklet, I.2. pont
50. ZÚZÓ-APRÍTÓGÉPEK
a) Kerti kézi zúzó-aprítógépek
i. Belső égésű motorral hajtott berendezések
EN 13683:2003+A2:2011, 5.10.2. pont
EN 13683:2003+A2:2011/AC:2013
ii. Villanymotorral üzemelő berendezések
EN 50434:2014, 20.107.2. pont
b) Erdészetben használt, vízszintes kézi adagolású faaprító gépek
EN 13525:2020, 5.5. pont
c) Erdészetben használt, vertikális kézi adagolású, (függőleges és vízszintes) mechanikus adagolású faaprító gépek és egyéb zúzó-/aprítógépek
Terheléses vizsgálat
A zúzó-aprítógépet egy vagy több fadarab aprítása során kell vizsgálni.
A munkaciklus egy legalább 1,5 méter hosszú hengeres farönk (száraz fenyőfa vagy rétegelt lemez) aprításából áll, amely az egyik végén meg van hegyezve, és amelynek átmérője hozzávetőlegesen egyezik azzal a maximális átmérővel, amelynek befogadására a vásárlónak átadott utasítások szerint a gépet tervezték.
Vizsgálati időtartam/az eredő hangteljesítményszint meghatározása
A vizsgálati időtartam akkor ér véget, amikor a zúzási területen nincs több anyag, de nem haladhatja meg a 20 másodpercet. Ha mindkét működési feltétel adott, akkor a magasabb hangteljesítményszintet eredményezőt kell figyelembe venni.
51. HÓMARÓK FORGÓSZERSZÁMMAL
a) Útkarbantartó hóeltakarító gépek:
EN 17106-3-1:2021, 4.2. pont
b) Gyalogos működtetésű hómarók és hómaró traktorok:
i. Belső égésű motorral hajtott berendezések
EN ISO 8437-4:2021, A. melléklet
ii. Villanymotorral üzemelő berendezések:
A gépet a vizsgálat megkezdése előtt 10 percig terhelés nélkül, maximális fordulatszámon kell működtetni. A gyűjtő- és terelő-berendezéseket a gyártó utasításainak megfelelően kell kenni.
A vizsgálat során a gyűjtő- és terelő-berendezéseket be kell kapcsolni terhelés nélkül. A vizsgálatot a legnagyobb fordulatszámon, terhelés nélkül, álló helyzetben kell elvégezni.
A gépeket a méréshez úgy kell a felületre helyezni, hogy fő részeik (a fogantyú stb. kivételével) geometriai középpontjának vetülete egybeessen a mikrofonpozíciók koordinátarendszerének origójával. Mesterséges felület használata esetén azt úgy kell elhelyezni, hogy annak geometriai középpontja is egybeessen a mikrofonpozíciók koordinátarendszerének origójával. A gép hossztengelyének az x tengelyen kell lennie. A mérést kezelőszemély nélkül kell elvégezni.
A mérések során a gépet stabil körülmények között kell működtetni. Amint a zajkibocsátás stabil szintet ér el, a mérési időintervallumnak legalább 15 másodpercnek kell lennie. Oktáv vagy harmadoktáv frekvenciasávokban végzett mérések esetén a minimális vizsgálati időtartam 30 másodperc a 160 Hz-es vagy az alatti középpontú frekvenciasávok esetében, és 15 másodperc a 200 Hz-es vagy azt meghaladó középpontú frekvenciasávok esetében.
52. SZIPPANTÓ JÁRMŰVEK
Terheléses vizsgálat
A szippantó járművet álló helyzetben kell vizsgálni. A motornak és a segédegységeknek a gyártó által a munkaberendezés működtetéséhez megadott fordulatszámon kell működniük. A vákuumszivattyúkat a gyártó által megadott legnagyobb fordulatszámon kell működtetni. A szippantóberendezést úgy kell működtetni, hogy a belső nyomás egyezzen a légköri nyomással (0 % vákuum). A szívócső áramlási zaja nem befolyásolhatja a mérési eredményeket.
Vizsgálati időtartam
A vizsgálati időtartam legalább 15 másodperc.
53. TORONYDARUK
EN 14439:2006+A2:2009, 6.4.1. pont
54. ÁROKÁSÓK - ISO 6393:2008
55. BETONKEVERŐ JÁRMŰVEK
EN 12609:2021, B. melléklet
56. VÍZSZIVATTYÚK
EN ISO 20361:2019, EN ISO 20361:2019/A11:2020.
Az e szabvány szerinti, az EN ISO 3744:2010 szabványon alapuló mérési módszert kell alkalmazni.
A vizsgálati időtartam legalább 15 másodperc.
57. HEGESZTŐGENERÁTOROK - EN ISO 8528-10:2022
Az e szabvány szerinti, az EN ISO 3744:2010 szabványon alapuló mérési módszert kell alkalmazni.
IV. MELLÉKLET
A CE MEGFELELŐSÉGI JELÖLÉS ÉS A GARANTÁLT ZAJSZINT JELÖLÉSÉNEK MINTÁI
A ce megfelelöségi jelölésnek a "CE" kezdöbetüket kell tartalmaznia a következő formában:

HaaCE-jelölést a berendezés méretére kicsinyítik vagy nagyítják, be kell tartani a fenti rajz arányait. A CE-jelölés egyes részei lényegében ugyanolyan magasak kell, hogy legyenek, amely magasság nem lehet kisebb, mint 5 mm.
A garantált zajszint jelölése a dB-ben megadott, garantált hangteljesítményszint számjegyeiből, az LWA jelből és a következő formájú piktogramból kell, hogy álljon:

Ha a jelölést a berendezés méretére kicsinyítik vagy nagyítják, be kell tartani a fenti rajz arányait. A jelölés függőleges mérete (magassága), ha lehet, ne legyen kisebb, mint 40 mm.
V. MELLÉKLET
A GYÁRTÁS BELSŐ ELLENŐRZÉSE
1. E melléklet leírja azon eljárást, amellyel a gyártó vagy a Közösségben letelepedett meghatalmazott képviselője, akik a 2. pontban meghatározott kötelezettségeket viselik, biztosítják és igazolják, hogy az érintett berendezés megfelel az irányelv követelményeinek. A gyártónak vagy a Közösségben letelepedett meghatalmazott képviselőjének - ahogy azt a 11. cikk megköveteli - rögzítenie kell a CE megfelelőségi jelölést és a garantált zajszint jelzését a berendezés minden darabján, és - ahogy azt a 8. cikk megköveteli - ki kell állítania egy írásos EK megfelelőségi nyilatkozatot.
2. A gyártónak vagy a közösségi illetőségű meghatalmazott képviselőjének el kell készítenie a 3. pontban leírt műszaki dokumentációt és ezt meg kell őrizni az utolsó olyan termék gyártása után 10 évig, amelyet az illetékes nemzeti hatóság rendelkezésére bocsátott ellenőrzés céljára. A gyártó vagy a Közösségben letelepedett meghatalmazott képviselője megbízhat egy másik személyt azzal, hogy őrizze a műszaki dokumentációt. Ebben az esetben e személy nevét és címét meg kell adni az EC megfelelőségi nyilatkozatban.
3. A műszaki dokumentációnak lehetővé kell tennie annak megállapítását, hogy a berendezés megfelel az irányelv követelményeinek. A dokumentáció legalább a következő információkat tartalmazza:
- a gyártó vagy a közösségi illetőségű meghatalmazott képviselője nevét és címét,
- a berendezés leírását,
- márkajelét,
- kereskedelmi nevét,
- típusát, sorozatát és számát,
- a berendezés azonosításához és zajkibocsátásának értékeléséhez szükséges műszaki adatokat, beleértve, ha szükséges, vázlatos rajzokat, és minden olyan leírást, magyarázatot, amelyek ezek megértéséhez szükségesek,
- hivatkozást ezen irányelvre,
- ezen irányelv rendelkezéseivel összhangban végrehajtott zajmérésekre vonatkozó műszaki jegyzőkönyvet,
- az alkalmazott műszaki eszközöket és a termelési változásoknak tulajdonítható bizonytalanságok értékelésének eredményeit, valamint ezek hatását a garantált zajszintre.
4. A gyártónak minden szükséges intézkedést meg kell tennie annak érdekében, hogy a gyártási folyamat biztosítsa a gyártott berendezés további megfelelését a 2. és 3. pontban említett műszaki dokumentációnak és az irányelv követelményeinek.
VI. MELLÉKLET
A GYÁRTÁS BELSŐ ELLENŐRZÉSE A MŰSZAKI DOKUMENTÁLÁS ÉRTÉKELÉSÉVEL ÉS RENDSZERES ELLENŐRZÉSEKKEL
1. E melléklet írja le azt az eljárást, amellyel a gyártó vagy a közösségi illetőségű meghatalmazott képviselője, akiket a 2., 5. és 6. pontban meghatározott kötelezettség terhel, biztosítják és igazolják, hogy az érintett berendezés megfelel az irányelv követelményeinek. A gyártó vagy a közösségi illetőségű meghatalmazott képviselője - ahogy azt a 11. cikk megköveteli - rögzíti a CE megfelelőségi jelölést és a garantált zajszint jelzését a berendezés minden darabján, és - ahogy azt a 8. cikk megköveteli - kiállít egy írásos EK megfelelőségi nyilatkozatot.
2. A gyártónak vagy a közösségi illetőségű meghatalmazott képviselőjének el kell készítenie a 3. pontban leírt műszaki dokumentációt és ezt meg kell őriznie az utolsó olyan termék gyártása után 10 évig, az illetékes nemzeti hatóság általi ellenőrzés céljára. A gyártó vagy a Közösségben letelepedett meghatalmazott képviselője megbízhat egy másik személyt azzal, hogy tartsa meg a műszaki dokumentációt. Ebben az esetben e személy nevét és címét fel kell tüntetni az EK megfelelőségi nyilatkozatban.
3. A műszaki dokumentációnak lehetővé kell tennie annak megállapítását, hogy a berendezés megfelel az irányelv követelményeinek. A dokumentációnak legalább a következő információkat kell tartalmaznia:
- a gyártó vagy a közösségi illetőségű meghatalmazott képviselője nevét és címét,
- a berendezés leírását,
- márkajelét,
- kereskedelmi nevét,
- típusát, sorozatát és számát,
- a berendezés azonosításához és zajkibocsátásának értékeléséhez szükséges műszaki adatokat, beleértve, ha szükséges, vázlatos rajzokat, és minden olyan leírást, magyarázatot, amelyek ezek megértéséhez szükséges,
- hivatkozást erre az irányelvre,
- ezen irányelv rendelkezéseivel összhangban végrehajtott, zajmérésekre vonatkozó műszaki jegyzőkönyvet,
- az alkalmazott műszaki eszközöket és a termelési változásoknak tulajdonítható bizonytalanságok értékelésének eredményeit, valamint ezek hatását a garantált zajszintre.
4. A gyártó megtesz minden szükséges intézkedést annak érdekében, hogy a gyártási folyamat megfeleljen a gyártott berendezés a 2. és 3. pontban említett műszaki dokumentációnak és az irányelv követelményeinek.
5. A kijelölt szervezet által végzett értékelés a forgalmazás megkezdése előtt
A gyártó vagy a közösségi illetőségű meghatalmazott képviselője átad az általa választható ellenőrző szervezetnek egy másolatot műszaki dokumentációjáról, mielőtt az első gépeket vagy berendezéseket forgalomba hozná vagy üzembe helyezné.
Ha kétséges a műszaki dokumentáció elfogadhatósága, akkor a kijelölt szervezet ennek megfelelően tájékoztatja a gyártót vagy a közösségi illetőségű meghatalmazott képviselőjét, és ha szükséges, módosításokat végez vagy végeztet a műszaki dokumentáción, illetve vizsgálatokat hajt végre vagy hajtat végre.
Azt követően, hogy a kijelölt szervezet kiad egy jegyzőkönyvet, amelyben megerősíti, hogy a műszaki dokumentáció megfelel ezen irányelv rendelkezéseinek, a gyártó vagy a közösségi illetőségű meghatalmazott képviselője a 11. és 8. cikkel összhangban rögzítheti a CE-jelölést a berendezésen és kiadhatja az EK megfelelőségi nyilatkozatot, amelyekért teljes felelősséggel tartozik.
6. A kijelölt szervezet által a gyártás alatt végzett értékelés
A gyártó vagy a közösségi illetőségű meghatalmazott képviselője a továbbiakban bevonja a kijelölt szervezetet a termelési folyamatba a következő eljárások egyike szerint, amelyet a gyártó vagy a közösségi illetőségű meghatalmazott képviselője választ ki:
- a kijelölt szervezet időszakonkénti ellenőrzéseket végez annak érdekében, hogy ellenőrizze, hogy a gyártott berendezés folyamatosan megfelel a műszaki dokumentációnak és az irányelv követelményeinek; a kijelölt szervezet különösen az alábbiakra összpontosít:
- a berendezés 11. cikke szerinti helyes és teljes jelölésére,
- a 8. cikk szerinti EK megfelelőségi nyilatkozat kiadására,
- az alkalmazott műszaki eszközökre és a gyártási változásoknak tulajdonítható bizonytalanságok értékelésének eredményére, valamint ezek hatására a garantált hangteljesítményben.
A gyártó vagy a Közösségben letelepedett meghatalmazott képviselője szabad hozzáférést biztosít a kijelölt szervezet számára ahhoz a belső dokumentációhoz, amely alátámasztja ezeket az eljárásokat, valamint a belső auditálás tényleges eredményéhez és a módosításokhoz, amennyiben létezik ilyen.
A kijelölt szervezet csak akkor végez zajvizsgálatot, ha a fenti ellenőrzés nem jár megfelelő eredménnyel. A kijelölt szervezet a zajmérést saját megítélése és tapasztalata alapján leegyszerűsítheti vagy teljesen elvégezheti a III. mellékletben az említett berendezéstípusra meghatározott rendelkezések szerint,
- a kijelölt szervezet a termékellenőrzést véletlenszerű időközönként végzi. A kész berendezés egy, a kijelölt szervezet által kiválasztott megfelelő mintáját kell megvizsgálni a III. mellékletben meghatározott megfelelő zajvizsgálatok vagy egyenértékű vizsgálatok szerint ahhoz, hogy ellenőrizzék a termék megfelelését az irányelv vonatkozó követelményeinek. A termék ellenőrzése a következő szempontok szerint történik:
- a berendezés 11. cikke szerinti helyes és teljes jelölését,
- a 8. cikk szerinti EK megfelelőségi nyilatkozat kiadását.
A kijelölt szervezet az előző értékelés eredményei szerint mindkét eljárásban meghatározza az ellenőrzések gyakoriságát, a javítást célzó módosítások követésének szükségességét és az ellenőrzések gyakoriságára vonatkozó további útmutatást, amelyeket az éves termelés és a gyártó megbízhatósága határozhat meg arra vonatkozóan, hogy fenntartsa a garantált értékeket. Az ellenőrzést háromévenként legalább egyszer el kell végezni.
Ha kétséges a műszaki dokumentáció elfogadhatósága vagy a dokumentumokban megadott előírások termelés során való betarthatósága, akkor a kijelölt szervezet megfelelő módon tájékoztatja a gyártót vagy a közösségi illetőségű meghatalmazott képviselőjét.
Amennyiben az ellenőrzött berendezés nem felel meg az irányelv követelményeinek, a kijelölt szervezet tájékoztatja a bejelentő tagállamot.
VII. MELLÉKLET
EGYEDI VIZSGÁLAT
1. E melléklet ismerteti azon eljárást, amellyel a gyártó vagy a közösségi illetőségű meghatalmazott képviselője biztosítja és igazolja, hogy a berendezés, amelyet a 4. pontban említett igazolással hoztak forgalomba, megfelel az irányelv követelményeinek. A gyártó vagy a közösségi illetőségű meghatalmazott képviselője a 11. cikk követelményei szerint rögzíti az információkkal kiegészített CE megfelelőségi jelölést a berendezésre, és kiállítja a 8. cikkben említett írásos EK megfelelőségi nyilatkozatot.
2. Egyedi vizsgálatra vonatkozó kérelmet a gyártó vagy a közösségi illetőségű meghatalmazott képviselője nyújt be az általa választott kijelölt szervezethez.
A kérelemnek tartalmaznia kell:
- a gyártó nevét és címét, és ha a kérelmet a közösségi illetőségű meghatalmazott képviselő nyújtja be, annak nevét és címét,
- írásbeli nyilatkozatot arról, hogy ugyanazt a kérelmet nem nyújtották be más kijelölt szervezethez,
- a műszaki dokumentációnak az alábbiakat kell tartalmaznia:
- a berendezés leírását,
- kereskedelmi elnevezését,
- típusát, sorozatát és számát,
- a berendezés azonosítására alkalmas műszaki adatokat és zajkibocsátásának értékelését, beleértve, ha szükséges, a vázlatos rajzokat, minden leírást és magyarázatot, amelyek ezek megértéséhez szükségesek,
- ezen irányelvre történő hivatkozást.
3. A kijelölt szervezet:
- megvizsgálja, hogy a berendezést a műszaki dokumentációnak megfelelően gyártották-e,
- megállapodik a kérelmezővel, hol fogják elvégezni az irányelvvel összhangban levő zajvizsgálatot,
- ezen irányelvvel összhangban elvégzi vagy elvégezteti a szükséges zajvizsgálatot.
4. Amennyiben a berendezés megfelel ezen irányelv rendelkezéseinek, akkor a kijelölt szervezet kiad a kérvényező részére egy, a X. mellékletben meghatározott megfelelőségi tanúsítványt.
Ha a kijelölt szervezet elutasítja a megfelelőségi tanúsítvány kiadását, annak tartalmaznia kell az elutasítás részletes indokait.
5. A gyártó vagy a közösségi illetőségű meghatalmazott képviselője a forgalmazott termék gyártása után 10 évig megőrzi a műszaki dokumentációt és a megfelelőségi tanúsítvány másolatát.
VIII. MELLÉKLET
TELJESKÖRŰ MINŐSÉGBIZTOSÍTÁS
1. E melléklet leírja azon eljárást, amely szerint 2. pont követelményeinek megfelelő gyártó biztosítja és igazolja, hogy az érintett berendezés megfelel az irányelv követelményeinek. A gyártó vagy a Közösségben letelepedett meghatalmazott képviselője a 11. cikk követelményei szerint rögzíti az információkkal kiegészített CE megfelelőségi jelet minden egyes berendezésre, és ki kell állítania a 8. cikkben említett írásbeli EK megfelelőségi nyilatkozatot.
2. A gyártó a 3. pontban meghatározottak szerint működtet egy jóváhagyott minőségbiztosítási rendszert a tervezésre, gyártásra, végtermék ellenőrzésre és vizsgálatra vonatkozóan, amelyet a 4. pontban meghatározottak szerinti felügyeletnek vetnek alá.
3. Minőségbiztosítási rendszer
3.1. A gyártó benyújtja kérelmét az általa választott kijelölt szervezethez a minőségbiztosítási rendszerének értékelése céljából.
A kérelemnek a következőket tartalmazza:
- a tervezett termékkategóriára vonatkozó minden lényeges információt, beleértve a már tervezési vagy gyártási fázisban lévő minden berendezésre vonatkozó műszaki dokumentációt, amelynek legalább a következő információt kell tartalmaznia:
- a gyártó és a közösségi illetőségű meghatalmazott képviselője nevét és címét,
- a berendezés leírását,
- márkajelét,
- kereskedelmi elnevezését,
- típusát, sorozatát és számát,
- a berendezés azonosítására alkalmas műszaki adatokat és a zajkibocsátás értékelésének adatait, beleértve, ha szükséges, a vázlatos rajzokat, valamint minden olyan leírást és magyarázatot, amely ezek megértéséhez szükséges,
- ezen irányelvre történő hivatkozást,
- ezen irányelv rendelkezéseivel összhangban elvégzett zajmérések műszaki jegyzőkönyvét,
- az alkalmazott műszaki eszközöket és a gyártási változásoknak tulajdonítható bizonytalanságok értékelésének eredményét és ezek hatását a garantált hangteljesítményszintre,
- az EK megfelelőségi nyilatkozat egy másolatát,
- a minőségbiztosítási rendszerrel kapcsolatos dokumentációt.
3.2. A minőségbiztosítási rendszernek biztosítania kell a termék megfelelését a rá vonatkozó irányelvi követelményeknek.
A gyártó által elfogadott valamennyi elemet, követelményt és rendelkezést szisztematikusan és rendszeresen dokumentálják az írott minőségpolitikai előírások, eljárások és utasítások formájában. A minőségbiztosítási rendszer dokumentációját a minőségpolitikai előírások és eljárások közös értelmezésével kell engedélyezni a minőségbiztosítási programok, tervek, kezelési utasítások és jegyzőkönyvek formájában.
3.3. Ennek különösen megfelelő leírást kell adnia az alábbiakra vonatkozóan:
- a minőségi célkitűzésekre és a szervezeti felépítésre, a tervezéssel és termékminőséggel foglalkozó vezetők felelősségére és jogkörére,
- az egyes termékekre elkészítendő műszaki dokumentációra, amely legalább a 3.1. pontban említett műszaki dokumentációval kapcsolatos információkat tartalmazza,
- a tervezés-ellenőrzési és tervezésvizsgálati módszerekre, folyamatokra és szisztematikus tevékenységekre, amelyeket akkor alkalmaznak, amikor az érintett berendezés-kategóriához tartozó termékeket tervezik,
- a megfelelő gyártási, minőség-ellenőrzési és minőségbiztosítási módszerekre, folyamatokra és az alkalmazandó módszeres tevékenységekre,
- a gyártás előtt, közben és után végzett vizsgálatokra és ellenőrzésekre, valamint ezek végzésének gyakoriságára,
- a minőségi jegyzőkönyvekre, mint például vizsgálati jelentésekre és annak, kalibrációs adatokra, az érintett személyzet minősítésére vonatkozó beszámolókra stb.,
- olyan eszközökre, melyek a megkövetelt tervrajzi és termékminőségi, valamint a minőségbiztosítási rendszer hatékony ellenőrzését biztosítják.
A kijelölt szervezet felméri a minőségbiztosítási rendszert annak meghatározására, hogy az megfelel-e a 3.2. pontban említett követelményeknek. Feltételezi, hogy e követelmények megfelelnek az EN ISO 9001 szabvány végrehajtását biztosító minőségbiztosítási rendszereknek.
Az auditáló csoport legalább egy tagjának tapasztalattal kell rendelkeznie az érintett berendezés gyártástechnológiai értékelésében. Az értékelési eljárásnak magába kell foglalnia egy felmérő látogatást a gyártó létesítményeiben.
A határozatról értesíteni kell a gyártót. A jelentésnek tartalmaznia kell a vizsgálat következtetéseit és a döntés indoklását.
3.4. A gyártónak kötelezettséget kell vállalnia arra, hogy a jóváhagyásnak megfelelően teljesíti a minőségbiztosítási rendszerből származó kötelezettségeket és a teljesítést megfelelő módon és hatékonyan fenntartja.
A gyártó vagy a közösségi illetőségű meghatalmazott képviselője folyamatosan informálja a minőségbiztosítási rendszert elfogadó ellenőrző szervezetet a minőségbiztosítási rendszer minden módosításáról.
A kijelölt szervezet értékeli a javasolt módosításokat és eldönti, hogy a módosított minőségbiztosítási rendszer jobban megfelel-e a 3.2. pontban említett követelményeknek vagy újabb felmérésre van szükség.
Határozatát közli a gyártóval. A jelentésnek tartalmaznia kell a vizsgálat következtetéseit és a döntés indoklását.
4. A kijelölt szervezet felelőssége alatt végzett felügyelet
4.1. A felügyelet célja annak biztosítása, hogy a gyártó pontosan teljesítse a jóváhagyott minőségbiztosítási rendszerből eredő kötelezettségeit.
4.2. A gyártó lehetővé teszi, hogy a kijelölt szervezet ellenőrzés céljából beléphessen a tervezés, a gyártás, az ellenőrzés, a vizsgálat, valamint a tárolás helyszínére, helyiségébe és biztosítja számára a szükséges információkat, különösen:
- a minőségbiztosítási rendszer dokumentációját,
- a tervezés minőségbiztosítási rendszere által előirányzott minőségadatainak (például elemzési eredmények, számítások, vizsgálatok stb.) jegyzékét,
- a gyártás minőségbiztosítási rendszere által előirányzott minőségadatainak (mint például ellenőrzések beszámolói és vizsgálati adatok, kalibrálási adatok, a személyzet minősítésére vonatkozó jelentések stb.) jegyzékét.
4.3. A kijelölt szervezet időszakonként auditálást hajt végre annak biztosítására, hogy a gyártó fenntartsa és alkalmazza a minőségbiztosítási rendszert, és az auditálásról jegyzőkönyvet ad át a gyártónak.
4.4. Ezenkívül a kijelölt szervezet váratlan látogatásokat tesz a gyártónál. Az ilyen látogatások során a kijelölt szervezet ellenőrző vizsgálatokat végez vagy, ha szükséges, végeztet annak igazolására, hogy a minőségbiztosítási rendszer helyesen működik. A kijelölt szervezet erről egy látogatási jelentést ad át a gyártónak, és ha vizsgálatot végeztek, akkor egy vizsgálati jelentést.
5. A gyártó az utolsó berendezés legyártása utáni 10. év végéig legalább megőrzi és a nemzeti hatóságok számára elérhetővé teszi:
- a melléklet 3.1. pontjának második francia bekezdésében említett dokumentációt,
- a 3.4. pont második bekezdésében említett naprakész állapotot,
- a kijelölt szervezet határozatát és jelentését, amelyekre a 3.4. utolsó bekezdésében, valamint a 4.3. és 4.4. pontokban történt hivatkozás.
6. Mindegyik kijelölt szervezet megadja a minőségbiztosítási rendszer jóváhagyásra és visszavonására vonatkozó információkat a többi ellenőrző szervezet számára.
IX. MELLÉKLET
A TAGÁLLAMOK ÁLTAL A SZERVEZETEK KIJELÖLÉSEKOR FIGYELEMBE VEENDŐ MINIMÁLIS KÖVETELMÉNYEK
1. A szervezet, annak eljárásokért felelös vezetöje és személyzete nem lehet sem a berendezés tervezője, építője, szállítója vagy felszerelője, sem pedig ezek meghatalmazott képviselője. Sem közvetlenül, sem meghatalmazott képviselőként nem válhatnak érdekeltté az ilyen berendezés tervezésében, gyártásában, forgalmazásában vagy karbantartásában, és nem képviselhetik az ilyen tevékenységet végző feleket. Ez nem gátolja a műszaki információk cseréjét a gyártó és a szervezet között.
2. A szervezetnek és személyzetének a minősítéseket és az ellenőrzéseket a legnagyobb fokú szakmai tisztességgel és műszaki hozzáértéssel kell végeznie, és mentesnek kell lennie bármiféle kényszerítő hatástól és érdekeltségtől, különösen pénzügyitől, amely befolyásolhatja megítélésüket vagy munkájuk eredményét, különösen olyan személyek vagy csoportok által, akik érdekeltek az ellenőrzés eredményében.
3. A szervezet rendelkezésére kell, hogy álljon a szükséges személyzet és rendelkeznie kell a szükséges létesítményekkel ahhoz, hogy képes legyen megfelelően elvégezni azokat a műszaki és adminisztratív feladatokat, amelyek az ellátandó ellenőrzési és felülvizsgálati feladatokkal kapcsolatosak; hozzá kell férnie a speciális vizsgálatokhoz szükséges berendezésekhez és gépekhez.
4. Az ellenőrzésekért felelős személyzetnek rendelkeznie kell:
- alapos műszaki és szakmai képzettséggel,
- elegendő ismerettel a műszaki dokumentáció felmérésére vonatkozó követelményekről,
- elegendő ismerettel azon vizsgálatok követelményeiről, amelyeket végeznek, és megfelelő tapasztalattal az ilyen vizsgálatok terén,
- azzal a képességgel, hogy tanúsítványt, jegyzőkönyvet és jelentést készítsen, amelyekre a vizsgálatok elvégzésének hitelesítéséhez van szükség.
5. Az ellenőrző személyzet pártatlanságát garantálni kell. Díjazásuk ne függjön az elvégzett vizsgálatok számától vagy az ilyen vizsgálatok eredményeitől.
6. A szervezetnek felelősségbiztosítási szerződést kell kötnie, hacsak ezt a felelősségét a nemzeti jogszabályokkal összhangban az állam át nem vállalja, avagy a tagállam maga közvetlenül nem felelős a vizsgálatokért.
7. A szervezet személyzetének szakmai titoktartást kell vállalnia minden olyan információra vonatkozóan, amelyet az irányelv vagy az arra ható bármely nemzeti jogszabály szerint végzett vizsgálat során szereztek (kivéve az állam tevékenység szerinti illetékességgel bíró hatóságát).
X. MELLÉKLET
EGYEDI VIZSGÁLAT
MINTA A MEGFELELŐSÉGI IGAZOLÁSRA

( 1 ) HL L 207., 1998.7.23., 1. o. A 98/79/EK irányelvvel (HL L 331., 1998.12.7., 1. o.) módosított irányelv.
( 2 ) HL L 123., 2016.5.12., 1. o.
( 3 ) A hasznos teljesítmény a próbapadon a forgattyústengely vagy az azzal egyenértékű alkatrész végén, az Egyesült Nemzetek Szervezete Európai Gazdasági Bizottságának (ENSZ EGB) a mezőgazdasági és erdészeti traktorokba, valamint nem közúti mozgó gépekbe szánt belső égésű motoroknak a hasznos teljesítmény, hasznos nyomaték és fajlagos tüzelőanyag-fogyasztás mérése tekintetében történő jóváhagyására vonatkozó egységes rendelkezésekről szóló 120. számú előírása 2. átdolgozott változatában (HL L 166., 2015.6.30., 170. o.) meghatározott, a belső égésű motorok teljesítményének mérésére szolgáló módszerrel mért, "kW"-ban megadott motorteljesítményt jelenti.
( 4 ) A motor alapjáraton vagy a legkisebb motorfordulatszámon (teljesen kiengedett fojtószeleppel) vagy az alapvető funkciók ellátásához, ideértve a gép vagy bármely szerszámának mozgatásához szükséges hidraulikus nyomás biztosítását is, szükséges legkisebb fordulatszámon üzemeltethető az adott berendezéskategória szerint.
Lábjegyzetek:
[1] A dokumentum eredetije megtekinthető CELEX: 32000L0014 - https://eur-lex.europa.eu/legal-content/HU/ALL/?uri=CELEX:32000L0014&locale=hu Utolsó elérhető, magyar nyelvű konszolidált változat CELEX: 02000L0014-20250522 - https://eur-lex.europa.eu/legal-content/HU/ALL/?uri=CELEX:02000L0014-20250522&locale=hu